TOP
|
特許
|
意匠
|
商標
特許ウォッチ
Twitter
他の特許を見る
10個以上の画像は省略されています。
公開番号
2025072203
公報種別
公開特許公報(A)
公開日
2025-05-09
出願番号
2023182801
出願日
2023-10-24
発明の名称
ガラス製造装置
出願人
東洋ガラス株式会社
代理人
弁理士法人大島特許事務所
主分類
C03B
5/24 20060101AFI20250430BHJP(ガラス;鉱物またはスラグウール)
要約
【課題】電解装置を有するガラス製造装置において、ガラス溶解炉の安定操業を可能にすると共に、エネルギー効率を向上させる。
【解決手段】
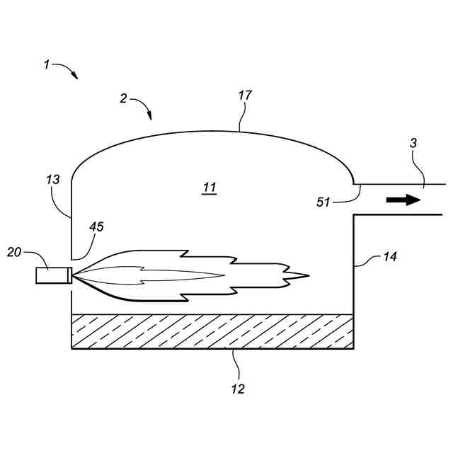
ガラス製造装置1は、ガラス溶解炉2と、ガラス溶解炉に設けられたバーナー20と、ガラス溶解炉において発生した排気と水との熱交換を行い、水蒸気を生成するボイラ5と、水蒸気の電気分解によって水素と酸素とを生成し、水素をバーナーに供給する電解装置4と、代替燃料をバーナーに供給する代替燃料源32と、バーナーへの水素及び代替燃料の供給量を調節する流量制御弁28、33と、流量制御弁及び電解装置を制御する制御装置81とを有する。制御装置は、電力抑制指令に応じて、電解装置の使用電力量を低下させると共に、バーナーに供給される水素の流量を低下させ、かつバーナーに供給される代替燃料の流量を増加させるべく流量制御弁を制御する。
【選択図】図1
特許請求の範囲
【請求項1】
ガラス製造装置であって、
ガラス原料を溶解させ、溶融ガラスを生成するガラス溶解炉と、
前記ガラス溶解炉に設けられたバーナーと、
前記ガラス溶解炉において発生した排気と水との熱交換を行い、水蒸気を生成するボイラと、
前記水蒸気の電気分解によって水素と酸素とを生成し、前記水素を前記バーナーに供給する電解装置と、
代替燃料を前記バーナーに供給する代替燃料源と、
前記バーナーへの前記水素及び前記代替燃料の供給量を調節する流量制御弁と、
前記流量制御弁及び前記電解装置を制御する制御装置とを有し、
前記制御装置は、電力抑制指令に応じて、前記電解装置の使用電力量を低下させると共に、前記バーナーに供給される前記水素の流量を低下させ、かつ前記バーナーに供給される前記代替燃料の流量を増加させるべく前記流量制御弁を制御するガラス製造装置。
続きを表示(約 1,300 文字)
【請求項2】
前記制御装置は、前記電力抑制指令に基づいて前記電解装置の前記使用電力量の低減量を決定し、前記使用電力量の低減量に基づいて前記バーナーに供給する前記水素の低減量を決定し、前記水素の低減量に対応する熱量と等しい前記代替燃料の増加量を決定し、前記水素の低減量と前記代替燃料の増加量とに基づいて前記流量制御弁を制御する請求項1に記載のガラス製造装置。
【請求項3】
酸素を貯留する酸素供給源を有し、
前記バーナーは、前記電解装置と、前記酸素供給源とから酸素流量制御弁を介して酸素が供給され、
前記制御装置は、前記電力抑制指令に応じて、前記電解装置の前記使用電力量を低下させると共に、前記バーナーに供給される前記水素の流量を低下させ、かつ前記バーナーに供給される前記代替燃料の流量を増加させ、前記バーナーに供給される前記水素及び前記代替燃料の理論空燃比に対応した酸素を前記バーナーに供給するべく前記酸素流量制御弁を制御する請求項1に記載のガラス製造装置。
【請求項4】
前記バーナーは、気体の前記水素と気体の前記代替燃料とを混合して噴射する請求項1に記載のガラス製造装置。
【請求項5】
前記バーナーは、前記水素が供給される第1バーナーと、前記代替燃料が供給される第2バーナーを対として含む複数のバーナー対を有する請求項1に記載のガラス製造装置。
【請求項6】
平面視において、前記バーナー対を構成する前記第1バーナーと前記第2バーナーとは、ガラスを挟んで互いに対向するように配置されている請求項5に記載のガラス製造装置。
【請求項7】
前記ガラス溶解炉は、互いに対向すると共に、水平方向における第1方向に延びた第1側壁及び第2側壁を有し、
前記バーナー対を構成する前記第1バーナー及び前記第2バーナーの一方が前記第1側壁に設けられ、前記第1バーナー及び前記第2バーナーの他方が前記第2側壁に設けられている請求項6に記載のガラス製造装置。
【請求項8】
前記第1側壁及び前記第2側壁のそれぞれにおいて、複数の前記第1バーナーと複数の前記第2バーナーとが前記第1方向において交互に配置されている請求項7に記載のガラス製造装置。
【請求項9】
前記ガラス溶解炉には、前記第1バーナー及び前記第2バーナーが配置される複数のバーナー孔が形成され、
複数の前記第1バーナー及び複数の前記第2バーナーは、複数の支持装置によって支持され、
複数の前記支持装置のそれぞれは、支持する前記第1バーナー又は前記第2バーナーが対応する前記バーナー孔内に位置する使用位置と、支持する前記第1バーナー又は前記第2バーナーが対応する前記バーナー孔外に位置する退避位置との間で、前記第1バーナー又は前記第2バーナーを移動させる請求項5~8のいずれか1つの項に記載のガラス製造装置。
【請求項10】
複数の前記バーナー孔のそれぞれに、開閉可能にリッドが設けられている請求項9に記載のガラス製造装置。
(【請求項11】以降は省略されています)
発明の詳細な説明
【技術分野】
【0001】
本発明は、ガラス製造装置に関する。
続きを表示(約 1,800 文字)
【背景技術】
【0002】
特許文献1は、ガラス溶解炉と電解装置とを有するガラス製造装置を開示している。ガラス溶解炉で発生した排気は、ボイラに供給され、蒸気を加熱する。加熱された蒸気は、電解装置のカソード及びアノードに供給される。電解装置では、蒸気の電解が行われ、水素ガスと酸素ガスが生成される。生成された水素ガス及び酸素ガスは、燃料として、ガラス溶解炉に供給され、使用されることによって、ガラスの製造に起因する二酸化炭素を低減することができる。
【先行技術文献】
【特許文献】
【0003】
国際公開WO2021/008729A1
【発明の概要】
【発明が解決しようとする課題】
【0004】
近年、電力需要量に対して電力供給量が逼迫するような状況が発生している。このような状況下では、多くの電力を使用する電解装置の稼働を控える必要があるため、ガラス溶解炉の安定した操業が困難になるという問題がある。また、太陽光や風力等の自然エネルギーを利用した発電は、天候などの環境変化により発電量が減少する場合があり、不足した発電量を化石燃料等で補う必要がある。将来的に自然エネルギー由来電力の使用比率が高い社会となる場合には、火力発電設備だけでは電力供給バランスを調整できず、より頻繁に電力需要の抑制を要請されることが考えられる。溶融ガラスの品質を一定以上にするためには安定した熱源が必要であり、外部要因によって電解装置から供給される燃料ガス及び酸素の供給量が増減することは、最終的なガラス製品の品質悪化につながる。
【0005】
本発明は、以上の背景に鑑み、電解装置を有するガラス製造装置において、ガラス溶解炉の安定操業を可能にすると共に、電力抑制の要請に機動的に対応することを課題とする。
【課題を解決するための手段】
【0006】
上記課題を解決するために、本発明のある態様は、ガラス製造装置(1)であって、ガラス原料を溶解させ、溶融ガラスを生成するガラス溶解炉(2)と、前記ガラス溶解炉に設けられたバーナー(20)と、前記ガラス溶解炉において発生した排気と水との熱交換を行い、水蒸気を生成するボイラ(5)と、前記水蒸気の電気分解によって水素と酸素とを生成し、前記水素を前記バーナーに供給する電解装置(4)と、代替燃料を前記バーナーに供給する代替燃料源(32)と、前記バーナーへの前記水素及び前記代替燃料の供給量を調節する流量制御弁(28、33)と、前記流量制御弁及び前記電解装置を制御する制御装置(81)とを有し、前記制御装置は、電力抑制指令に応じて、前記電解装置の使用電力量を低下させると共に、前記バーナーに供給される前記水素の流量を低下させ、かつ前記バーナーに供給される前記代替燃料の流量を増加させるべく前記流量制御弁を制御する。
【0007】
この態様によれば、ガラス溶解炉は水素及び代替燃料を燃料として使用することができ、水素と代替燃料との使用比率を変更することができる。そのため、電力供給の低下といった電解装置の使用に適さない状況下では、代替燃料の使用比率を上げることによって電解装置の使用電力量を低減させることができる。これにより、電解装置を有するガラス製造装置において、ガラス溶解炉の安定操業を可能にすると共に、電力抑制の要請に機動的に対応することが可能になる。また、水素流量の低減に応じて代替燃料流量を増加させるため、ガラス溶解炉の温度を維持することができる。
【0008】
上記の態様において、前記制御装置は、前記電力抑制指令に基づいて前記電解装置の前記使用電力量の低減量を決定し、前記使用電力量の低減量に基づいて前記バーナーに供給する前記水素の低減量を決定し、前記水素の低減量に対応する熱量と等しい前記代替燃料の増加量を決定し、前記水素の低減量と前記代替燃料の増加量とに基づいて前記流量制御弁を制御してもよい。
【0009】
この態様によれば、ガラス溶解炉の急激な温度低下を回避することができる。
【0010】
上記の態様において、前記バーナーは、気体の前記水素と気体の前記代替燃料とを混合して噴射してもよい。
(【0011】以降は省略されています)
この特許をJ-PlatPat(特許庁公式サイト)で参照する
関連特許
日本電気硝子株式会社
ガラス材
5か月前
個人
ガラス製品の製造方法
3か月前
株式会社フジクラ
シール装置
4か月前
日本電気硝子株式会社
ガラスの製造方法
3か月前
日本電気硝子株式会社
ガラス繊維用組成物
4か月前
日本電気硝子株式会社
ガラス繊維用組成物
3か月前
日本板硝子株式会社
自動車用窓ガラス
5か月前
株式会社オハラ
光学ガラス
4か月前
AGC株式会社
ガラス板の製造方法
5か月前
信越化学工業株式会社
ガラス母材の延伸方法
2か月前
日本電気硝子株式会社
ガラスの製造方法
1か月前
日本電気硝子株式会社
フィーダー
4か月前
AGC株式会社
感光性ガラス
24日前
AGC株式会社
車両用窓ガラスとその製造方法
3日前
AGC株式会社
複層ガラス、高地対応複層ガラス
17日前
AGC株式会社
ガラスペースト
4か月前
信越化学工業株式会社
光ファイバ母材の製造方法
2か月前
日本電気硝子株式会社
ガラス製造装置
3日前
日本板硝子株式会社
ビル用複層ガラス
1か月前
AGC株式会社
合わせガラス
1か月前
白金科技股分有限公司
微小球およびその調製方法
2か月前
AGC株式会社
複層ガラス、及び複層ガラスの製造方法
5か月前
AGC株式会社
複層ガラス、及び複層ガラスの製造方法
5か月前
株式会社オハラ
光学ガラスおよび光学素子
4か月前
日本板硝子株式会社
車両用合わせガラス体
3か月前
信越化学工業株式会社
石英ガラス棒およびその製造方法
9日前
日本電気硝子株式会社
ガラス板の製造方法
16日前
AGC株式会社
洗浄部材の位置決め方法
4か月前
AGC株式会社
成形装置、及び成形方法
2か月前
信越化学工業株式会社
光ファイバ用多孔質母材の搬送装置
4か月前
東洋ガラス株式会社
ガラス製造装置
4か月前
日本板硝子株式会社
車両用調光合わせガラス
2か月前
日本電気硝子株式会社
ガラス物品の製造方法
1か月前
日本電気硝子株式会社
ガラス物品の製造方法
5か月前
AGC株式会社
ガラス及びその製造方法
3か月前
日本電気硝子株式会社
ガラス粉末、封着材料及び封着材料ペースト
5か月前
続きを見る
他の特許を見る