TOP
|
特許
|
意匠
|
商標
特許ウォッチ
Twitter
他の特許を見る
10個以上の画像は省略されています。
公開番号
2025067537
公報種別
公開特許公報(A)
公開日
2025-04-24
出願番号
2023177597
出願日
2023-10-13
発明の名称
複層ガラス、及び複層ガラスの製造方法
出願人
AGC株式会社
代理人
個人
主分類
C03C
27/06 20060101AFI20250417BHJP(ガラス;鉱物またはスラグウール)
要約
【課題】複層ガラスの内部から外部に配線を取り出す際に、複層ガラスの封止性が損なわれることを抑制可能な複層ガラスを提供すること。
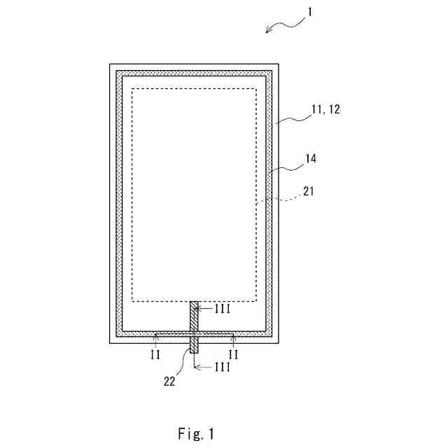
【解決手段】本発明の一態様にかかる複層ガラス1は、第1ガラス板11と、第2ガラス板12と、平面視において第1及び第2ガラス板11、12の周縁部に設けられるとともに、第1及び第2ガラス板11、12の間に配置され、第1及び第2ガラス板11、12の間に中空層19を形成する一次シーリング材13、14と、第1ガラス板11に設けられた太陽光発電セル21と、太陽光発電セル21と接続され、中空層19から一次シーリング材13、14を介して外部に伸びる配線22と、を備える。一次シーリング材13、14は熱可塑性樹脂で構成されており、配線22は、配線22の周囲が一次シーリング材13、14で取り囲まれるように一次シーリング材13、14を貫通している。
【選択図】図3
特許請求の範囲
【請求項1】
第1ガラス板と、
前記第1ガラス板と中空層を介して配置された第2ガラス板と、
平面視において前記第1及び第2ガラス板の周縁部に設けられるとともに、前記第1及び第2ガラス板の間に配置され、前記第1及び第2ガラス板の間に前記中空層を形成する一次シーリング材と、
前記第1ガラス板に設けられた太陽光発電セルと、
前記太陽光発電セルと接続され、前記中空層から前記一次シーリング材を介して外部に伸びる配線と、を備え、
前記一次シーリング材は熱可塑性樹脂で構成されており、
前記配線は、前記配線の周囲が前記一次シーリング材で取り囲まれるように前記一次シーリング材を貫通している、
複層ガラス。
続きを表示(約 1,400 文字)
【請求項2】
前記第1ガラス板と前記一次シーリング材との間および前記第2ガラス板と前記一次シーリング材との間のそれぞれに接着部材が設けられている、請求項1に記載の複層ガラス。
【請求項3】
前記第1及び第2ガラス板の間の前記一次シーリング材の外周部に二次シーリング材が更に設けられている、請求項1または2に記載の複層ガラス。
【請求項4】
前記第1ガラス板側に配置された一次シーリング材と前記第2ガラス板側に配置された一次シーリング材との間に配置されたスペーサを更に備え、
前記スペーサは金属材料又は樹脂材料で構成されており、
前記配線は、前記第1ガラス板側に配置された一次シーリング材を貫通している、
請求項1または2に記載の複層ガラス。
【請求項5】
断面視において前記スペーサは、前記中空層と通気口を介して空間的に繋がっている空洞を有し、
前記空洞に乾燥剤が充填されている、
請求項4に記載の複層ガラス。
【請求項6】
前記一次シーリング材は、25℃におけるJIS A硬度が10~90の熱可塑性樹脂からなり、前記熱可塑性樹脂が、ブチル系ゴムと結晶性ポリオレフィンと乾燥剤と無機フィラーとを含み、ブチル系ゴムと結晶性ポリオレフィンとの合計量に対するブチル系ゴムの割合が50~98質量%、結晶性ポリオレフィンの割合が2~50質量%であり、ブチル系ゴムと結晶性ポリオレフィンとの合計100重量部に対する無機フィラーの割合が200重量部以下であるとともに、120℃における溶融粘度が0.6kPa・s以上7.0kPa・s以下であり、かつ25℃における貯蔵弾性率が15MPa以上60MPa以下である、請求項1または2に記載の複層ガラス。
【請求項7】
前記ブチル系ゴムは、高分子量ブチル系ゴムと低分子量ブチル系ゴムとを含み、前記高分子量ブチル系ゴムの数平均分子量は55000以上150000以下であり、前記低分子量ブチル系ゴムの数平均分子量は15000以上50000以下である、請求項6に記載の複層ガラス。
【請求項8】
配線が接続された太陽光発電セルを備える第1ガラス板の主面の周縁部の前記配線が配置される部分に熱可塑性樹脂を塗布して第1熱可塑性樹脂層を形成する工程と、
前記第1熱可塑性樹脂層を形成した後、当該第1熱可塑性樹脂層の上に前記配線を配置する工程と、
前記第1ガラス板の主面の周縁部に熱可塑性樹脂を塗布して第2熱可塑性樹脂層を形成する工程と、
前記第2熱可塑性樹脂層を形成した後、前記第1ガラス板と第2ガラス板とが中空層を介して配置されるように、前記第2ガラス板を前記第2熱可塑性樹脂層の上に配置する工程と、を備え、
前記配線は前記第1及び第2ガラス板の厚さ方向において前記第1熱可塑性樹脂層と前記第2熱可塑性樹脂層とで挟まれている、
複層ガラスの製造方法。
【請求項9】
前記第1ガラス板と前記第1及び第2熱可塑性樹脂層との間および前記第2ガラス板と前記第2熱可塑性樹脂層との間のそれぞれに接着部材を塗布する工程を更に備える、請求項8に記載の複層ガラスの製造方法。
【請求項10】
前記第1及び第2ガラス板の間の前記第1及び第2熱可塑性樹脂層の外周部に二次シーリング材を形成する工程を更に備える、請求項8または9に記載の複層ガラスの製造方法。
発明の詳細な説明
【技術分野】
【0001】
本発明は、複層ガラス、及び複層ガラスの製造方法に関する。
続きを表示(約 1,500 文字)
【背景技術】
【0002】
従来から、断熱性の向上などを目的として、複層ガラスが建築物等に広く利用されている。また、近年、自然エネルギーを利用するために、太陽光発電セルが設けられた複層ガラスの利用も進められている。太陽光発電セルが設けられた複層ガラスでは、太陽光発電セルで発電された電力を外部に取り出すために、太陽光発電セルと接続された配線を複層ガラスの内部から外部に取り出す必要がある。
【0003】
特許文献1には、太陽光発電セルが設けられた複層ガラスに関する技術が開示されている。特許文献1に開示されている技術では、太陽光発電セルと接続された配線がガラス板とスペーサとの間から複層ガラスの外部に取り出されている。
【先行技術文献】
【特許文献】
【0004】
特開平11-54781号公報
【発明の概要】
【発明が解決しようとする課題】
【0005】
上述したように、特許文献1に開示されている技術では、太陽光発電セルと接続された配線がガラス板とスペーサとの間から複層ガラスの外部に取り出されている。つまり、特許文献1に開示されている技術では、ガラス板と配線とが接した状態で、配線が複層ガラスの外部に取り出されている。しかしながら、このようにガラス板と配線とが接した状態で、複層ガラスの内部から外部に配線を取り出した場合は、複層ガラスの封止性が損なわれるおそれがある。
【0006】
上記課題に鑑み本発明の目的は、複層ガラスの内部から外部に配線を取り出す際に、複層ガラスの封止性が損なわれることを抑制可能な複層ガラス、及び複層ガラスの製造方法を提供することである。
【課題を解決するための手段】
【0007】
[1]
第1ガラス板と、
前記第1ガラス板と中空層を介して配置された第2ガラス板と、
平面視において前記第1及び第2ガラス板の周縁部に設けられるとともに、前記第1及び第2ガラス板の間に配置され、前記第1及び第2ガラス板の間に前記中空層を形成する一次シーリング材と、
前記第1ガラス板に設けられた太陽光発電セルと、
前記太陽光発電セルと接続され、前記中空層から前記一次シーリング材を介して外部に伸びる配線と、を備え、
前記一次シーリング材は熱可塑性樹脂で構成されており、
前記配線は、前記配線の周囲が前記一次シーリング材で取り囲まれるように前記一次シーリング材を貫通している、
複層ガラス。
【0008】
[2]
前記第1ガラス板と前記一次シーリング材との間および前記第2ガラス板と前記一次シーリング材との間のそれぞれに接着部材が設けられている、[1]に記載の複層ガラス。
【0009】
[3]
前記第1及び第2ガラス板の間の前記一次シーリング材の外周部に二次シーリング材が更に設けられている、[1]または[2]に記載の複層ガラス。
【0010】
[4]
前記第1ガラス板側に配置された一次シーリング材と前記第2ガラス板側に配置された一次シーリング材との間に配置されたスペーサを更に備え、
前記スペーサは金属材料又は樹脂材料で構成されており、
前記配線は、前記第1ガラス板側に配置された一次シーリング材を貫通している、
[1]~[3]のいずれか一項に記載の複層ガラス。
(【0011】以降は省略されています)
この特許をJ-PlatPat(特許庁公式サイト)で参照する
関連特許
AGC株式会社
真空断熱材
2か月前
AGC株式会社
顔面用貼付材
1か月前
AGC株式会社
合紙積層装置
1か月前
AGC株式会社
車両用窓ガラス
1か月前
AGC株式会社
フッ素樹脂組成物
23日前
AGC株式会社
積層体及び移動体
1か月前
AGC株式会社
インフィニティミラー
1か月前
AGC株式会社
ガラス材料、結晶化ガラス
1か月前
AGC株式会社
調光デバイスおよび調光方法
1か月前
AGC株式会社
車両用窓ガラスとその製造方法
1か月前
AGC株式会社
反射型マスクブランクの製造方法
1か月前
AGC株式会社
光学素子の製造方法、及び光学素子
2か月前
AGC株式会社
搬送治具、搬送システム及び搬送方法
10日前
AGC株式会社
車両用窓ガラス及びサッシュレスドア
1か月前
AGC株式会社
位相差素子、円偏光板、及び光学部品
1か月前
AGC株式会社
フラットハーネス付き車両用窓ガラス
1か月前
AGC株式会社
フラットハーネス付き車両用窓ガラスシステム
1か月前
AGC株式会社
車両用ガラス板、及び車両用ガラス板の製造方法
1か月前
AGC株式会社
ホルダー付き車両用窓ガラス及びサッシュレスドア
11日前
AGC株式会社
文書分析方法、文書分析プログラム、及び文書分析装置
1か月前
AGC株式会社
水性分散液
23日前
AGC株式会社
光学フィルタ
2日前
AGC株式会社
合わせガラス
1か月前
AGC株式会社
含フッ素化合物
12日前
AGC株式会社
無アルカリガラス
2か月前
AGC株式会社
ガラス、ガラス粉末、混合粉、ガラスペースト、及びグリーンシート
1か月前
AGC株式会社
反射型マスクブランク、反射型マスクおよび反射型マスクの製造方法
1か月前
AGC株式会社
反射型マスクブランク、反射型マスクおよび反射型マスクの製造方法
1か月前
AGC株式会社
テキスト生成方法、テキスト生成プログラム、及びテキスト生成装置
1か月前
AGC株式会社
化学強化ガラス、画像表示装置用カバーガラス、防汚層付きガラス材
1か月前
AGC株式会社
組成物、洗浄方法、塗膜形成用組成物、エアゾール組成物、熱移動媒体
1か月前
AGC株式会社
組成物、洗浄方法、塗膜形成用組成物、エアゾール組成物、熱移動媒体
1か月前
AGC株式会社
ガラス基板の製造方法
16日前
AGC株式会社
プリフォームの製造方法、光学素子の製造方法、及び光学素子用プリフォーム
26日前
AGC株式会社
ガラスおよび化学強化ガラス
1か月前
林テレンプ株式会社
コリメート用プリズムおよび車両の窓ガラス用照明構造
1か月前
続きを見る
他の特許を見る