TOP
|
特許
|
意匠
|
商標
特許ウォッチ
Twitter
他の特許を見る
10個以上の画像は省略されています。
公開番号
2025049842
公報種別
公開特許公報(A)
公開日
2025-04-04
出願番号
2023158298
出願日
2023-09-22
発明の名称
ロック装置
出願人
株式会社シブタニ
代理人
個人
,
個人
,
個人
,
個人
主分類
E05B
9/08 20060101AFI20250327BHJP(錠;鍵;窓または戸の付属品;金庫)
要約
【課題】ロック装置のハンドル台座を枠の正面板に重ねてねじ止めする際の見栄えの悪化を防止する。
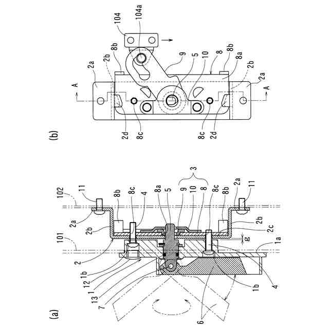
【解決手段】正背方向に延びるハンドル軸5を支持するハンドル台座1と、ハンドル台座1の背方に配置される裏板2と、ベースプレート8とベースプレート8に対してハンドル軸5周りに揺動するアーム9とを有するロック本体3と、を備える。ベースプレート8が裏板2の背面に重ねられる。ハンドル台座1の正面から裏板2を貫いてベースプレート8に達する雄ねじ部材4によってハンドル台座1とベースプレート8と裏板2とが締結される。
【選択図】図1
特許請求の範囲
【請求項1】
正背方向に延びるハンドル軸を支持するハンドル台座と、
前記ハンドル台座の背方に配置される裏板と、
ベースプレートと前記ベースプレートに対して前記ハンドル軸周りに揺動するアームとを有するロック本体と、を備えるロック装置において、
前記ベースプレートが前記裏板の背面に重ねられるようになっており、
前記ハンドル台座の正面から前記裏板を貫いて前記ベースプレートに達する雄ねじ部材によって前記ハンドル台座と前記ベースプレートと前記裏板とが締結されるロック装置。
続きを表示(約 720 文字)
【請求項2】
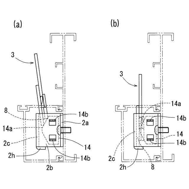
前記正背方向に直交する一直線に沿った方向を第一方向とし、前記正背方向及び前記第一方向に直交する方向を第二方向としたとき、前記裏板に対して前記ベースプレートを前記第一方向に移動させる差し込み操作によって前記ベースプレートが前記裏板の背面に重ねられるようになっており、前記ベースプレートの前記第二方向への移動を所定範囲に規制する第一位置規制部が前記裏板の背面側に設けられており、前記差し込み操作による前記ベースプレートの前記第一方向への移動を所定位置で規制する第二位置規制部が前記裏板の背面側又は前記ベースプレートに設けられており、
前記ベースプレートが前記所定範囲かつ前記所定位置に規制されたとき、前記裏板に形成された前記雄ねじ部材用のねじ挿通孔部と、前記ベースプレートに形成された前記雄ねじ部材用の雌ねじ部とが前記正背方向に連通する状態にある請求項1に記載のロック装置。
【請求項3】
前記差し込み操作時に前記第一方向に対して傾斜した方向に差し込まれる前記ベースプレートを前記裏板の背面に沿った状態で前記第一方向に進むように案内するガイド部が前記裏板の背面側に設けられている請求項2に記載のロック装置。
【請求項4】
枠の正面板と背面板との間に前記裏板及び前記ロック本体が配置され、かつ前記裏板が前記背面板に固定され、かつ前記ハンドル台座の背面が前記正面板の正面に重ねられている状態で前記雄ねじ部材が前記ハンドル台座の正面から差し込まれていないとき、前記ハンドル台座と前記裏板とが正背方向に隙間をおいて非接触に対向するように設けられている請求項1から3のいずれか1項に記載のロック装置。
発明の詳細な説明
【技術分野】
【0001】
この発明は、建具の障子を施錠するロック装置に関する。
続きを表示(約 2,700 文字)
【背景技術】
【0002】
従来、辷り出し窓等の建具においては、建具の枠内に対して軸周りに開閉可能に収められる障子と、障子の枠を建具の枠に対して係止するロック装置とを備えるものがある。
【0003】
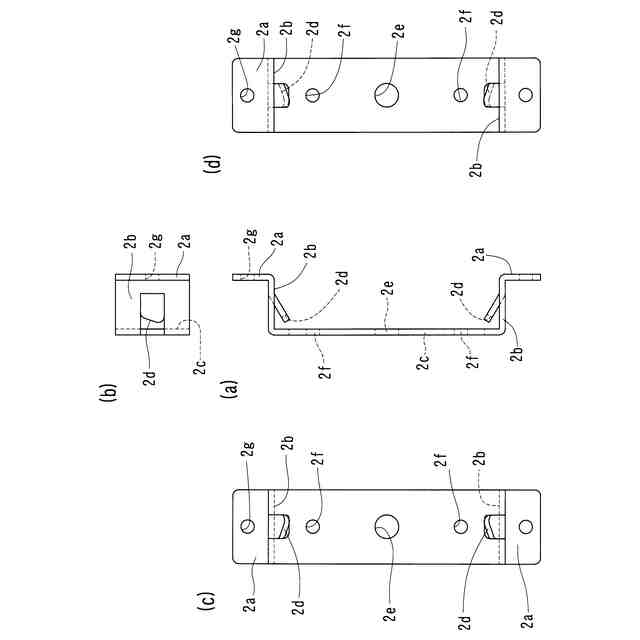
ロック装置として、正背方向に延びるハンドル軸を支持するハンドル台座と、建具枠の内部に配置される裏板と、裏板とハンドル台座との間に配置されるロック本体等とを有するものがある(特許文献1)。
【0004】
特許文献1に開示されたロック装置は、ハンドル軸周りに回動操作されるハンドルがハンドル台座の正面上に配置されている。裏板は、建具枠の背面板に固定され、建具枠の正面板から離れた位置に配置される。ロック本体は、ハンドル軸と一体に回動可能な状態にハンドル軸に接続されるアームと、アームを挟持する第一プレート部材及び第二プレート部材とで構成される。第一プレート部材及び第二プレート部材は、取付部材と蓋部材との間に収容される。ロック本体の第一プレート部材及び第二プレート部材を取付部材と蓋部材との間に収容したユニットが、建具枠の側面開口部から、裏板の正面と建具枠の正面板との間に差し込まれる。アームは、建具枠の側面開口部から外部に延びる突出端部を有し、この突出端部において障子枠に対する解錠動作を行うようになっている。建具枠の内部においては、背面板に固定された裏板に対して正面側から裏板の雌ねじ孔部にねじ込まれる一本の短い雄ねじ部材により、第一プレート部材、第二プレート部材、取付部材及び裏板が正背方向に締結される。この締結後、ハンドル台座が、建具枠の正面板の正面開口部に嵌合され、建具枠の内部に位置する背面部分において第一プレート部材の正面に正背方向に突き当てられる。これにより、建具枠の内部においては、正面側から順にハンドル台座、蓋部材、第一プレート部材、第二プレート部材、取付部材、裏板が正背方向に積層される。このとき、ハンドル台座は、全周に形成されたフランジ部の背面において建具枠の正面板に正背方向に重ねられる。その積層状態において、一本の長い雄ねじ部材がハンドル台座の正面から正背方向に第一プレート部材、第二プレート部材、取付部材のねじ貫通孔に通されて裏板の雌ねじ部にねじ込まれることにより、ハンドル台座と裏板間で締結される。これにより、ハンドル台座とロック本体とが正背方向に締結されて固定され、このとき、ハンドル台座の周縁部の背面が建具枠の正面板に締め付けられる。
【先行技術文献】
【特許文献】
【0005】
特開2023-5494号公報
【発明の概要】
【発明が解決しようとする課題】
【0006】
特許文献1のロック装置は、枠の背面板とハンドル台座との間に裏板、取付部材、第二プレート部材及び第一プレート部材の四部材を挟んだ箇所でハンドル台座から裏板までねじ止めされるので、これら各部材の正背方向の寸法誤差や組み立て誤差が重なり、裏板が固定される枠の背面板の正面と、枠の正面板の正面に締め付けられるハンドル台座の周縁部の背面との間の積層寸法を精度よく得ることが難しい。特に、ハンドル台座は、その形状が複雑であり、正背方向に二か所の締結面(第一プレート部材との締結面、建具枠の正面板との締結面)を有するため、ハンドル台座の製造誤差が積層寸法の精度を狂わせ易い。積層寸法が正規よりも小さくなると、ハンドル台座をねじ止めするときに建具枠の正面板が大きく撓んでしまい、見栄えが悪くなる。積層寸法が正規よりも大きくなると、建具枠の正面板の正面とハンドル台座のフランジ部の背面との間に隙間が生じてしまい、見栄えが悪くなると共に、その隙間を通じて建具枠の内部と室内との間で空気の流通が起こる可能性が高くなる。
【0007】
上述の背景に鑑み、この発明が解決しようとする課題は、ロック装置のハンドル台座を枠の正面板に重ねてねじ止めする際の見栄えの悪化を防止することにある。
【課題を解決するための手段】
【0008】
上記の課題を達成するため、この発明は、正背方向に延びるハンドル軸を支持するハンドル台座と、前記ハンドル台座の背方に配置される裏板と、ベースプレートと前記ベースプレートに対して前記ハンドル軸周りに揺動するアームとを有するロック本体と、を備えるロック装置において、前記ベースプレートが前記裏板の背面に重ねられるようになっており、前記ハンドル台座の正面から前記裏板を貫いて前記ベースプレートに達する雄ねじ部材によって前記ハンドル台座と前記ベースプレートと前記裏板とが締結される、という構成1を採用したものである。
【0009】
上記構成1のように、ロック本体のベースプレートを裏板の背面に重ね、ハンドル台座と裏板とベースプレートに雄ねじ部材の締結力を作用させてハンドル台座と裏板とロック本体とを共締めする構造を採用すると、枠の背面板とハンドル台座との間に裏板及びベースプレートの二部材だけを配置した箇所でハンドル台座からベースプレートまでねじ止めされるので、裏板が固定される枠の背面板の正面と、枠の正面板の正面に締め付けられるハンドル台座の周縁部の背面との間の積層寸法を精度よく得ることが可能になる。このため、上記構成1によると、ハンドル台座をねじ止めする際、建具枠の正面板が大きく撓むことが防止されると共に、正面板の正面とハンドル台座の背面間に目立つ隙間が生じることも防止されるので、見栄えの悪化を防止することが可能になる。
【0010】
上記構成1において、前記正背方向に直交する一直線に沿った方向を第一方向とし、前記正背方向及び前記第一方向に直交する方向を第二方向としたとき、前記裏板に対して前記ベースプレートを前記第一方向に移動させる差し込み操作によって前記ベースプレートが前記裏板の背面に重ねられるようになっており、前記ベースプレートの前記第二方向への移動を所定範囲に規制する第一位置規制部が前記裏板の背面側に設けられており、前記差し込み操作による前記ベースプレートの前記第一方向への移動を所定位置で規制する第二位置規制部が前記裏板の背面側又は前記ベースプレートに設けられており、前記ベースプレートが前記所定範囲かつ前記所定位置に規制されたとき、前記裏板に形成された前記雄ねじ部材用のねじ挿通孔部と、前記ベースプレートに形成された前記雄ねじ部材用の雌ねじ部とが前記正背方向に連通する状態にある、という構成2を採用することができる。
(【0011】以降は省略されています)
この特許をJ-PlatPat(特許庁公式サイト)で参照する
関連特許
他の特許を見る