TOP
|
特許
|
意匠
|
商標
特許ウォッチ
Twitter
他の特許を見る
10個以上の画像は省略されています。
公開番号
2025073619
公報種別
公開特許公報(A)
公開日
2025-05-13
出願番号
2023184552
出願日
2023-10-27
発明の名称
引き違い戸
出願人
三和シヤッター工業株式会社
代理人
個人
,
個人
主分類
E05D
13/00 20060101AFI20250502BHJP(錠;鍵;窓または戸の付属品;金庫)
要約
【課題】
扉体が大きな振動(例えば震度6強クラス)を受けた場合であっても、扉体が枠から脱落することを防止する。
【解決手段】
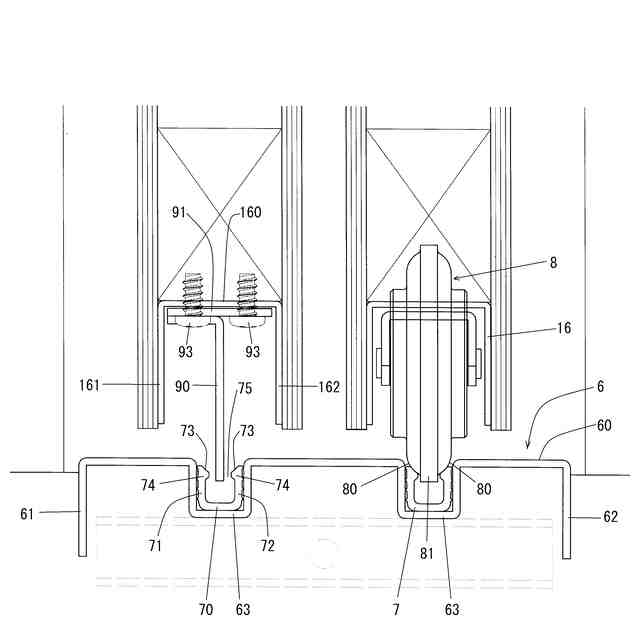
扉体1の下端に設けた複数の戸車8が、床面に設けたレール7上を転動することで開口部を開閉する引き違い戸において、戸車8は、戸車本体80と、戸車の厚さ方向中央に位置し、戸車本体80よりも大径の凸部81と、からなり、レール7は、戸車本体80が載る一対の傾斜部73と、一対の傾斜部73間に位置し、凸部81が位置する溝部75と、からなり、扉体1の下端には、戸車8間に位置して外れ規制部材9が設けてあり、外れ規制部材9の下端は、レール7の溝部75に位置している。
【選択図】図4
特許請求の範囲
【請求項1】
扉体の下端に設けた複数の戸車が、床面に設けたレール上を転動することで開口部を開閉する引き違い戸において、
前記戸車は、戸車本体と、戸車の厚さ方向中央に位置し、前記戸車本体よりも大径の凸部と、からなり、
前記レールは、前記戸車本体が載る一対の傾斜部と、前記一対の傾斜部間に位置し、前記凸部が位置する溝部と、からなり、
前記扉体の下端には、前記戸車間に位置して外れ規制部材が設けてあり、前記外れ規制部材の下端は、前記レールの前記溝部に位置している、
引き違い戸。
続きを表示(約 400 文字)
【請求項2】
前記外れ規制部材は前記扉体の幅方向に延びており、前記外れ規制部材の幅寸法は、前記戸車の径よりも大きく、
前記外れ規制部材の厚さは、前記戸車の前記凸部の厚さよりも小さい、
請求項1に記載の引き違い戸。
【請求項3】
前記扉体の下端は凹部を備えており、
前記戸車及び前記外れ規制部材は前記凹部に固定されており、
前記外れ規制部材は、垂直片と、垂直片の上端の水平片と、からなり、
前記水平片が前記凹部の上面に固定されており、
前記垂直片の下端が前記レールの前記溝部に位置している、
請求項1、2いずれか1項に記載の引き違い戸。
【請求項4】
前記凹部の前記上面と前記水平片との間にスペーサを組み込むことで、前記外れ規制部材の高さ位置が調整可能である、
請求項3に記載の引き違い戸。
発明の詳細な説明
【技術分野】
【0001】
本発明は、引き違い戸に関するものである。
続きを表示(約 1,600 文字)
【背景技術】
【0002】
引き違い戸は、学校間仕切りの開口部等に多く採用されている。このような引き違い戸は、例えば、特許文献1に開示されている。引き違い戸では、扉体が、下端に設けた戸車が床面に敷設したレール上を走行することで左右方向に移動するようになっているが、扉体はいわゆるケンドン方式の取付方法であるため、扉体の上端と開口枠の上枠との間に所定のクリアランスが生じ、振動を受けると扉体が開口枠から脱落するおそれがある。扉体の脱落防止として、扉体の取り付け後に上枠に外れ止め要素を設置して、上側のクリアランスを狭めることが行われたとしても、扉体に作用する振動によって、扉体の下端の戸車がレールから脱落してしまうおそれがある。
【0003】
上側の外れ止要素に加えて、扉体の下端の戸車に突状の外れ止め手段を設けて、扉体が大きな振動を受けた場合であっても、扉体の脱落を防止することも行われている。
【0004】
しかしながら、従来の扉体の脱落防止手段は、例えば震度6強クラスといった極めて大きい振動を想定しておらず、このような大きな振動に起因して大きな力が複数の方向から同時に作用したような場合には、扉体が脱落してしまうおそれがある。
特開2023-111513
【発明の開示】
【発明が解決しようとする課題】
【0005】
本発明は、扉体が大きな振動(例えば震度6強クラス)を受けた場合であっても、扉体が枠から脱落することを防止することを目的とする。
【課題を解決するための手段】
【0006】
かかる課題を解決するべく本発明が採用した技術手段は、
扉体の下端に設けた複数の戸車が、床面に設けたレール上を転動することで開口部を開閉する引き違い戸において、
前記戸車は、戸車本体と、戸車の厚さ方向中央に位置し、前記戸車本体よりも大径の凸部と、からなり、
前記レールは、前記戸車本体が載る一対の傾斜部と、前記一対の傾斜部間に位置し、前記凸部が位置する溝部と、からなり、
前記扉体の下端には、前記戸車間に位置して外れ規制部材が設けてあり、前記外れ規制部材の下端は、前記レールの前記溝部に位置している、
引き違い戸、である。
【0007】
1つの態様では、前記外れ規制部材は前記扉体の幅方向に延びており、前記外れ規制部材の幅寸法は、前記戸車の径よりも大きく、
前記外れ規制部材の厚さは、前記戸車の前記凸部の厚さよりも小さい。
1つの態様では、前記外れ規制部材の下端は、前記戸車の前記凸部の下端と同じ高さ位置あるいは少し下方に位置している。
【0008】
1つの態様では、前記扉体の下端は凹部を備えており、
前記戸車及び前記外れ規制部材は前記凹部に固定されており、
前記外れ規制部材は、垂直片と、垂直片の上端の水平片と、からなり、
前記水平片が前記凹部の上面に固定されており、
前記垂直片の下端が前記レールの前記溝部に位置している。
【0009】
1つの態様では、前記凹部の前記上面と前記水平片との間にスペーサを組み込むことで、前記外れ規制部材の高さ位置が調整可能である。
【発明の効果】
【0010】
本発明では、複数の戸車の各凸部がレールの溝部に位置することに加えて、外れ規制部材の下端部位がレールの溝部に位置しているので、扉体に大きな振動が作用した場合には、前記凸部が溝部に掛止すると共に、前記外れ規制部材が溝部に掛止することで、開口枠から扉体が脱落することを防止することができる。
【図面の簡単な説明】
(【0011】以降は省略されています)
この特許をJ-PlatPat(特許庁公式サイト)で参照する
関連特許
他の特許を見る