TOP
|
特許
|
意匠
|
商標
特許ウォッチ
Twitter
他の特許を見る
10個以上の画像は省略されています。
公開番号
2025181374
公報種別
公開特許公報(A)
公開日
2025-12-11
出願番号
2024089330
出願日
2024-05-31
発明の名称
移植機
出願人
ヤンマーホールディングス株式会社
代理人
個人
,
個人
主分類
A01C
11/02 20060101AFI20251204BHJP(農業;林業;畜産;狩猟;捕獲;漁業)
要約
【課題】電動モータによって植付回転体を回転駆動させる構成において、植付回転体の回転を停止させる際に、苗植付装置の動力伝達機構に急に大きな力が作用することを抑制することができ、動力伝達機構の構成部材の損傷等を防止することができる移植機を提供する。
【解決手段】制御部は、植付回転体の回転を停止させるための停止制御として、位相検出部により検出される位相と、位相について植付回転体の停止位置として設定された所定の目標位相との差であるロータリ位相の目実差Δθの大きさに応じて、電動モータの回転速度の減速率を異ならせる制御を行う。
【選択図】図7
特許請求の範囲
【請求項1】
走行機体と、
前記走行機体に支持され、植付爪を支持するとともに回転可能に設けられた植付回転体を有する植付部と、
前記植付回転体を回転駆動させるための電動モータと、
前記植付回転体の回転についての位相を検出する位相検出部と、
前記位相検出部により検出された前記位相に基づいて前記電動モータを制御する制御部と、を備え、
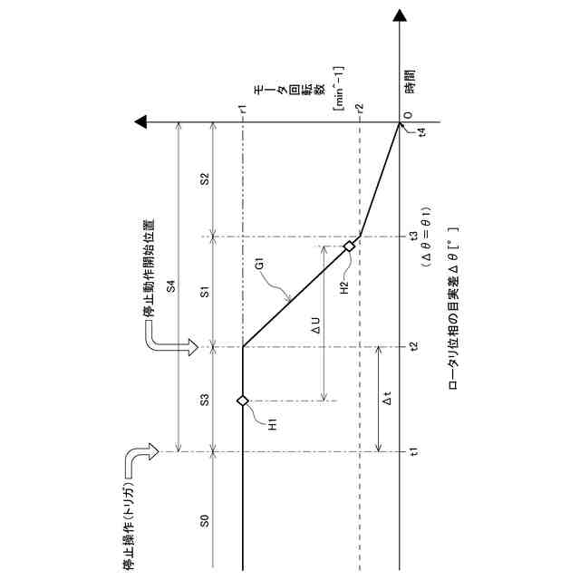
前記制御部は、前記植付回転体の回転を停止させるための停止制御として、前記位相検出部により検出される前記位相と、前記位相について前記植付回転体の停止位置として設定された所定の目標位相との差の大きさに応じて、前記電動モータの回転速度の減速率を異ならせる制御を行う、
移植機。
続きを表示(約 660 文字)
【請求項2】
前記制御部は、前記停止制御において、第1の減速率で前記回転速度を減速させた後、前記第1の減速率よりも低い第2の減速率で前記回転速度を減速させる制御を行う、
請求項1に記載の移植機。
【請求項3】
前記制御部は、前記停止制御の開始時点から、前記回転速度の減速を開始する時点までの間、前記回転速度を前記開始時点での前記回転速度に保持する制御を行う、
請求項1または請求項2に記載の移植機。
【請求項4】
走行機体と、
前記走行機体に支持され、植付爪を支持するとともに回転可能に設けられた植付回転体を有する植付部と、
前記植付回転体を回転駆動させるための電動モータと、
前記植付回転体の回転についての位相を検出する位相検出部と、
前記位相検出部により検出された前記位相に基づいて前記電動モータを制御する制御部と、を備え、
前記制御部は、前記植付回転体の回転を停止させるための停止制御として、前記位相検出部により検出される前記位相と、前記位相について前記植付回転体の停止位置として設定された所定の目標位相との差の大きさに応じて、前記電動モータの回転速度を減速させる制御を行うものであり、
前記停止制御の開始時点で、前記回転速度が所定の閾値を下回っている場合、前記回転速度を前記閾値に上昇させ、前記差の大きさが所定の値に達するまで前記回転速度を前記閾値に保持した後、前記回転速度を減速させる制御を行う、
移植機。
発明の詳細な説明
【技術分野】
【0001】
本発明は、電動モータによって植付回転体を回転駆動させる構成を備えた移植機に関する。
続きを表示(約 2,000 文字)
【背景技術】
【0002】
従来、植付装置によって圃場に対して連続的に苗植え作業を行う移植機としての田植機において、後下がりの傾斜状の苗載台上に載せられた板状の苗マットを横送りおよび縦送りしながら、植付装置が有する植付爪によって苗マットを連続的に一部ずつ掻き取って苗を植えていく構成を備えたものがある。この種の田植機においては、植付装置として、植付伝動ケースと、植付伝動ケースの左右両側に設けられた植付回転体であるロータリケースと、ロータリケースに支持された状態で設けられた植付爪を含む植付爪装置とを有するロータリ式の植付装置が備えられている。
【0003】
このような田植機に関し、ロータリケースを電動モータの駆動力を用いて回転駆動させる構成のものがある(例えば、特許文献1参照。)。特許文献1には、1つの電動モータによって左右一対のロータリケースを回転駆動させる構成、および各ロータリケースに対して1つの電動モータを設けた構成が開示されている。また、特許文献1には、ロータリケースの動作制御に関し、電動モータの駆動制御により、植付爪が圃場面から離れた位相(いわゆる上部停止位置)でロータリケースを停止させる制御が記載されている。
【先行技術文献】
【特許文献】
【0004】
特許第5335446号公報
【発明の概要】
【発明が解決しようとする課題】
【0005】
上述したように電動モータによってロータリケースを回転駆動させる構成において、回転駆動しているロータリケースを上部停止位置等の所定の位相(位置)で停止させる際、例えば電動モータに対する通電の遮断等、電動モータへの停止制御が行われる。電動モータへの停止制御によれば、ロータリケースの回転が急停止することになり、動力伝達経路における電動モータより下流側の動力伝達機構に急に大きな力が作用する。このことは、動力伝達機構を構成するギアや軸等の伝動部材の損傷や劣化等を生じさせる原因となり得る。
【0006】
本発明は、上記のような問題点に鑑みてなされたものであり、電動モータによって植付回転体を回転駆動させる構成において、植付回転体の回転を停止させる際に、苗植付装置の動力伝達機構に急に大きな力が作用することを抑制することができ、動力伝達機構の構成部材の損傷等を防止することができる移植機を提供することを目的とする。
【課題を解決するための手段】
【0007】
本発明に係る移植機は、走行機体と、前記走行機体に支持され、植付爪を支持するとともに回転可能に設けられた植付回転体を有する植付部と、前記植付回転体を回転駆動させるための電動モータと、前記植付回転体の回転についての位相を検出する位相検出部と、前記位相検出部により検出された前記位相に基づいて前記電動モータを制御する制御部と、を備え、前記制御部は、前記植付回転体の回転を停止させるための停止制御として、前記位相検出部により検出される前記位相と、前記位相について前記植付回転体の停止位置として設定された所定の目標位相との差の大きさに応じて、前記電動モータの回転速度の減速率を異ならせる制御を行うものである。
【0008】
本発明に係る移植機は、前記移植機において、前記制御部は、前記制御部は、前記停止制御において、第1の減速率で前記回転速度を減速させた後、前記第1の減速率よりも低い第2の減速率で前記回転速度を減速させる制御を行うものである。
【0009】
本発明に係る移植機は、前記移植機において、前記制御部は、前記制御部は、前記停止制御の開始時点から、前記回転速度の減速を開始する時点までの間、前記回転速度を前記開始時点での前記回転速度に保持する制御を行うものである。
【0010】
本発明に係る移植機は、走行機体と、前記走行機体に支持され、植付爪を支持するとともに回転可能に設けられた植付回転体を有する植付部と、前記植付回転体を回転駆動させるための電動モータと、前記植付回転体の回転についての位相を検出する位相検出部と、前記位相検出部により検出された前記位相に基づいて前記電動モータを制御する制御部と、を備え、前記制御部は、前記植付回転体の回転を停止させるための停止制御として、前記位相検出部により検出される前記位相と、前記位相について前記植付回転体の停止位置として設定された所定の目標位相との差の大きさに応じて、前記電動モータの回転速度を減速させる制御を行うものであり、前記停止制御の開始時点で、前記回転速度が所定の閾値を下回っている場合、前記回転速度を前記閾値に上昇させ、前記差の大きさが所定の値に達するまで前記回転速度を前記閾値に保持した後、前記回転速度を減速させる制御を行うものである。
【発明の効果】
(【0011】以降は省略されています)
この特許をJ-PlatPat(特許庁公式サイト)で参照する
関連特許
個人
産卵床
13日前
個人
蠅捕獲器
1か月前
個人
草刈り鋏
1か月前
個人
平板植栽
14日前
個人
釣り用錘
1か月前
個人
果実袋
13日前
個人
噴霧器ノズル
29日前
個人
蜜蜂保護装置
1か月前
個人
種子の製造方法
1か月前
個人
ビニール鉢名札
今日
個人
移動体草刈り機
13日前
個人
養殖器具
13日前
個人
草刈機用回転刃
1か月前
個人
昆虫捕集器
1か月前
個人
水田排水量調整器具
13日前
個人
ペット用給餌マット
今日
株式会社剛樹
釣り竿
27日前
個人
可動リップ付きルアー
1か月前
井関農機株式会社
圃場作業機
6日前
個人
ブルーカーボンシステム
1か月前
個人
四足動物用装着具
1か月前
井関農機株式会社
圃場作業機
1か月前
個人
餌付き針の餌取り防止具
1か月前
株式会社ナベル
表示システム
1か月前
個人
アリ侵入防止装置
今日
積水樹脂株式会社
シート止め具
13日前
有限会社信英精密
括り罠
21日前
株式会社オーツボ
海苔箱船
1か月前
松山株式会社
収穫機
1か月前
井関農機株式会社
作業車両
1か月前
個人
網口高さのベクトル底引き網
13日前
松山株式会社
収穫機
1か月前
個人
粘着板で挟むネズミ捕り装置
13日前
株式会社シマノ
釣糸ガイド
今日
井関農機株式会社
作業車両
1か月前
株式会社サワエ
害虫捕獲器
6日前
続きを見る
他の特許を見る