TOP
|
特許
|
意匠
|
商標
特許ウォッチ
Twitter
他の特許を見る
10個以上の画像は省略されています。
公開番号
2025180741
公報種別
公開特許公報(A)
公開日
2025-12-11
出願番号
2024088277
出願日
2024-05-30
発明の名称
発光デバイスおよび画像形成装置
出願人
キヤノン株式会社
代理人
弁理士法人大塚国際特許事務所
主分類
H10K
59/129 20230101AFI20251204BHJP()
要約
【課題】発光デバイスの小型化に有利な技術を提供する。
【解決手段】行方向を長辺とし列方向を短辺とする矩形状の基板の上に、複数の行および複数の列を構成するように配された複数の画素と、走査回路と、を備える発光デバイスであって、前記複数の画素のそれぞれは、発光素子と前記発光素子を駆動するための駆動回路とを含み、前記走査回路は、前記複数の列にそれぞれ対応して設けられた複数のデータ保持回路を含み、各データ保持回路は、対応する列における前記複数の画素に配された前記駆動回路を制御するためのデータをそれぞれ保持する複数のメモリ回路を含み、各データ保持回路における前記複数のメモリ回路は、前記行方向に並ぶように配された第1メモリ回路と第2メモリ回路とを含む。
【選択図】図10
特許請求の範囲
【請求項1】
行方向を長辺とし列方向を短辺とする矩形状の基板の上に、複数の行および複数の列を構成するように配された複数の画素と、走査回路と、を備える発光デバイスであって、
前記複数の画素のそれぞれは、発光素子と前記発光素子を駆動するための駆動回路とを含み、
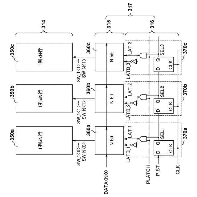
前記走査回路は、前記複数の列にそれぞれ対応して設けられた複数のデータ保持回路を含み、
各データ保持回路は、対応する列における前記複数の画素に配された前記駆動回路を制御するためのデータをそれぞれ保持する複数のメモリ回路を含み、
各データ保持回路における前記複数のメモリ回路は、前記行方向に並ぶように配された第1メモリ回路と第2メモリ回路とを含むことを特徴とする発光デバイス。
続きを表示(約 1,000 文字)
【請求項2】
前記複数の列のそれぞれにおいて、対応する列における前記複数の画素に配された前記駆動回路は、前記列方向に並ぶように配されていることを特徴とする請求項1に記載の発光デバイス。
【請求項3】
前記駆動回路の前記行方向における長さが、前記複数のメモリ回路のうち前記駆動回路に対応するメモリ回路の前記行方向における長さよりも長いことを特徴とする請求項1に記載の発光デバイス。
【請求項4】
前記第1メモリ回路の回路レイアウトと前記第2メモリ回路の回路レイアウトとが互いに異なっていることを特徴とする請求項1に記載の発光デバイス。
【請求項5】
平面視において、前記第1メモリ回路の外縁形状と前記第2メモリ回路の外縁形状とが、互いに異なっていることを特徴とする請求項1に記載の発光デバイス。
【請求項6】
前記第1メモリ回路が配される前記列方向の長さと前記第2メモリ回路が配される前記列方向の長さとが、互いに異なっていることを特徴とする請求項1に記載の発光デバイス。
【請求項7】
前記第1メモリ回路が配される前記列方向の長さを前記行方向の長さで除したアスペクト比と前記第2メモリ回路が配される前記列方向の長さを前記行方向の長さで除したアスペクト比とが、互いに異なっていることを特徴とする請求項1に記載の発光デバイス。
【請求項8】
各データ保持回路における前記複数のメモリ回路は、前記第1メモリ回路を含む第1タイプのメモリ回路と前記第2メモリ回路を含む第2タイプのメモリ回路と、を含み、
前記第1タイプのメモリ回路の前記列方向の長さは、前記第2タイプのメモリ回路の前記列方向の長さよりも長く、
各データ保持回路において、前記第1タイプのメモリ回路の数が、前記第2タイプのメモリ回路の数よりも少ないことを特徴とする請求項1に記載の発光デバイス。
【請求項9】
前記第1タイプのメモリ回路が配される前記行方向の長さは、前記第2タイプのメモリ回路が配される前記行方向の長さよりも短いことを特徴とする請求項8に記載の発光デバイス。
【請求項10】
前記第1タイプのメモリ回路が配される前記列方向の長さを前記行方向の長さで除したアスペクト比が、前記第2タイプのメモリ回路が配される前記列方向の長さを前記行方向の長さで除したアスペクト比よりも大きいことを特徴とする請求項8に記載の発光デバイス。
(【請求項11】以降は省略されています)
発明の詳細な説明
【技術分野】
【0001】
本発明は、発光デバイスおよび画像形成装置に関する。
続きを表示(約 2,100 文字)
【背景技術】
【0002】
有機発光ダイオード(OLED)を発光源として用いた、画像形成装置用のプリントヘッド(OLED-PH)が提案されている。特許文献1には、OLEDとそれを駆動するための駆動トランジスタとを1つの基板上に形成した発光デバイスが示されている。OLEDと駆動トランジスタとを同一基板上に形成できるため、小型化や低コスト化が可能になる。
【先行技術文献】
【特許文献】
【0003】
特開2022-162410号公報
【発明の概要】
【発明が解決しようとする課題】
【0004】
特許文献1には、各OLEDの発光および非発光を制御するためのデータを保持するデータ保持回路が配されている。データ保持回路には、それぞれのOLEDに1対1で対応するように、データを保持するための複数のメモリ回路が必要であると考えられる。特許文献1では、複数のメモリ回路の配置について検討がなされていない。
【0005】
本発明は、発光デバイスの小型化に有利な技術を提供することを目的とする。
【課題を解決するための手段】
【0006】
上記課題に鑑みて、本発明の実施形態に係る発光デバイスは、行方向を長辺とし列方向を短辺とする矩形状の基板の上に、複数の行および複数の列を構成するように配された複数の画素と、走査回路と、を備える発光デバイスであって、前記複数の画素のそれぞれは、発光素子と前記発光素子を駆動するための駆動回路とを含み、前記走査回路は、前記複数の列にそれぞれ対応して設けられた複数のデータ保持回路を含み、各データ保持回路は、対応する列における前記複数の画素に配された前記駆動回路を制御するためのデータをそれぞれ保持する複数のメモリ回路を含み、各データ保持回路における前記複数のメモリ回路は、前記行方向に並ぶように配された第1メモリ回路と第2メモリ回路とを含むことを特徴とする。
【発明の効果】
【0007】
本発明によれば、発光デバイスの小型化に有利な技術を提供することができる。
【図面の簡単な説明】
【0008】
本実施形態の発光デバイスの構成例を示す断面図。
図1の発光デバイスの構成例を示すブロック図。
図1の発光デバイスの駆動回路の構成例を示す図。
図1の発光デバイスの駆動回路と走査回路との接続例を示す図。
図1の発光デバイスの動作回路の動作例を示すタイミング図。
図1の発光デバイスのメモリ回路の構成例を示す図。
図1の発光デバイスの回路ブロックの配置例を示す図。
図1の発光デバイスの駆動回路と走査回路との配置例を示す図。
図1の発光デバイスの駆動回路と走査回路との配置例を示す図。
図1の発光デバイスの駆動回路と走査回路との配置例を示す図。
図10の配置例の詳細を示す図。
図1の発光デバイスの駆動回路と走査回路との接続例を示す図。
図1の発光デバイスの駆動回路と走査回路との配置例を示す図。
図13の配置例の詳細を示す図。
本実施形態の発光デバイスの構成例を示す断面図。
本実施形態の発光デバイスの画素の構成例を示す断面図。
本実施形態の発光デバイスを用いた画像形成装置の一例を示す図。
本実施形態の発光デバイスを用いた表示装置の一例を示す図。
本実施形態の発光デバイスを用いた光電変換装置の一例を示す図。
本実施形態の発光デバイスを用いた電子機器の一例を示す図。
本実施形態の発光デバイスを用いた表示装置の一例を示す図。
本実施形態の発光デバイスを用いた照明装置の一例を示す図。
本実施形態の発光デバイスを用いた移動体の一例を示す図。
本実施形態の発光デバイスを用いたウェアラブルデバイスの一例を示す図。
【発明を実施するための形態】
【0009】
以下、添付図面を参照して実施形態を詳しく説明する。なお、以下の実施形態は特許請求の範囲に係る発明を限定するものではない。実施形態には複数の特徴が記載されているが、これらの複数の特徴の全てが発明に必須のものとは限らず、また、複数の特徴は任意に組み合わせられてもよい。さらに、添付図面においては、同一若しくは同様の構成に同一の参照番号を付し、重複した説明は省略する。
【0010】
図1~図14を参照して、本開示の実施形態による発光デバイスについて説明する。以下の説明において、発光デバイスに配される発光素子として有機発光ダイオード(OLED)を用いる例について説明する。しかしながら、本開示は、OLEDを用いた発光デバイスに限定されるものではなく、電流駆動型の発光素子を備える発光デバイス全般に適用することが可能である。
(【0011】以降は省略されています)
この特許をJ-PlatPat(特許庁公式サイト)で参照する
関連特許
キヤノン株式会社
容器
1か月前
キヤノン株式会社
容器
1か月前
キヤノン株式会社
トナー
1か月前
キヤノン株式会社
トナー
1か月前
キヤノン株式会社
顕微鏡
今日
キヤノン株式会社
撮像装置
29日前
キヤノン株式会社
定着装置
21日前
キヤノン株式会社
記録装置
1か月前
キヤノン株式会社
電子機器
2日前
キヤノン株式会社
定着装置
27日前
キヤノン株式会社
撮像装置
6日前
キヤノン株式会社
記録装置
今日
キヤノン株式会社
撮像装置
6日前
キヤノン株式会社
定着装置
今日
キヤノン株式会社
記録装置
今日
キヤノン株式会社
表示装置
6日前
キヤノン株式会社
記録装置
27日前
キヤノン株式会社
撮像装置
1か月前
キヤノン株式会社
記録装置
今日
キヤノン株式会社
記録装置
今日
キヤノン株式会社
定着装置
27日前
キヤノン株式会社
撮像装置
21日前
キヤノン株式会社
撮像装置
21日前
キヤノン株式会社
撮像装置
今日
キヤノン株式会社
撮像装置
今日
キヤノン株式会社
撮像装置
1か月前
キヤノン株式会社
定着装置
21日前
キヤノン株式会社
電子機器
6日前
キヤノン株式会社
電子機器
29日前
キヤノン株式会社
電気機器
1日前
キヤノン株式会社
表示装置
1か月前
キヤノン株式会社
電子機器
1か月前
キヤノン株式会社
記録装置
1日前
キヤノン株式会社
測距装置
1か月前
キヤノン株式会社
電子機器
1か月前
キヤノン株式会社
発光装置
13日前
続きを見る
他の特許を見る