TOP
|
特許
|
意匠
|
商標
特許ウォッチ
Twitter
他の特許を見る
公開番号
2025179878
公報種別
公開特許公報(A)
公開日
2025-12-11
出願番号
2024086784
出願日
2024-05-29
発明の名称
草刈り刃及び草刈り機
出願人
個人
代理人
個人
,
個人
主分類
A01D
34/02 20060101AFI20251204BHJP(農業;林業;畜産;狩猟;捕獲;漁業)
要約
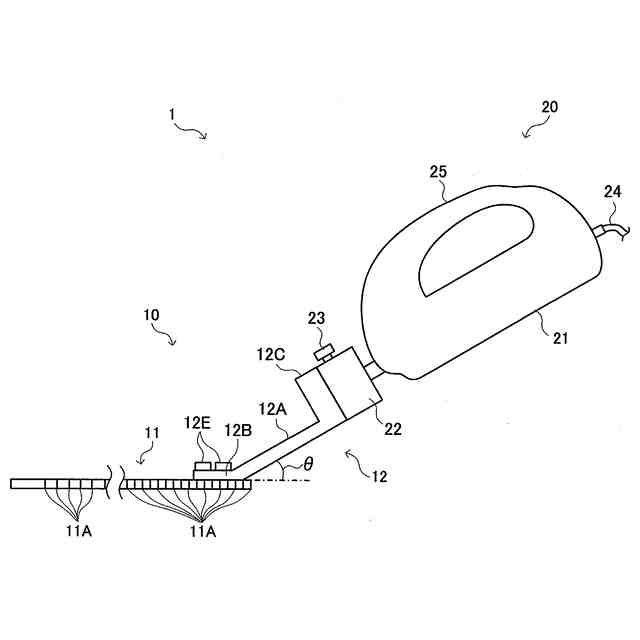
【課題】本体部に土などが入り込むことを抑制することができる草刈り刃及び草刈り機を提供する。
【解決手段】草刈り機1は、駆動手段がカバー体21の内部に収納された本体部20と、本体部20に取り付けて用いられ、駆動手段により振動する草刈り刃10とを備えている。草刈り刃10は、平板状で両側に鋸状刃11Aが形成された刃部11と、刃部11を本体部20に接続する接続部12とを有している。接続部12は、丸棒状部12Aと、丸棒状部12Aの一端部に刃部11を接合する刃接合部12Bと、丸棒状部12Aを本体部20に取り付ける本体取付部12Cとを有している。接続部12と刃部11とは、丸棒状部12Aが刃部11に対して20°~40°の角度θを有するように接合されている。
【選択図】図1
特許請求の範囲
【請求項1】
駆動手段がカバー体の内部に収納された本体部に取り付けて用いられ、前記駆動手段により振動する草刈り刃であって、
平板状で両側に鋸状刃が形成された刃部と、前記刃部を前記本体部に接続する接続部とを有し、
前記接続部は、丸棒状部と、前記丸棒状部の一端部に前記刃部を接合する刃接合部と、前記丸棒状部の他端部を前記本体部に取り付ける本体取付部とを有し、
前記接続部と前記刃部とは、前記丸棒状部が前記刃部に対して20°~40°の角度を有するように接合された
ことを特徴とする草刈り刃。
続きを表示(約 130 文字)
【請求項2】
前記鋸状刃にはアサリがないことを特徴とする請求項1記載の草刈り刃。
【請求項3】
駆動手段がカバー体の内部に収納された本体部と、
請求項1又は請求項2に記載の草刈り刃と
を備えたことを特徴とする草刈り機。
発明の詳細な説明
【技術分野】
【0001】
本発明は、草刈り刃及び草刈り機に関する。
続きを表示(約 1,900 文字)
【背景技術】
【0002】
野菜作りを生業としていると、作物に負けじと伸びてくる雑草が問題である。捨て置くと作物は雑草の中に隠れて見えなくなってしまい、やせ細り枯れてしまう。除草剤を使う手もあるが、作物や土との相性により使えないことが多い。これは、農業のみならず、土地を所有している人にとって共通の問題である。作物がなければ除草剤による駆除も可能ではあるが、庭先や植木の下などは手で取るほかはなく、手で取っても途中で千切れたり小さい草だと取りこぼしもあり、すぐに草が青く伸びてきてしまう。
【0003】
そこで、古来より金具の草削りが利用されている。しかし、草削りは、草の種類、土の軟硬、作物の大小等により万能とは言い難く、一長一短で、条件が揃えば能率も上がるが、時期を外すと役に立たない。例えば、作物を作り易い土の畑の土性は、通常、壌土と呼ばれている畑で、砂が62.5%、粘土が37.5%の割合で混じり合っている。このような土に作物を植え付け、草が生え始まった時に雨が降ると土がやわらかくなり、草を取るために畑に入ると足跡が大きく深く土の中に入ってしまうので畑に入ることができない。一日の雨量が10mmだと翌日は畑に入れず、20mmだと2日、30mmだと3日は畑に入ることができない。たとえ入って草をとっても草の根には泥がつき、草削りにも土がついて根を切ることが難しい。降雨後、前述の日数を経た時が除草開始の適期で、これより2日~3日の間に大きい草削りで一気に除草を行えば、草丈15cm程度の草であれば効率よく除草することができる。
【0004】
しかし、4日目になると、草削りも草に阻まれると共に土が固くなり、大型の草削りでは除草が難しくなり、小型の片手による草削りで草の根際に刃を突き刺し掻き出すことになる。これも6日も過ぎると土はもう草削りの刃も受け付けなくなり、両手で鎌の刃に力を入れて掻きむしるのが一番の方法であるが、土の抵抗により鎌の刃は傷んでしまい、鎌としてそのまま使用することができなくなってしまう。土の締まりは非常に大きく、鑿ででも掘る程固くなる。この後は、鋸鎌の刃先を草の一株一株に突き刺して根を切り取って除草するか、又は、次の雨を待つことになるが、草は益々勢いを増して伸び放題となってしまう。
【0005】
そうした際に、電動鋸で庭木の根元を切っていた時に、草削りも入らないくらいに固くなった土に刃先が入り、土まで切ってしまうことがあった。電動鋸は、電気の力によりモーターを回転させ、回転運動をカム等の処理により振動に切り替えている。電動鋸は、刃の振動自体は小さいが振動は1分間に2000回以上と多く、固い土でも刃を侵入させることができる。そこで、振動により草の根をどのような形で断ち切ればよいのかを検討した。
【0006】
雑草は、土の表面より0.5cm~1cm程度の所に存在する種子が発芽し、これよりも浅い所の種子は土の乾燥等により発芽しないで休眠し、また、これよりも深い所の種子は土圧等により発芽不能となり休眠している。この0.5cm~1cm程度の深さの土中が雑草の生育根拠地で、ここに幹となり根となる分岐点があり、極点と呼ばれている(非特許文献1参照)。この極点よりも下、地表から0.5cm~1cm程度の地中において草の根を切断し引き抜けば、地中に根が残っていても発芽伸長しない。逆に、この極点よりも上で草を切り取っても、極点の幹となる部分が地中に残り、すぐに伸長してしまう。すなわち、刃を地表から1cm~2cmの地中に刃を挿入して草の根を切断することが好ましい。
【0007】
なお、特許文献1には、刃先が土中に押入可能に形成された刃部と、刃部を前後に揺動させる駆動手段を有する本体部とを備えた草刈り機が記載されている。しかしながら、刃先を土中に挿入すると、刃部及び刃部と駆動部との取付部に土や草の根、ごみ等が付着し、本体部に入ってしまう場合があり、故障の原因となる恐れがあった。
【先行技術文献】
【特許文献】
【0008】
特開平11-168934号公報
【非特許文献】
【0009】
作物の科学 川田信一郎著 東京大学出版会
【発明の概要】
【発明が解決しようとする課題】
【0010】
本発明は、このような問題に基づきなされたものであり、本体部に土などが入り込むことを抑制することができる草刈り刃及び草刈り機を提供することを目的とする。
【課題を解決するための手段】
(【0011】以降は省略されています)
この特許をJ-PlatPat(特許庁公式サイト)で参照する
関連特許
個人
産卵床
14日前
個人
平板植栽
15日前
個人
蠅捕獲器
1か月前
個人
草刈り鋏
1か月前
個人
釣り用錘
1か月前
個人
蜜蜂保護装置
1か月前
個人
噴霧器ノズル
1か月前
個人
果実袋
14日前
個人
草刈機用回転刃
1か月前
個人
ビニール鉢名札
1日前
個人
種子の製造方法
1か月前
個人
移動体草刈り機
14日前
個人
養殖器具
14日前
個人
昆虫捕集器
1か月前
個人
ペット用給餌マット
1日前
個人
水田排水量調整器具
14日前
株式会社剛樹
釣り竿
28日前
個人
可動リップ付きルアー
1か月前
個人
ブルーカーボンシステム
1か月前
株式会社ナベル
表示システム
1か月前
個人
餌付き針の餌取り防止具
1か月前
個人
アリ侵入防止装置
1日前
井関農機株式会社
圃場作業機
7日前
井関農機株式会社
圃場作業機
1か月前
個人
四足動物用装着具
1か月前
有限会社信英精密
括り罠
22日前
積水樹脂株式会社
シート止め具
14日前
松山株式会社
収穫機
1か月前
株式会社サワエ
害虫捕獲器
7日前
株式会社シマノ
釣糸ガイド
1日前
松山株式会社
収穫機
1か月前
みのる産業株式会社
除草機
1か月前
みのる産業株式会社
除草機
1か月前
井関農機株式会社
苗移植機
22日前
株式会社オーツボ
海苔箱船
1か月前
井関農機株式会社
作業車両
1か月前
続きを見る
他の特許を見る