TOP
|
特許
|
意匠
|
商標
特許ウォッチ
Twitter
他の特許を見る
公開番号
2025179823
公報種別
公開特許公報(A)
公開日
2025-12-10
出願番号
2025086437
出願日
2025-05-23
発明の名称
純水の水質分析方法及び純水製造システムの運転方法
出願人
オルガノ株式会社
代理人
個人
,
個人
主分類
G01N
30/00 20060101AFI20251203BHJP(測定;試験)
要約
【課題】純水に含まれる微量な分析目的成分をガスクロマトグラフ質量分析計で測定することを含む、純水の水質分析方法を提供する。
【解決手段】分析目的成分を濃縮する攪拌子61を純水の試料中で動かし、試料に含まれる分析目的成分を攪拌子61に吸着させて濃縮し、濃縮された分析目的成分を気化し、気化された分析目的成分をガスクロマトグラフ質量分析計21で分析し、分析目的成分の成分を同定する。
【選択図】図2
特許請求の範囲
【請求項1】
分析目的成分を濃縮する攪拌子を純水の試料中で動かし、前記試料に含まれる分析目的成分を前記攪拌子に吸着させて濃縮することと、
濃縮された前記分析目的成分を気化することと、
気化された前記分析目的成分をガスクロマトグラフ質量分析計で分析し、前記分析目的成分の成分を同定することと、を有する純水の水質分析方法。
続きを表示(約 790 文字)
【請求項2】
前記試料の全有機体炭素濃度を測定することを有する、請求項1に記載の水質分析方法。
【請求項3】
前記試料の前記全有機体炭素濃度が50μg/L以下である、請求項2に記載の水質分析方法。
【請求項4】
気化された前記分析目的成分を前記ガスクロマトグラフ質量分析計で分析し、前記分析目的成分の前記成分の濃度を検出することを有する、請求項1に記載の水質分析方法。
【請求項5】
前記試料は、純水製造システムを構成する複数の水処理装置のうち、分析目的成分を含む接液部を有する少なくとも一つの特定水処理装置の出口水から採取される、請求項4に記載の水質分析方法。
【請求項6】
前記少なくとも一つの特定水処理装置はイオン交換体とろ過膜と脱気膜の少なくとも一つを含む、請求項5に記載の水質分析方法。
【請求項7】
前記成分の濃度が基準値を超えたときに、前記試料が採取された前記出口水を排出する前記特定水処理装置が劣化していると判断する、請求項5に記載の水質分析方法。
【請求項8】
前記成分の濃度の基準値は前記成分毎に設定され、いずれかの前記出口水から採取された前記試料における複数の成分の濃度が当該成分の前記基準値を超えたときに、当該出口水を排出する前記特定水処理装置が劣化していると判断する、請求項5に記載の水質分析方法。
【請求項9】
請求項7または8に記載の水質分析方法を含む純水製造システムの運転方法であって、
前記少なくとも一つの特定水処理装置は並列に設置された複数の系列を有し、
前記水質分析方法によって前記複数の系列の一つが劣化していると判断されたときに、他の前記系列に切り替えることを有する、純水製造システムの運転方法。
発明の詳細な説明
【技術分野】
【0001】
本発明は、純水の水質分析方法と純水製造システムの運転方法に関する。
続きを表示(約 1,800 文字)
【背景技術】
【0002】
純水中の有機物が半導体ウエハの残留物形成の一因となる可能性が指摘されている。このため、純水中の有機物低減を目的として、純水に含まれる微量の有機物汚染源の特定が必要となる。現在、純水中に含まれる有機物をガスクロマトグラフ法によって分析する方法が検討されている。しかし、純水中の有機物の濃度は低いため、ガスクロマトグラフ法で有機物を分析することが難しい場合がある。特許文献1には、超純水中のガスの濃度は数μg/L(ppb)レベルと極低いレベルに達することがあり、この濃度を既存のガスクロマトグラフで直接測定することは感度的に不可能であることが記載されている。これは純水中の有機物に関しても同様であり、IRDS(International Roadmap for Devices and Systems)には、現在純水中の有機汚染については全有機体炭素(以下TOCとする)の濃度が測定されており、TOCを構成する有機物の種類は考慮されていないと記載されている。
【先行技術文献】
【特許文献】
【0003】
特開2023-58213公報
【発明の概要】
【発明が解決しようとする課題】
【0004】
純水中のTOC濃度は数μg/L(ppb)レベルと極低いレベルに達することがある。この濃度の有機物を既存のガスクロマトグラフ質量分析計で直接測定することは感度面から困難であるため、純水中に含まれる微量の有機物種の特定及び汚染源の推定が難しい。同様の課題は有機物以外の微量の不純物にも存在する。
【0005】
本発明は、純水に含まれる微量な分析目的成分をガスクロマトグラフ質量分析計で測定することを含む、純水の水質分析方法を提供することを目的とする。
【課題を解決するための手段】
【0006】
本発明の純水の水質分析方法は、分析目的成分を濃縮する攪拌子を純水の試料中で動かし、試料に含まれる分析目的成分を前記攪拌子に吸着させて濃縮することと、濃縮された分析目的成分を気化することと、気化された分析目的成分をガスクロマトグラフ質量分析計で分析し、分析目的成分の成分を同定することと、を有する。
【発明の効果】
【0007】
本発明によれば、純水に含まれる微量な分析目的成分をガスクロマトグラフ質量分析計で測定することを含む、純水の水質分析方法を提供することができる。
【図面の簡単な説明】
【0008】
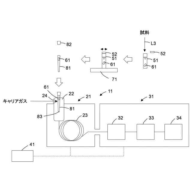
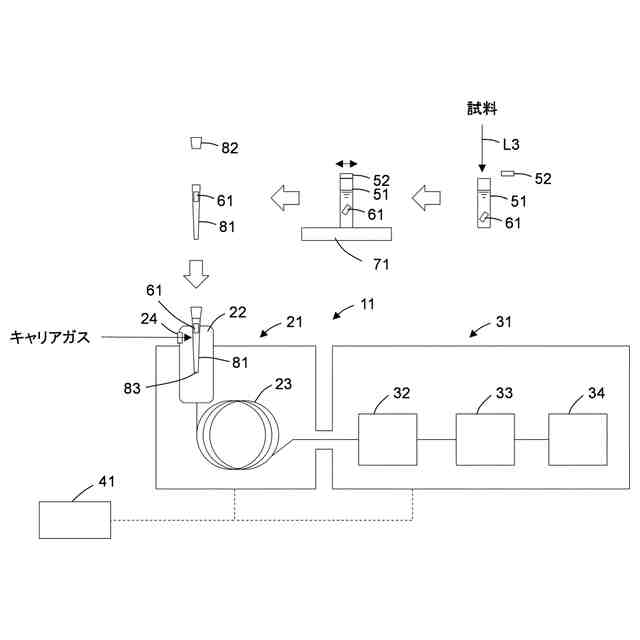
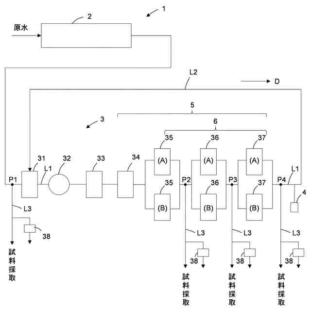
本実施形態が適用される超純水製造システムの概略構成図である。
純水の水質分析に用いる装置と手順を示す概念図である。
攪拌子の概略斜視図である。
実施例1におけるクロマトグラムである。
実施例2におけるクロマトグラムである。
実施例3におけるクロマトグラムである。
実施例4におけるクロマトグラムである。
【発明を実施するための形態】
【0009】
図面を参照して本発明の実施形態について説明する。本実施形態では超純水の水質分析方法と超純水製造システムの運転方法について説明するが、本発明は広く純水の水質分析方法と純水製造システムの運転方法に適用することができる。純水は電気抵抗率が0.1MΩ・cm以上の水を意味し、純水のうち電気抵抗率が1.5MΩ・cm以上(最大値は理論純水の18.24MΩ・cm)の水を超純水という。以下の説明で純水と超純水を区別する必要がない場合、単に純水という場合がある。本実施形態では純水に含まれる有機物を分析目的成分とするが、本発明において分析目的成分は攪拌子で濃縮できるものであれば限定されず、例えば有機物以外の不純物も分析目的成分に含まれる。
【0010】
図1は本実施形態が適用される超純水製造システム1の概略構成を示している。超純水製造システム1は原水から純水を製造する1次純水システム2と、1次純水システム2で製造された純水からさらに不純物を除去しユースポイント4で要求される水質の超純水を製造する2次純水システム(以下、サブシステム3という)と、を有している。1次純水システム2は原水タンク、熱交換器、除濁膜装置、活性炭塔、脱炭酸膜装置、逆浸透膜装置、紫外線照射装置、脱気膜装置など(図示せず)を備えている。
(【0011】以降は省略されています)
この特許をJ-PlatPat(特許庁公式サイト)で参照する
関連特許
オルガノ株式会社
UV照射装置
1か月前
オルガノ株式会社
薬液精製システム
2か月前
オルガノ株式会社
水処理装置および水処理方法
2か月前
オルガノ株式会社
水処理装置および水処理方法
2か月前
オルガノ株式会社
ろ過膜の洗浄方法及び洗浄装置
28日前
オルガノ株式会社
尿素処理装置および尿素処理方法
2か月前
オルガノ株式会社
水処理システムおよびその運転方法
2か月前
オルガノ株式会社
気体の処理方法および気体の処理装置
1か月前
オルガノ株式会社
冷却水系制御方法および冷却水系制御装置
2か月前
オルガノ株式会社
タンパク質洗浄剤およびタンパク質洗浄方法
1か月前
オルガノ株式会社
情報処理装置、判定方法および水処理システム
2か月前
オルガノ株式会社
不純物の検出方法、検査プレート及び検出装置
1か月前
オルガノ株式会社
電気式脱イオン水製造システム及びその運用方法
12日前
オルガノ株式会社
電池収容体、電池モジュール、および電池パック
2か月前
オルガノ株式会社
電池収容体、電池モジュール、および電池パック
1か月前
オルガノ株式会社
水処理設備、制御装置、運転方法およびプログラム
2か月前
オルガノ株式会社
純水の水質分析方法及び純水製造システムの運転方法
今日
オルガノ株式会社
冷却水系の薬注制御方法および冷却水系の薬注制御装置
2か月前
オルガノ株式会社
純水製造システム、回収処理水供給装置および純水製造方法
2か月前
オルガノ株式会社
水処理システム
20日前
オルガノ株式会社
水処理装置、溶存ガス測定装置の設置方法、および溶存ガス測定方法
26日前
オルガノ株式会社
イオン交換体を有する組立体及びその製造方法、並びにイオン交換装置
12日前
オルガノ株式会社
純水製造システムおよび純水製造方法
20日前
オルガノ株式会社
強酸性カチオン交換樹脂の製造方法および製造設備、ならびに該強酸性カチオン交換樹脂の再利用方法
1か月前
オルガノ株式会社
強塩基性アニオン交換樹脂の製造方法および製造設備、ならびに該強塩基性アニオン交換樹脂の再利用方法
1か月前
株式会社イシダ
表示装置
今日
個人
視触覚センサ
5日前
個人
採尿及び採便具
1か月前
日本精機株式会社
検出装置
1か月前
個人
計量機能付き容器
1か月前
日本精機株式会社
液面検出装置
今日
甲神電機株式会社
電流検出装置
1か月前
日本精機株式会社
発光表示装置
13日前
愛知電機株式会社
外観検査装置
1日前
愛知電機株式会社
外観検査方法
1日前
株式会社カクマル
境界杭
20日前
続きを見る
他の特許を見る