TOP
|
特許
|
意匠
|
商標
特許ウォッチ
Twitter
他の特許を見る
10個以上の画像は省略されています。
公開番号
2025179027
公報種別
公開特許公報(A)
公開日
2025-12-09
出願番号
2025085553
出願日
2025-05-22
発明の名称
改善された動的性能を有するノーマリオフ型HEMTデバイス及びその製造方法
出願人
エスティマイクロエレクトロニクス インターナショナル エヌ.ヴイ.
代理人
個人
,
個人
,
個人
,
個人
,
個人
主分類
H10D
30/87 20250101AFI20251202BHJP()
要約
【課題】オン状態抵抗の劣化を低減したノーマリオフ型HEMTデバイスを提供する。
【解決手段】高い電子移動度(HEMT)デバイス20は、第1の導電領域36aと、第1の導電部分上に積層された第2の導電領域36bとを含むソース電極36を備える。第1の導電領域は、チャネル層30の2次元ガス、2DEGを完全に貫通して延びており、チャネル層とのオーミック型コンタクトを可能にする1つ以上の材料からなり、仕事関数値(例えば3.5~4.5eV)が低減された金属材料からなる。第2の導電領域は、埋め込み層25とのオーミック型コンタクトを可能にする1つ以上の材料からなり、仕事関数値が高い(例えば4.5~5.6eV)金属材料からなる。第1の導電領域の仕事関数値は、第2の導電領域の仕事関数値よりも低い。
【選択図】図2
特許請求の範囲
【請求項1】
HEMTデバイスであって、
半導体本体であって、
基板と、
前記基板上の、P型ドープされた埋め込み層と、
前記埋め込み層上のヘテロ構造であって、使用時に、前記HEMTデバイスの導電チャネルを収容するように構成された真性型のチャネル層を含む、ヘテロ構造と、
を含む、半導体本体と、
前記半導体本体内に延びているソースコンタクトと、
を備え、
前記ソースコンタクトが、
前記ヘテロ構造を部分的に貫通して前記チャネル層まで延びて、前記チャネル層内で終端している第1のL字型コンタクト部分と、
前記ヘテロ構造を完全に貫通し、前記埋め込み層を部分的に貫通して延びて、前記埋め込み層内で終端している第2のL字型コンタクト部分と、
を含み、
前記第1のコンタクト部分が、第1の金属材料であって、前記チャネル層と直接電気的に接触して延びており、かつ前記チャネル層とオーミックコンタクトを形成する、第1の金属材料を含み、
前記第2のコンタクト部分が、前記第1の金属材料とは異なる第2の金属材料であって、前記埋め込み層と直接電気的に接触して延びており、かつ前記埋め込み層とオーミックコンタクトを形成する、第2の金属材料を含む、
HEMTデバイス。
続きを表示(約 780 文字)
【請求項2】
前記第1の金属材料が、3.5~4.5eVの範囲の仕事関数値を有する、請求項1に記載のHEMTデバイス。
【請求項3】
前記第2の金属材料が、4.5~5.6eVの範囲の仕事関数値を有する、請求項1に記載のHEMTデバイス。
【請求項4】
前記第1の金属材料が、前記第2の金属材料の第2の仕事関数値よりも低い第1の仕事関数値を有する、請求項1に記載のHEMTデバイス。
【請求項5】
前記第1の金属材料が、チタンを含む、請求項1に記載のHEMTデバイス。
【請求項6】
前記第2の金属材料が、ニッケルを含む、請求項1に記載のHEMTデバイス。
【請求項7】
前記第1のコンタクト部分が、積層体に配置されたTi、AlCu、及びTiNを含む複数の層状材料を含む、請求項1に記載のHEMTデバイス。
【請求項8】
前記第2のコンタクト部分が、積層体に配置されたNi、Au、Pt、及びAgを含む複数の層状材料を含む、請求項1に記載のHEMTデバイス。
【請求項9】
前記半導体本体が、前記基板と前記埋め込み層との間にバッファ層をさらに含み、前記バッファ層が、AlGaNからなり、前記埋め込み層が、P型ドープされたGaNからなり、前記チャネル層が、真性型のGaNからなり、前記ヘテロ構造が、AlGaNからなるバリア層であって、前記チャネル層の上にあり、かつ前記チャネル層と直接接触している、バリア層をさらに含む、請求項1に記載のHEMTデバイス。
【請求項10】
前記半導体本体内に延びて、前記ヘテロ構造内で終端しているリセスゲート領域をさらに備える、請求項1に記載のHEMTデバイス。
(【請求項11】以降は省略されています)
発明の詳細な説明
【技術分野】
【0001】
本開示は、HEMTデバイス及びその製造方法に関し、特に、オン状態抵抗の劣化を低減したノーマリオフ型HEMTデバイスに関する。
続きを表示(約 2,300 文字)
【背景技術】
【0002】
関連技術の説明
ヘテロ構造を有するHEMTトランジスタは、特に窒化ガリウム(GaN)及び窒化アルミニウムガリウム(AlGaN)において知られており、その界面において、導電チャネル、特に2次元電子ガス(2DEG)が形成され得る。例えば、HEMTトランジスタは、その高い降伏閾値と、導電チャネルの高い電子移動度及び電荷キャリア密度とにより、高周波スイッチ及び電力スイッチとしての使用が評価されている。さらに、HEMTトランジスタの導電チャネルにおける高い電流密度により、導電チャネルの低いオン状態抵抗(又は単にR
ON
)を得ることが可能になる。
【0003】
ゲート電極がAlGaN/GaNヘテロ構造の上に延びている既知のタイプのHEMTトランジスタでは、ヘテロ構造にゲート電圧が印加されていない場合でも、高密度の電荷キャリアが存在するため、導電チャネルはノーマリオンである。
【0004】
安全上の理由から、またHEMTトランジスタの駆動回路を簡略化し、それによってHEMTトランジスタの産業用途での使用を可能にするために、導電チャネルがノーマリオフであるHEMTトランジスタが導入されている。ノーマリオフHEMT、例えばリセスゲート型又はp-GaNゲート型HEMTを得るために、様々なアプローチが提案されている。
【発明の概要】
【0005】
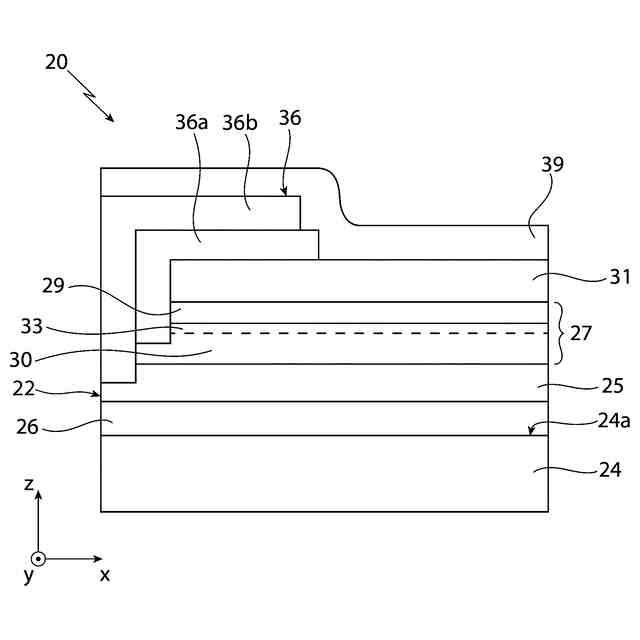
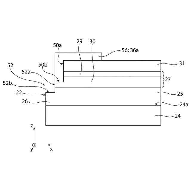
本開示によれば、HEMTデバイス及びその製造方法が提供される。HEMTデバイスは、基板を含む半導体本体と、基板上のP型ドープされた埋め込み層と、埋め込み層上のヘテロ構造であって、使用時に、HEMTデバイスの導電チャネルを収容するように構成された真性型チャネル層を含む、ヘテロ構造と、を備える。ソースコンタクトは、半導体本体内に延びており、第1のL字型コンタクト部分であって、へテロ構造を部分的に貫通してチャネル層まで延びて、チャネル層内で終端している第1のL字型コンタクト部分と、第2のL字型コンタクト部分であって、ヘテロ構造を完全に貫通し、埋め込み層を部分的に貫通して延びて、埋め込み層内で終端している第2のL字型コンタクト部分と、を含む。第1のコンタクト部分は、第1の金属材料であって、チャネル層と直接電気的に接触して延びており、かつチャネル層とオーミックコンタクトを形成する、第1の金属材料を含み、第2のコンタクト部分は、第1の金属材料とは異なる第2の金属材料であって、埋め込み層と直接電気的に接触して延びており、かつ埋め込み層とオーミックコンタクトを形成する、第2の金属材料を含む。
【図面の簡単な説明】
【0006】
本開示をよりよく理解するために、添付の図面を参照して、純粋に非限定的な例として、いくつかの実施形態を以下説明する。
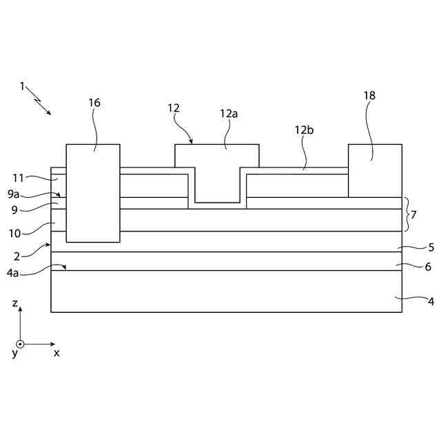
既知のタイプの一実施形態によるHEMTの一部分を側断面図で概略的に示す。
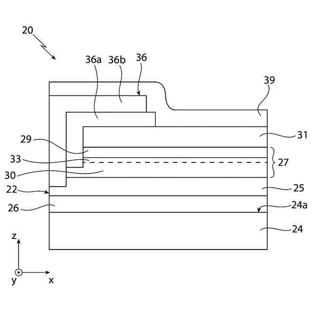
本開示の一実施形態によるHEMTの第1の部分を側断面図で概略的に示す。
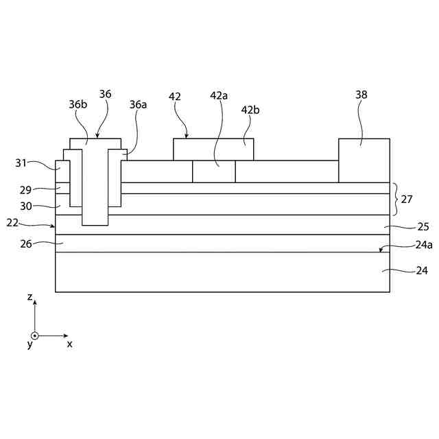
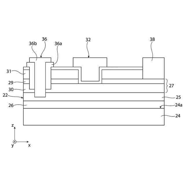
本開示の一実施形態によるHEMTの図2の第1の部分を含む第2の部分を側断面図で概略的に示す。
本開示のさらなる実施形態によるHEMTの図2の第1の部分を含む第2の部分を側断面図で概略的に示す。
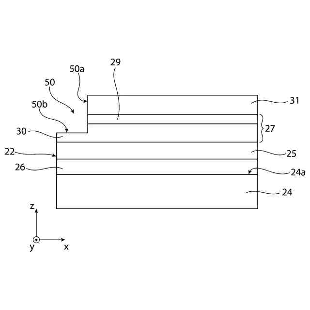
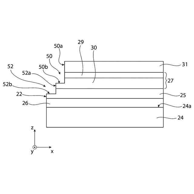
本開示の一実施形態による、図2のHEMTの製造ステップを示す。
本開示の一実施形態による、図2のHEMTの製造ステップを示す。
本開示の一実施形態による、図2のHEMTの製造ステップを示す。
本開示の一実施形態による、図2のHEMTの製造ステップを示す。
本開示の一実施形態による、図2のHEMTの製造ステップを示す。
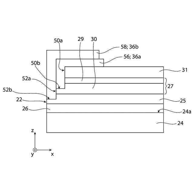
本開示のさらなる実施形態による、図2のHEMTの製造ステップを示す。
本開示のさらなる実施形態による、図2のHEMTの製造ステップを示す。
本開示のさらなる実施形態による、図2のHEMTの製造ステップを示す。
本開示のさらなる実施形態による、図2のHEMTの製造ステップを示す。
本開示のさらなる実施形態による、図2のHEMTの製造ステップを示す。
本開示のさらなる実施形態によるHEMTの一部分を、側断面図で概略的に示す。
【発明を実施するための形態】
【0007】
図1は、互いに直交する軸x、y、zの三軸系における既知のタイプのHEMTデバイス1の一部分を、xz平面における側断面図で概略的に示す。特に、HEMTトランジスタ1は、リセスゲート型トランジスタである。
【0008】
HEMTトランジスタ1は、半導体本体2を含み、半導体本体2は、基板4と、基板4の面4aの上に延びているバッファ層6と、P型ドープされたGaNからなる埋め込み層5と、埋め込み層5上に延びているヘテロ構造7と、を含む。
【0009】
基板4は、例えば、シリコン、シリコンカーバイド(SiC)、サファイア(Al
2
O
3
)、又はGaNである。
【0010】
バッファ層6は、真性型又は補償型の窒化アルミニウムガリウム(AlGaN)又は窒化ガリウム(GaN)からなる(例えば、製造プロセスの結果として存在する望ましくないN型不純物を補償するために、炭素及び/又は鉄ドーピングが採用され得る)。
(【0011】以降は省略されています)
この特許をJ-PlatPat(特許庁公式サイト)で参照する
関連特許
個人
積和演算用集積回路
1か月前
サンケン電気株式会社
半導体装置
1か月前
旭化成株式会社
発光素子
1か月前
日機装株式会社
半導体発光装置
27日前
ローム株式会社
抵抗チップ
1か月前
ローム株式会社
半導体装置
11日前
富士電機株式会社
半導体装置
1か月前
三菱電機株式会社
半導体装置
19日前
三菱電機株式会社
半導体装置
今日
株式会社東芝
半導体装置
19日前
株式会社半導体エネルギー研究所
表示装置
11日前
三菱電機株式会社
半導体装置
1か月前
三菱電機株式会社
半導体装置
6日前
ローム株式会社
半導体集積回路
1か月前
日亜化学工業株式会社
発光装置
1か月前
サンケン電気株式会社
半導体装置
19日前
ローム株式会社
窒化物半導体装置
1か月前
株式会社半導体エネルギー研究所
発光デバイス
27日前
ローム株式会社
半導体装置
1か月前
ローム株式会社
半導体装置
4日前
株式会社半導体エネルギー研究所
発光デバイス
1か月前
ローム株式会社
半導体装置
1か月前
ローム株式会社
半導体装置
1か月前
日亜化学工業株式会社
発光素子
1か月前
大日本印刷株式会社
太陽電池
1か月前
新電元工業株式会社
半導体素子
4日前
新電元工業株式会社
半導体素子
4日前
新電元工業株式会社
半導体素子
4日前
日亜化学工業株式会社
発光装置
4日前
日亜化学工業株式会社
発光装置
1か月前
ローム株式会社
半導体装置
19日前
今泉工業株式会社
光発電装置及びその製造方法
1か月前
日本ゼオン株式会社
構造体
1か月前
日亜化学工業株式会社
発光装置
1か月前
日亜化学工業株式会社
発光素子
1か月前
株式会社東芝
半導体装置及びウエーハ
1か月前
続きを見る
他の特許を見る