TOP
|
特許
|
意匠
|
商標
特許ウォッチ
Twitter
他の特許を見る
公開番号
2025178999
公報種別
公開特許公報(A)
公開日
2025-12-09
出願番号
2024226361
出願日
2024-12-23
発明の名称
低温耐性性状を持つタキフグ・オブスキュラスの全雌新種育成方法
出願人
南京師範大学
代理人
弁理士法人コスモス国際特許商標事務所
主分類
A01K
61/10 20170101AFI20251202BHJP(農業;林業;畜産;狩猟;捕獲;漁業)
要約
【課題】低温耐性性状を持つ全雌タキフグ・オブスキュラス新種育成方法を開示する。
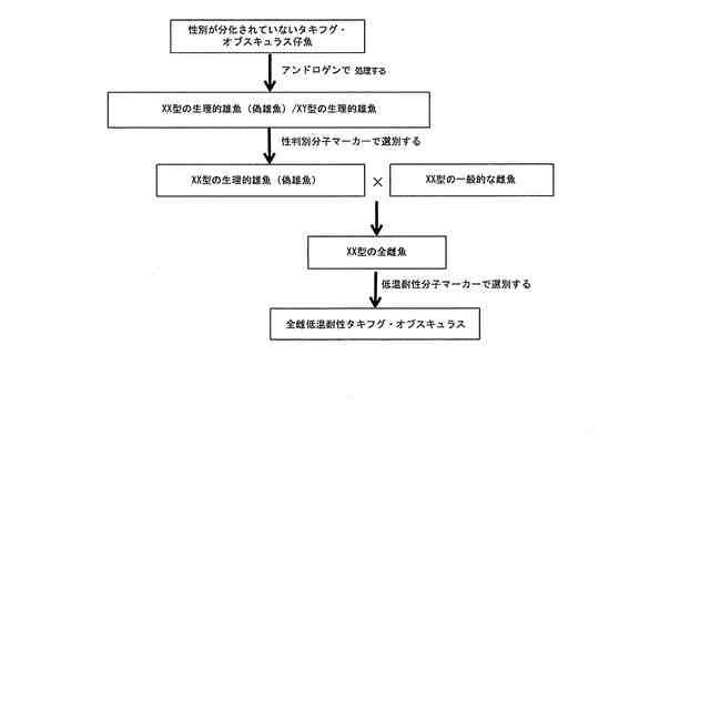
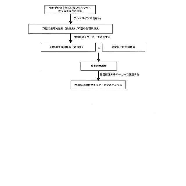
【解決手段】本発明の育成方法では、タキフグ・オブスキュラスの性転換をホルモン誘導して性判別分子マーカーと組み合わせて偽雄タキフグ・オブスキュラスを取得し、偽雄魚と正常な雌タキフグ・オブスキュラスとを交配させて全雌タキフグ・オブスキュラスを取得し、最終的に全雌タキフグ・オブスキュラスから、低温耐性性状を持つ個体を低温耐性分子マーカーで選別し、低温耐性性状の全雌新品種を取得する。本発明では、タキフグ・オブスキュラス性別及び低温耐性のSNP分子マーカーを発見し、これら2つの重要な要素を共同利用して総合的な選別育成を行うことにより、全雌新品種を短時間に大量選別育成することができる。また、本発明で得られた低温耐性性状を持つ全雌タキフグ・オブスキュラスは、新品種の育成に優れた母体資源を提供し、広い応用見通しを有する。
【選択図】図1
特許請求の範囲
【請求項1】
低温耐性性状を持つタキフグ・オブスキュラスの全雌新種育成方法であって、
性転換したタキフグ・オブスキュラス仔魚を性判別分子マーカーで選別し、偽雄タキフグ・オブスキュラスを取得して正常な雌タキフグ・オブスキュラスと交配させて全雌タキフグ・オブスキュラスを取得する操作ステップ(1)と、
ステップ(1)において取得された全雌タキフグ・オブスキュラスから、低温耐性性状を持つ個体をSNP部位の塩基配列がSEQ ID NO.2に示される低温耐性性状分子マーカーで選別し、150bpのストリップをPCR増幅し且つ遺伝子型がGGとして検出される場合、全雌低温耐性タキフグ・オブスキュラスである操作ステップ(2)とを含む、ことを特徴とする低温耐性性状を持つタキフグ・オブスキュラスの全雌新種育成方法。
続きを表示(約 1,600 文字)
【請求項2】
ステップ(1)における前記性転換は、ホルモン誘導方法によって達成される、ことを特徴とする請求項1に記載の低温耐性性状を持つタキフグ・オブスキュラスの全雌新種育成方法。
【請求項3】
前記ホルモン誘導方法は、飼料に17α-メチルテストステロンを添加することである、請求項2に記載の低温耐性性状を持つタキフグ・オブスキュラスの全雌新種育成方法。
【請求項4】
15日齢前の孵化から体長3.33cmまでのタキフグ・オブスキュラスに給餌するために、前記17α-メチルテストステロンを用いて使用量30-60mg/Lで輪虫を浸漬し、
15~40日齢のタキフグ・オブスキュラス苗に給餌するために、30-60mg/Lでアルテミアを浸漬し、
40~100日齢のタキフグ・オブスキュラスに給餌するために、30-60μg/gで飼料に添加する、ことを特徴とする請求項3に記載の低温耐性性状を持つタキフグ・オブスキュラスの全雌新種育成方法。
【請求項5】
ステップ(1)における前記性判別分子マーカーのSNP部位の塩基配列は、SEQ ID NO.1に示され、
PCR増幅結果が250bp及び330bpの2つのストリップである場合、個体は、正常な雌魚又は偽雄魚であり、
PCR増幅結果が1本の330bpのストリップである場合、個体は、正常な雄魚である、ことを特徴とする請求項1に記載の低温耐性性状を持つタキフグ・オブスキュラスの全雌新種育成方法。
【請求項6】
PCR増幅に用いられるプライマー配列は、SEQ ID NO.3~4に示される、ことを特徴とする請求項5に記載の低温耐性性状を持つタキフグ・オブスキュラスの全雌新種育成方法。
【請求項7】
PCR増幅に用いられるプログラムは、以下のとおりであり、
step1:95℃で3分予め変性し、
step2:95℃で30秒変性し、
step3:51.5℃で30秒アニールし、
step4:72℃で30秒延ばし、
step2~4を35回繰り返し、
step5:72℃で5分延ばす、ことを特徴とする請求項5に記載の低温耐性性状を持つタキフグ・オブスキュラスの全雌新種育成方法。
【請求項8】
ステップ(1)において偽雄魚と正常な雌タキフグ・オブスキュラスとを交配させる時、手動で産卵促進し、
具体的には、雌魚にHCG 180U/kg+排卵誘発LRH-A2 0.8μg/kgを1回目に注射し、偽雄魚の場合、使用量を半減し、
24時間後に2回目の注射を行い、雌魚の注射量は、HCG 360U/kg+排卵誘発LRH-A2 1.6μg/kgであり、偽雄魚の場合、使用量を半減する、ことを特徴とする請求項1に記載の低温耐性性状を持つタキフグ・オブスキュラスの全雌新種育成方法。
【請求項9】
ステップ(2)におけるPCR増幅に用いられるプライマー配列は、SEQ ID NO.5~6に示される、ことを特徴とする請求項1に記載の低温耐性性状を持つタキフグ・オブスキュラスの全雌新種育成方法。
【請求項10】
ステップ(2)におけるPCR増幅に用いられるプログラムは、以下のとおりであり、
step1:94℃で4分予め変性し、
step2:94℃で30秒変性し、
step3:51.5℃で1分アニールし、
step4:72℃で40秒延ばし、
step2~4を30回繰り返し、
step5:72℃で10分延ばす、ことを特徴とする請求項1に記載の低温耐性性状を持つタキフグ・オブスキュラスの全雌新種育成方法。
発明の詳細な説明
【技術分野】
【0001】
本発明は、水産動物の育種分野に属し、より具体的には、低温耐性性状を持つ全雌タキフグ・オブスキュラス新種育成方法に関する。
続きを表示(約 2,200 文字)
【背景技術】
【0002】
中国の伝統的で貴重な食用魚類として、長江の三大水産物の1つであるタキフグ・オブスキュラス(Takifugu fasciatus)は、これまでおいしくてやさしくて、刺が少なく滑らかな食感によって、多くの食いしん坊を征服してきた。特に中国の長江デルタ、日本や韓国などでは、この魚を食べる歴史が長い。タキフグ・オブスキュラスの養殖と毒性抑制技術の成熟に伴い、農業農村部弁公庁と国家食品医薬品監督管理総局は、2016年に共同で「養殖トラフグと養殖タキフグ・オブスキュラスの加工経営を条件付きで開放することに関する通知」を発表し、タキフグ・オブスキュラスは、中国の広東、福建や江蘇省などの省での養殖面積が徐々に拡大し、中国の重要な養殖経済魚類となっている。近年、中国のタキフグ・オブスキュラスの養殖規模が拡大していることに伴い、魚苗の需要量は、ますます増大している。しかし、タキフグ・オブスキュラスの親魚養殖と魚苗の繁殖に関する企業は、親本の更新と選択育成を重視せず、親魚の老化、近親繁殖と品質の衰退現象を引き起こし、累代の繁殖を経て稚魚の成長が遅く、活着率が低く、飼料の利用効率が低下する。また、タキフグ・オブスキュラスの最適な成長温度範囲は、23-32℃であり、19℃で摂食リズムが低下し、13℃で凍傷死した。現在、タキフグ・オブスキュラスの養殖新品種であるタキフグ・オブスキュラス「中洋1号」(中国品種審査認定GS-01-003-2018)が耐えることができる最も低い温度は、7~8度に達しているが、タキフグ・オブスキュラスの養殖地域の範囲を拡大し、冬の時間を減らし、経済効果を高めるには、低温耐性をさらに強化する必要がある。従って、成長が速く、低温耐性がより強いタキフグ・オブスキュラスの新種を育成することが特に重要である。
【0003】
トラフグ属の魚類の中で、タキフグ・オブスキュラスは、明らかな性的二形を持っており、つまり雌個体の成長速度は、雄より速く、性成熟した雌個体は、より大きく、体重、体長がいずれも雄を上回り、より高い飼料転化率を持っている。しかし、性成熟前にタキフグ・オブスキュラスの性別を外観的に区別することはできず、性成熟後にのみ、魚類の腹部を押して精液や卵子を観察することで雌雄を同定することができ、この方法は、時間がかかり、魚類の養殖コストが高い。もう1つの方法は、魚類の性腺を解剖し、性腺組織の切片観察を行い、幼魚段階で性別同定を完了することができるが、魚類に不可逆的な傷害を与え、一般的には、実験室の研究にのみ用いられる。どちらの方法も実際の生産需要を満たすことは、難しい。そのため、タキフグ・オブスキュラスを同定する性判別分子マーカーを開発し、全雌タキフグ・オブスキュラスを育成することでタキフグ・オブスキュラスの成長速度の低下を解決することができる。
【発明の概要】
【発明が解決しようとする課題】
【0004】
発明目的:本発明の目的は、成長速度が速く、従来の中国品種審査認定新品種である低温耐性タキフグ・オブスキュラス「中洋1号」の耐えられる温度より2~3℃向上するタキフグ・オブスキュラスの全雌新種育成方法を提供することである。
【課題を解決するための手段】
【0005】
技術的解決手段:本発明に記載の低温耐性性状を持つタキフグ・オブスキュラスの全雌新種育成方法であって、
性転換したタキフグ・オブスキュラス仔魚を性判別分子マーカーで選別し、偽雄タキフグ・オブスキュラスを取得して正常な雌タキフグ・オブスキュラスと交配させて全雌タキフグ・オブスキュラスを取得する操作ステップ(1)と、
ステップ(1)において取得された全雌タキフグ・オブスキュラスから、低温耐性性状を持つ個体をSNP部位の塩基配列がSEQ ID NO.2に示される低温耐性性状分子マーカーで選別し、150bpのストリップをPCR増幅し且つ遺伝子型がGGとして検出される場合、全雌低温耐性タキフグ・オブスキュラスである操作ステップ(2)とを含む。
【0006】
ステップ(1)における前記性転換は、ホルモン誘導方法によって達成される。
【0007】
前記ホルモン誘導方法は、飼料に17α-メチルテストステロンを添加することである。
【0008】
15日齢前の孵化から体長3.33cmまでのタキフグ・オブスキュラスに給餌するために、前記17α-メチルテストステロンを用いて使用量30-60mg/Lで輪虫を浸漬し、15~40日齢のタキフグ・オブスキュラス苗に給餌するために、30-60mg/Lでアルテミアを浸漬し、40~100日齢のタキフグ・オブスキュラスに給餌するために、30-60μg/gで飼料に添加する。
【0009】
ステップ(1)における前記性判別分子マーカーのSNP部位の塩基配列は、SEQ ID NO.1に示され、PCR増幅結果が250bp及び330bpの2つのストリップである場合、個体は、正常な雌魚又は偽雄魚であり、PCR増幅結果が1本の330bpのストリップである場合、個体は、正常な雄魚である。
【0010】
PCR増幅に用いられるプライマー配列は、SEQ ID NO.3~4に示される。
(【0011】以降は省略されています)
この特許をJ-PlatPat(特許庁公式サイト)で参照する
関連特許
南京師範大学
低温耐性性状を持つタキフグ・オブスキュラスの全雌新種育成方法
今日
個人
産卵床
11日前
個人
草刈り鋏
1か月前
個人
釣り用錘
29日前
個人
平板植栽
12日前
個人
蠅捕獲器
1か月前
個人
果実袋
11日前
個人
噴霧器ノズル
27日前
個人
蜜蜂保護装置
1か月前
個人
養殖器具
11日前
個人
移動体草刈り機
11日前
個人
種子の製造方法
1か月前
個人
草刈機用回転刃
1か月前
個人
昆虫捕集器
1か月前
個人
水田排水量調整器具
11日前
株式会社剛樹
釣り竿
25日前
個人
可動リップ付きルアー
1か月前
株式会社ナベル
表示システム
1か月前
個人
餌付き針の餌取り防止具
1か月前
井関農機株式会社
圃場作業機
1か月前
井関農機株式会社
圃場作業機
4日前
個人
ブルーカーボンシステム
1か月前
個人
四足動物用装着具
1か月前
有限会社信英精密
括り罠
19日前
積水樹脂株式会社
シート止め具
11日前
みのる産業株式会社
除草機
1か月前
松山株式会社
収穫機
1か月前
みのる産業株式会社
除草機
1か月前
井関農機株式会社
苗移植機
19日前
井関農機株式会社
作業車両
1か月前
株式会社サワエ
害虫捕獲器
4日前
株式会社オーツボ
海苔箱船
1か月前
個人
網口高さのベクトル底引き網
11日前
井関農機株式会社
作業車両
1か月前
個人
粘着板で挟むネズミ捕り装置
11日前
松山株式会社
収穫機
1か月前
続きを見る
他の特許を見る