TOP
|
特許
|
意匠
|
商標
特許ウォッチ
Twitter
他の特許を見る
10個以上の画像は省略されています。
公開番号
2025178979
公報種別
公開特許公報(A)
公開日
2025-12-09
出願番号
2024085903
出願日
2024-05-27
発明の名称
塗布装置及び加工機
出願人
デュプロ精工株式会社
代理人
個人
主分類
B31B
50/62 20170101AFI20251202BHJP(紙,板紙または紙と同様の方法で加工される材料からなる物品の製造;紙,板紙または紙と同様の方法で加工される材料の加工)
要約
【課題】 本発明の目的は、折り畳まれた折片に適切に接着剤を塗布可能な塗布装置及び加工機を提供することである。
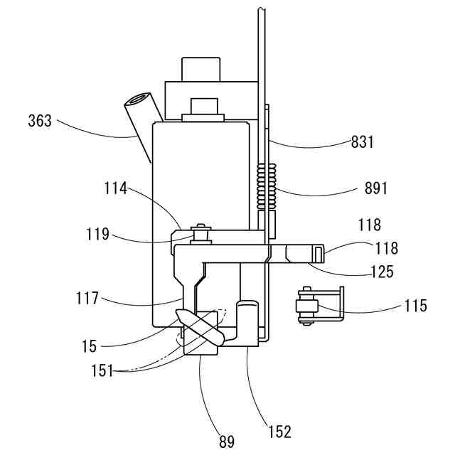
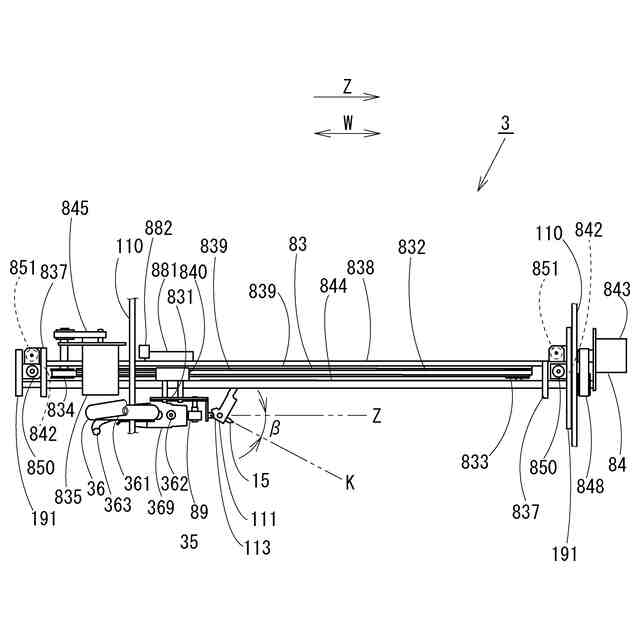
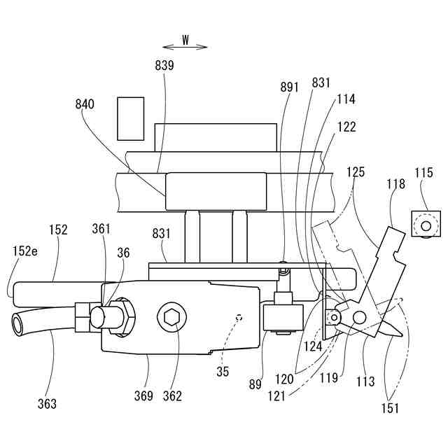
【解決手段】塗布装置は、シートSに接着剤Gを塗布する塗布装置であって、前記シートSの折片FPが折線Cに沿って折られた前記シートSに、前記接着剤Gを塗布するためのノズル35と、前記ノズル35を前記シートSに対して相対移動する移動部83と、前記移動部83によって前記ノズル35を前記シートSに対して相対移動するとき、前記折片FPを案内するガイド15とを備え、前記ガイド15は、前記移動部83によって前記ノズル35を前記シートSに対して相対移動し、接着剤Gを塗布する塗布方向Zに交差する向きに延在するガイド部材151を備えた。
【選択図】図13
特許請求の範囲
【請求項1】
シートに接着剤を塗布する塗布装置であって、
前記シートの折片が折線に沿って折られた前記シートに、前記接着剤を塗布するためのノズルと、
前記ノズルを前記シートに対して相対移動する移動部と、
前記移動部によって前記ノズルを前記シートに対して相対移動するとき、前記折片を案内するガイドとを備え、
前記ガイドは、前記移動部によって前記ノズルを前記シートに対して相対移動し、接着剤を塗布する塗布方向に交差する向きに延在するガイド部材を備えた塗布装置。
続きを表示(約 1,000 文字)
【請求項2】
前記折線を揺動中心として前記シートの本体に向けて前記折片が揺動される揺動方向に応じて、前記ガイド部材が延在する延在方向を変更可能である請求項1に記載の塗布装置。
【請求項3】
前記延在方向を切り換える切換部を備えた請求項2に記載の塗布装置。
【請求項4】
前記切換部は、前記ノズルを搭載するキャリッジに設置され、前記キャリッジを前記移動部によって接触部材に対して相対移動することで前記接触部材に接触し、前記延在方向を切り換える切換部材と、
前記切換部材を切換位置と退避位置との間で移動する切換移動部とを備える請求項3に記載の塗布装置。
【請求項5】
前記延在方向が、前記折片を前記本体に重ねた状態で、前記塗布方向で前記ガイド部材の下流側部分の方が上流側部分より前記折線に近く、前記上流側部分の方が前記下流側部分より前記折線に対向する前記折片の端縁に近くなる請求項2に記載の塗布装置。
【請求項6】
前記シートを搬送するコンベアを備え、
前記コンベアによる前記シートの搬送方向に交差する方向に沿った前記折線を揺動中心として、前記搬送方向上流側に位置する前記シートの本体に向けて前記折片が揺動される場合に、前記ガイド部材は、前記塗布方向で上流側部分の方が下流側部分より前記搬送方向上流側に配置される請求項1に記載の塗布装置。
【請求項7】
前記折片は、前記搬送方向に直交する幅方向に沿った前記折線を揺動中心として、前記搬送方向上流側へ向けて揺動される請求項6に記載の塗布装置。
【請求項8】
前記折片が、前記コンベアによって搬送される前記シートの前端に位置する請求項6に記載の塗布装置。
【請求項9】
前記シートを搬送するコンベアを備え、
前記コンベアによる前記シートの搬送方向に交差する向きに沿った前記折線を揺動中心として、前記搬送方向下流側に位置する前記シートの本体に向けて前記折片が揺動される場合に、前記ガイド部材は、前記塗布方向で上流側部分の方が下流側部分より前記搬送方向下流側に配置される請求項1に記載の塗布装置。
【請求項10】
前記折片は、前記搬送方向に直交する幅方向に沿った前記折線を揺動中心として、前記搬送方向下流側へ向けて揺動される請求項8に記載の塗布装置。
(【請求項11】以降は省略されています)
発明の詳細な説明
【技術分野】
【0001】
本発明は、折装置に関する。
続きを表示(約 1,000 文字)
【背景技術】
【0002】
従来、搬送されてきたシートを折り畳む折りたたみ装置が知られている。下記特許文献1には、折りたたみ装置が開示されている。
【先行技術文献】
【特許文献】
【0003】
特開昭49-49780号公報
【発明の概要】
【発明が解決しようとする課題】
【0004】
上記特許文献1に記載の装置では、フラップに接着剤を塗布する際、シートの厚さや種類によっては、折り畳まれたフラップがシートのコシが強い場合等に、シートの本体から立ち上がりやすく、フラップに適切に接着剤を塗布することが困難であった。
【0005】
本発明の目的は、折り畳まれた折片に適切に接着剤を塗布可能な塗布装置及び加工機を提供することである。
【課題を解決するための手段】
【0006】
上記課題を解決するため、本発明の塗布装置は、シートに接着剤を塗布する塗布装置であって、前記シートの折片が折線に沿って折られた前記シートに、前記接着剤を塗布するためのノズルと、前記ノズルを前記シートに対して相対移動する移動部と、前記移動部によって前記ノズルを前記シートに対して相対移動するとき、前記折片を案内するガイドとを備え、前記ガイドは、前記移動部によって前記ノズルを前記シートに対して相対移動し、接着剤を塗布する塗布方向に交差する向きに延在するガイド部材を備えた。
【0007】
また、前記折線を揺動中心として前記シートの本体に向けて前記折片が揺動される揺動方向に応じて、前記ガイド部材が延在する延在方向を変更可能である。
【0008】
そして、前記延在方向を切り換える切換部を備えた。
【0009】
更に、前記切換部は、前記ノズルを搭載するキャリッジに設置され、前記キャリッジを前記移動部によって接触部材に対して相対移動することで前記接触部材に接触し、前記延在方向を切り換える切換部材と、前記切換部材を切換位置と退避位置との間で移動する切換移動部とを備える。
【0010】
更に、前記延在方向が、前記折片を前記本体に重ねた状態で、前記塗布方向で前記ガイド部材の下流側部分の方が上流側部分より前記折線に近く、前記上流側部分の方が前記下流側部分より前記折線に対向する前記折片の端縁に近くなる。
(【0011】以降は省略されています)
この特許をJ-PlatPat(特許庁公式サイト)で参照する
関連特許
個人
高剛性段ボール
9か月前
デュプロ精工株式会社
加工機
2日前
大森機械工業株式会社
箱詰め装置
2日前
個人
紙製ダンボールの加工器具、成形方法
5か月前
株式会社メタルクリエイション
窓貼機
6か月前
エントラスト株式会社
袋体の製造方法
7か月前
株式会社メタルクリエイション
貼合機
1か月前
デュプロ精工株式会社
塗布装置及び加工機
2日前
東罐興業株式会社
シート状部材搬送装置
2か月前
個人
パッケージ箱作成用具およびパッケージ箱作成方法
4か月前
株式会社ユーシン
段ボール部材、
5か月前
サクラパックス株式会社
矯正装置
6か月前
株式会社ユウコス
シート加工装置
6か月前
三菱重工機械システム株式会社
処理装置
8か月前
株式会社アプリス
カップ容器及び製造方法
4か月前
東罐興業株式会社
テープ搬送装置およびテープ搬送方法
2か月前
株式会社ダイワハイテックス
箱型製造装置、及び箱型製造方法
8か月前
トヨタ自動車株式会社
フィルム製造装置及びフィルム製造方法
8か月前
TOPPANホールディングス株式会社
トレー製造装置
9か月前
カモ井加工紙株式会社
付箋及び付箋の製造方法
1か月前
東洋アルミエコープロダクツ株式会社
保持枠付き容器の組み立て治具
3か月前
株式会社東京自働機械製作所
ジッパ貼り付け装置
6か月前
エステー産業株式会社
収容容器の製造方法及び製造装置
8か月前
三菱重工機械システム株式会社
搬送装置、搬送方法
2か月前
王子ホールディングス株式会社
キッチンタオルロール
8か月前
株式会社協和製作所
積層段ボールシート及び製造方法
2か月前
株式会社トーモク
封筒型パッケージの製造方法
8か月前
株式会社トーモク
封筒型パッケージの製造方法
5か月前
株式会社トーモク
封筒型パッケージの製造方法
5か月前
株式会社トーモク
封筒型パッケージの製造方法
8か月前
富士フイルム株式会社
加工装置、及び袋状部材の製造方法
5か月前
サクラパックス株式会社
包装用箱の製造方法および包装用箱
5か月前
東罐興業株式会社
カップ容器製造装置およびカップ容器製造方法
9か月前
東洋製罐株式会社
フィルム搬送装置およびフィルム搬送方法
9か月前
株式会社トッパンインフォメディア
ラベル集積治具及びラベル集積装置
6か月前
押尾産業株式会社
注出口具の製造方法
6か月前
続きを見る
他の特許を見る