TOP
|
特許
|
意匠
|
商標
特許ウォッチ
Twitter
他の特許を見る
10個以上の画像は省略されています。
公開番号
2025179019
公報種別
公開特許公報(A)
公開日
2025-12-09
出願番号
2025076464
出願日
2025-05-01
発明の名称
加工機
出願人
デュプロ精工株式会社
代理人
個人
主分類
B31B
50/52 20170101AFI20251202BHJP(紙,板紙または紙と同様の方法で加工される材料からなる物品の製造;紙,板紙または紙と同様の方法で加工される材料の加工)
要約
【課題】 本発明の目的は、様々な形状やサイズのシートを加工するときに、シートの加工情報を用いて容易にシートを折り畳むことが可能な加工機を提供することである。
【解決手段】本発明の加工機1は、コンベア2と、折ユニット7と、塗布ユニット3と、コントローラ9とを備えた加工機であって、前記コントローラ9は、前記シートSの加工情報を取得する取得部905と、前記取得部905が取得した前記加工情報に基づいて、複数の前記折線Cのうちいずれの前記折線Cに沿って前記シートSを前記折ユニット7において折り畳むかを決定する折線決定部906と、前記折線決定部906の決定に従って前記シートSを折り畳むよう前記折ユニット7を制御する折制御部907とを備えた。
【選択図】図16
特許請求の範囲
【請求項1】
複数の折線が設定されたシートを搬送するコンベアと、
前記コンベアによって搬送される前記シートを前記折線に沿って折畳む折ユニットと、
前記シートに接着剤を塗布する塗布ユニットと、
前記コンベア、前記折ユニットおよび前記塗布ユニットの動作を制御するコントローラとを備えた加工機であって、
前記コントローラは、前記シートの加工情報を取得する取得部と、
前記取得部が取得した前記加工情報に基づいて、複数の前記折線のうちいずれの前記折線に沿って前記シートを前記折ユニットにおいて折り畳むかを決定する折線決定部と、
前記折線決定部の決定に従って前記シートを折り畳むよう前記折ユニットを制御する折制御部とを備えた加工機。
続きを表示(約 920 文字)
【請求項2】
前記折ユニットにおいて折り畳まれる前記シートが積載される積載トレイを備え、
前記コントローラは、前記取得部が取得した前記加工情報に基づいて、前記積載トレイで前記シートを積載すべき積載位置を算出する算出部と、
前記算出部で算出された前記積載位置へ前記シートを積載するよう促す積載指示部とを備えた請求項1に記載の加工機。
【請求項3】
前記積載トレイに積載された前記シートの側方を案内するガイドを備え、
前記積載指示部は、前記コンベアの搬送方向に交差する交差方向における前記ガイドの位置を指示するガイド指示部を備えた請求項2に記載の加工機。
【請求項4】
前記塗布ユニットは前記シートに接着剤を塗布するためのノズルと、前記ノズルを前記シートに対して相対移動するノズル移動部とを備え、
前記算出部は、前記ノズル移動部によって前記ノズルが前記シートに対して相対移動可能な範囲に対応する位置で、前記積載位置を決定する塗布算出部を備えた請求項2に記載の加工機。
【請求項5】
前記折ユニットは、前記シートの保持片を搬送路に保持するための複数の保持部材を備え、
前記折制御部は、複数の前記保持部材のうちいずれの前記保持部材を用いるかを決定する保持決定部を備えた請求項1または2に記載の加工機。
【請求項6】
前記搬送路上の前記シートを検出するセンサと、
前記センサを前記コンベアの搬送方向に交差する交差方向に移動するセンサ移動部とを備え、
前記コントローラは、前記加工情報に基づいて、前記センサを前記交差方向の所定位置に移動するようセンサ移動部を制御する請求項1または2に記載の加工機。
【請求項7】
前記コントローラは、前記センサを用いて、前記シートが適切な前記積載位置に積載されたか否かを判断する請求項2を引用する請求項6に記載の加工機。
【請求項8】
前記コントローラは、前記シートが適切な前記積載位置に積載されていないと判断されるとき、警告を出力する請求項7に記載の加工機。
発明の詳細な説明
【技術分野】
【0001】
本発明は、加工機に関する。
続きを表示(約 1,300 文字)
【背景技術】
【0002】
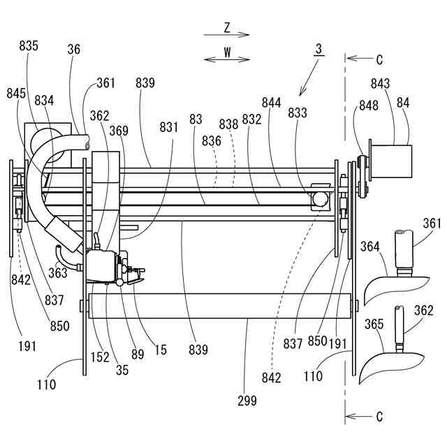
従来、搬送されてきたシートを加工する加工機が知られている。下記特許文献1には、折ユニットと接着剤の塗布ユニットが設置された加工機が開示されている。
【先行技術文献】
【特許文献】
【0003】
特開2023-115754号公報
【発明の概要】
【発明が解決しようとする課題】
【0004】
上記特許文献1に記載の装置では、折部と接着剤の塗布部とが複数設置されている。この場合、様々な形状やサイズのシートを加工するときに、シートのどの折線をいずれの折部を用いて折畳み、どの接着剤の塗布部を用いて接着剤をシートに塗布すべきかを加工機の使用者が決定するは困難である。
【0005】
本発明の目的は、様々な形状やサイズのシートを加工するときに、シートの加工情報を用いて容易にシートを折り畳むことが可能な加工機を提供することである。
【課題を解決するための手段】
【0006】
上記課題を解決するため、本発明の加工機は、複数の折線が設定されたシートを搬送するコンベアと、前記コンベアによって搬送される前記シートを前記折線に沿って折畳む折ユニットと、前記シートに接着剤を塗布する塗布ユニットと、前記コンベア、前記折ユニットおよび前記塗布ユニットの動作を制御するコントローラとを備えた加工機であって、前記コントローラは、前記シートの加工情報を取得する取得部と、前記取得部が取得した前記加工情報に基づいて、複数の前記折線のうちいずれの前記折線に沿って前記シートを前記折ユニットにおいて折り畳むかを決定する折線決定部と、前記折線決定部の決定に従って前記シートを折り畳むよう前記折ユニットを制御する折制御部とを備えた。
【0007】
また、前記折ユニットは、前記シートの保持片を搬送路に保持するための複数の保持部材を備え、前記折制御部は、複数の前記保持部材のうちいずれの前記保持部材を用いるかを決定する保持決定部を備えた。
【0008】
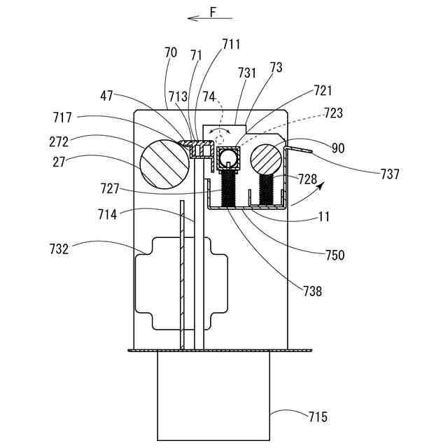
また、前記折ユニットにおいて折り畳まれる前記シートが積載される積載トレイを備え、
前記コントローラは、前記取得部が取得した前記加工情報に基づいて、前記積載トレイで前記シートを積載すべき積載位置を算出する算出部と、前記算出部で算出された前記積載位置へ前記シートを積載するよう促す積載指示部とを備えた。
【0009】
また、前記積載トレイに積載された前記シートの側方を案内するガイドを備え、前記積載指示部は、前記コンベアの搬送方向に交差する交差方向における前記ガイドの位置を指示するガイド指示部を備えた。
【0010】
また、前記塗布ユニットは前記シートに接着剤を塗布するためのノズルと、前記ノズルを前記シートに対して相対移動するノズル移動部とを備え、前記算出部は、前記ノズル移動部によって前記ノズルが前記シートに対して相対移動可能な範囲に対応する位置で、前記積載位置を決定する。
(【0011】以降は省略されています)
この特許をJ-PlatPat(特許庁公式サイト)で参照する
関連特許
デュプロ精工株式会社
加工機
今日
大森機械工業株式会社
箱詰め装置
今日
個人
紙製ダンボールの加工器具、成形方法
5か月前
株式会社メタルクリエイション
窓貼機
6か月前
株式会社メタルクリエイション
貼合機
1か月前
エントラスト株式会社
袋体の製造方法
7か月前
デュプロ精工株式会社
塗布装置及び加工機
今日
東罐興業株式会社
シート状部材搬送装置
2か月前
個人
パッケージ箱作成用具およびパッケージ箱作成方法
4か月前
株式会社ユーシン
段ボール部材、
5か月前
サクラパックス株式会社
矯正装置
6か月前
株式会社ユウコス
シート加工装置
6か月前
三菱重工機械システム株式会社
処理装置
8か月前
株式会社アプリス
カップ容器及び製造方法
4か月前
東罐興業株式会社
テープ搬送装置およびテープ搬送方法
2か月前
カモ井加工紙株式会社
付箋及び付箋の製造方法
1か月前
株式会社東京自働機械製作所
ジッパ貼り付け装置
6か月前
東洋アルミエコープロダクツ株式会社
保持枠付き容器の組み立て治具
3か月前
エステー産業株式会社
収容容器の製造方法及び製造装置
8か月前
三菱重工機械システム株式会社
搬送装置、搬送方法
2か月前
株式会社トーモク
封筒型パッケージの製造方法
5か月前
株式会社トーモク
封筒型パッケージの製造方法
5か月前
株式会社協和製作所
積層段ボールシート及び製造方法
2か月前
株式会社トーモク
封筒型パッケージの製造方法
8か月前
株式会社トーモク
封筒型パッケージの製造方法
8か月前
富士フイルム株式会社
加工装置、及び袋状部材の製造方法
5か月前
サクラパックス株式会社
包装用箱の製造方法および包装用箱
5か月前
株式会社トッパンインフォメディア
ラベル集積治具及びラベル集積装置
6か月前
押尾産業株式会社
注出口具の製造方法
6か月前
株式会社ショーエイコーポレーション
包装袋の製造方法及び包装袋の製造装置
2か月前
三菱重工機械システム株式会社
制御装置、制御方法及びコンピュータプログラム
7か月前
富士通フロンテック株式会社
RFIDタグ製造装置、及び、RFIDタグ製造方法
5か月前
キヤノンファインテックニスカ株式会社
シート処理装置及び画像形成システム
2か月前
アクソン・エルエルシー
管状収縮スリーブ材を対象物に装着するための機械および方法
5か月前
三菱重工機械システム株式会社
シートの切り出し装置
8か月前
東洋製罐株式会社
パウチ製造方法、パウチ製造装置、およびポイント用工具セット
3か月前
続きを見る
他の特許を見る