TOP
|
特許
|
意匠
|
商標
特許ウォッチ
Twitter
他の特許を見る
10個以上の画像は省略されています。
公開番号
2025150226
公報種別
公開特許公報(A)
公開日
2025-10-09
出願番号
2024051006
出願日
2024-03-27
発明の名称
シート状部材搬送装置
出願人
東罐興業株式会社
代理人
個人
,
個人
主分類
B31B
50/04 20170101AFI20251002BHJP(紙,板紙または紙と同様の方法で加工される材料からなる物品の製造;紙,板紙または紙と同様の方法で加工される材料の加工)
要約
【課題】簡単な構成で、向きのずれたシート状部材を修正可能で、搬送サイクルを高速化しても、シート状部材の向きがずれることなく次工程へ搬送可能なシート状部材搬送装置を提供すること。
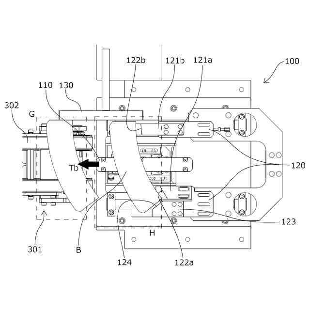
【解決手段】保持位置Hのシート状部材Bを送出位置Gへ送り出すキッカー120と、サイドガイド130とを有するシート状部材搬送装置100であって、キッカー120は主支持部121と副支持部123とを有し、主支持部121はシート状部材Bを送出方向Tbの後方側から支持する後方支持領域122a、122bを有し、副支持部123はシート状部材Bの側方BV1を支持する端部支持領域124を有し、後方支持領域122a、122bはシート状部材Bの後方側BSに沿って配置され、主支持部121および副支持部123は、送出方向Tbに進退移動可能に構成されていること。
【選択図】図3
特許請求の範囲
【請求項1】
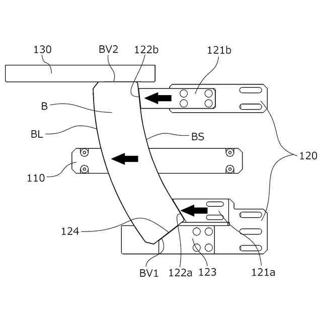
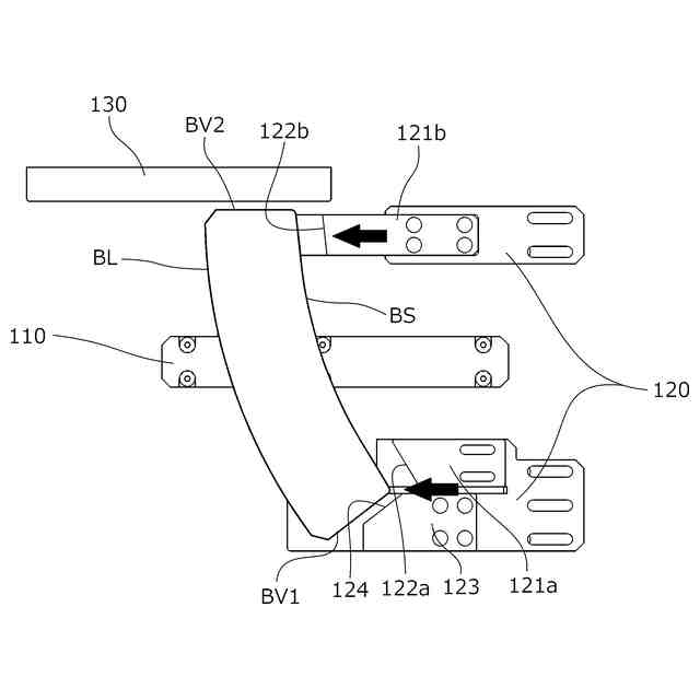
シート状部材を保持位置で保持する保持部と、前記保持部上に載置されたシート状部材を搬送経路の送出位置へ送り出すキッカーと、シート状部材を前記保持位置から前記送出位置へ送り出す方向である送出方向に沿ってシート状部材の送出方向の側方の一方を支持可能なサイドガイドとを有するシート状部材搬送装置であって、
前記キッカーは、シート状部材を送出方向の後方から支持する主支持部と、シート状部材を前記主支持部に対し前記サイドガイドと反対側の位置から支持する副支持部とを有し、
前記サイドガイドは、送出方向に沿って延びるように形成され、
前記主支持部は、シート状部材を送出方向の後方側から支持する後方支持領域を有し、
前記副支持部は、前記主支持部の前記後方支持領域で支持したシート状部材の送出方向の側方の一方を支持する端部支持領域を有し、
前記後方支持領域は、シート状部材の後方側の輪郭の一部に沿って配置され、
前記主支持部および前記副支持部は、送出方向に進退移動可能に構成されていることを特徴とするシート状部材搬送装置。
続きを表示(約 780 文字)
【請求項2】
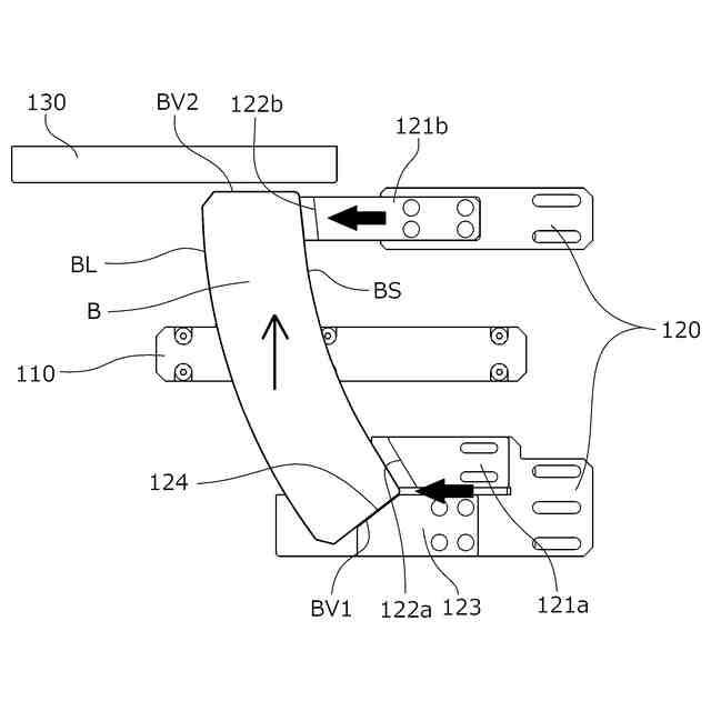
シート状部材は、環状扇形の紙製のブランクであって、
前記キッカーは、ブランクの外周縁の大径側を前記送出位置に向けて前記保持部上に載置されたブランクを前記保持位置から前記送出位置へ送り出し、
前記サイドガイドは、前記保持部上に載置されたブランクの外周縁の送出方向の側方のうち一方を支持可能に構成され、
前記主支持部は、前記後方支持領域でブランクの外周縁の小径側を支持し、
前記副支持部は、前記後方支持領域で支持したブランクの送出方向の側方の一方を前記端部支持領域で支持し、
前記後方支持領域は、ブランクの外周縁の小径側の輪郭の一部に沿って配置され、
前記端部支持領域は、前記保持部上に載置されたブランクの外周縁の送出方向の側方のうち、前記主支持部に対し前記サイドガイドと反対側の位置からブランクの送出方向の側方の他方を支持することを特徴とする請求項1に記載のシート状部材搬送装置。
【請求項3】
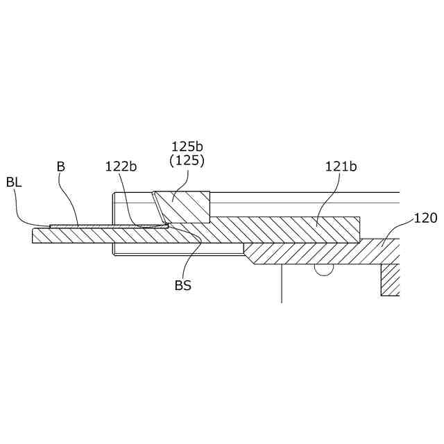
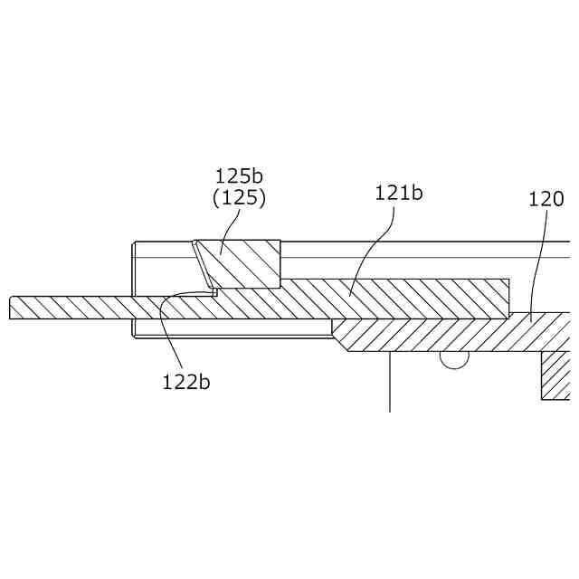
前記主支持部および前記副支持部のうち少なくともいずれか一方は、前記後方支持領域および/または端部支持領域の上部から送出方向側に延びる浮上防止片を有することを特徴とする請求項1に記載のシート状部材搬送装置。
【請求項4】
前記主支持部は、少なくとも送出方向の両側方の端部近傍を同時に支持可能に構成されていることを特徴とする請求項1に記載のシート状部材搬送装置。
【請求項5】
前記送出位置には、前記搬送経路の上方に配置されたフリーローラが設けられていることを特徴とする請求項1に記載のシート状部材搬送装置。
【請求項6】
前記搬送経路はバキュームコンベアで構成されていることを特徴とする請求項1に記載のシート状部材搬送装置。
発明の詳細な説明
【技術分野】
【0001】
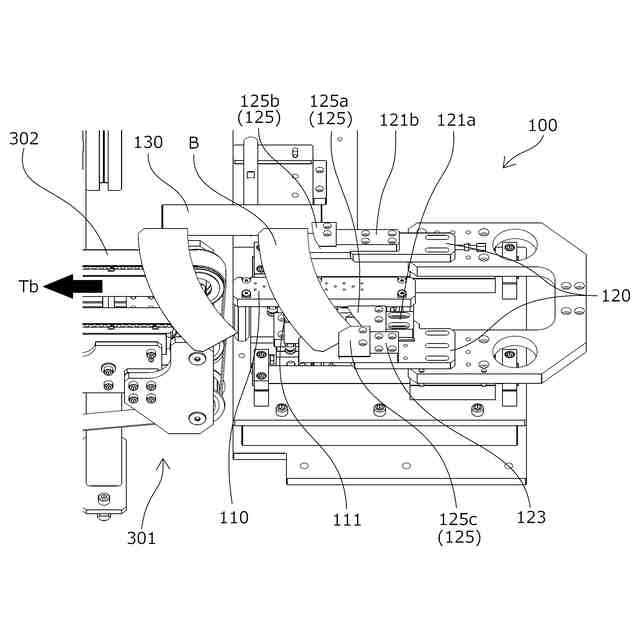
本発明はシート状部材を保持位置で保持する保持部と、前記保持部上に載置されたシート状部材を搬送経路の送出位置へ送り出すキッカーとを有するシート状部材搬送装置に関する。
続きを表示(約 1,900 文字)
【背景技術】
【0002】
従来、紙などのシート状部材を搬送経路の下流側へ送り出すシート状部材搬送装置として、例えば、特許文献1に記載の紙製容器の製造装置の一部であるシート状部材搬送装置(ブランク取出し押送機構1)が公知である。
【0003】
この特許文献1で公知のシート状部材搬送装置は、扇状のシート状部材(ブランク61)をストッカ(マガジンボックス14)内のブランク積重体6から1枚ずつ取り出し、下流の工程である胴貼り成形機構2へ送り出すものであり、ストッカ(マガジンボックス14)からシート状部材(ブランク61)を取り出す吸着パッド18と、ストッカ(マガジンボックス14)から取り出したシート状部材(ブランク61)を保持する保持部(案内部材522)と、保持部(案内部材522)上に載置されたシート状部材(ブランク61)を胴貼り成形機構2へ送り出すキッカー(突出片133)とを有している。
【0004】
キッカー(突出片133)は、扇状のシート状部材(ブランク61)の大径側の2箇所後方から押し出すことで、胴貼り成形機構2へ送り出し、胴貼り成形機構2の成形金型26に受け渡すものである。
【先行技術文献】
【特許文献】
【0005】
昭59-165638号公報
【発明の概要】
【発明が解決しようとする課題】
【0006】
ところが、上記特許文献1等で公知のシート状部材搬送装置は、未だ改善の余地があった。
【0007】
すなわち、特許文献1で公知のシート状部材搬送装置は、扇状のシート状部材の大径側の2箇所をキッカーで後方から押し出して搬送経路の下流に送り出すため、シート状部材の向きや位置がずれた状態で送り出してしまい、次工程で不具合を発生する虞や、搬送経路上で詰まってしまう虞があった。
また、搬送サイクルを高速化する場合、キッカーがシート状部材を押し出す勢いが強くなるため、次工程へ搬送する際にシート状部材の向きがずれやすくなってしまう虞があった。
また、例えば、扇状のシート状部材の側方の一辺をシート状部材を送り出す方向に揃えて搬送する場合は、キッカー押圧時にシート状部材が傾きやすくなり、より一層次工程への搬送に不具合が発生する虞があった。
【0008】
本発明は、これらの問題点を解決するものであり、簡単な構成で、向きのずれたシート状部材を適切な向きに修正可能で、搬送サイクルを高速化しても、シート状部材の向きがずれることなく次工程へ搬送可能なシート状部材搬送装置を提供することを目的とするものである。
【課題を解決するための手段】
【0009】
本発明のシート状部材搬送装置は、シート状部材を保持位置で保持する保持部と、前記保持部上に載置されたシート状部材を搬送経路の送出位置へ送り出すキッカーと、シート状部材を前記保持位置から前記送出位置へ送り出す方向である送出方向に沿ってシート状部材の送出方向の側方の一方を支持可能なサイドガイドとを有するシート状部材搬送装置であって、前記キッカーは、シート状部材を送出方向の後方から支持する主支持部と、シート状部材を前記主支持部に対し前記サイドガイドと反対側の位置から支持する副支持部とを有し、前記サイドガイドは、送出方向に沿って延びるように形成され、前記主支持部は、シート状部材を送出方向の後方側から支持する後方支持領域を有し、前記副支持部は、前記主支持部の前記後方支持領域で支持したシート状部材の送出方向の側方の一方を支持する端部支持領域を有し、前記後方支持領域は、シート状部材の後方側の輪郭の一部に沿って配置され、前記主支持部および前記副支持部は、送出方向に進退移動可能に構成されていることにより、前記課題を解決するものである。
【発明の効果】
【0010】
請求項1に係る発明のシート状部材搬送装置は、保持部とキッカーと、シート状部材の送出方向の側方の一方を支持可能なサイドガイドとを有するため、シート状部材の側方の一方をサイドガイドに沿わせた状態で保持し、シート状部材の側方の他方を端部支持領域で支持することで、シート状部材を保持位置から送出位置まで搬送する際のシート状部材の位置ずれを防止できる。
また、搬送サイクルを高速化しても、サイドガイドと副支持部とでシート状部材の両側方を支持した状態で主支持部がシート状部材を押し出して搬送経路の下流に送り出すため、シート状部材の向きや位置がずれてしまうことがない。
(【0011】以降は省略されています)
この特許をJ-PlatPat(特許庁公式サイト)で参照する
関連特許
東罐興業株式会社
集積支援システム
1か月前
東罐興業株式会社
シート状部材搬送装置
1か月前
東罐興業株式会社
容器集積装置及び容器集積方法
1か月前
東罐興業株式会社
テープ搬送装置およびテープ搬送方法
1か月前
東罐興業株式会社
燻煙剤用容器の紙蓋及び燻煙剤用容器
1か月前
東罐興業株式会社
燻煙剤用容器の紙蓋及び燻煙剤用容器
1か月前
東罐興業株式会社
スリーブ分離装置及びスリーブ分離方法
1か月前
東罐興業株式会社
集積支援システムに用いられる逆戻り抑制装置
1か月前
東罐興業株式会社
使用済み容器回収装置及び使用済み容器回収装置の使用方法
今日
東罐興業株式会社
中皿付き容器
2か月前
東罐興業株式会社
テープ貼り付け状態の検査装置およびテープ貼り付け状態の検査方法
1か月前
東洋製罐グループホールディングス株式会社
ガスバリア性及び層間密着性を有する積層体
1か月前
個人
高剛性段ボール
9か月前
個人
紙製ダンボールの加工器具、成形方法
4か月前
株式会社メタルクリエイション
窓貼機
5か月前
エントラスト株式会社
袋体の製造方法
7か月前
株式会社メタルクリエイション
貼合機
1か月前
東罐興業株式会社
シート状部材搬送装置
1か月前
個人
パッケージ箱作成用具およびパッケージ箱作成方法
3か月前
株式会社ユーシン
段ボール部材、
5か月前
サクラパックス株式会社
矯正装置
6か月前
株式会社ユウコス
シート加工装置
6か月前
三菱重工機械システム株式会社
処理装置
7か月前
株式会社ダイワハイテックス
箱型製造装置、及び箱型製造方法
8か月前
東罐興業株式会社
テープ搬送装置およびテープ搬送方法
1か月前
TOPPANホールディングス株式会社
トレー製造装置
9か月前
株式会社アプリス
カップ容器及び製造方法
4か月前
トヨタ自動車株式会社
フィルム製造装置及びフィルム製造方法
8か月前
TOPPANホールディングス株式会社
口栓溶着方法
10か月前
カモ井加工紙株式会社
付箋及び付箋の製造方法
1か月前
株式会社東京自働機械製作所
ジッパ貼り付け装置
5か月前
東洋アルミエコープロダクツ株式会社
保持枠付き容器の組み立て治具
3か月前
王子ホールディングス株式会社
加工装置及び加工方法
10か月前
三菱重工機械システム株式会社
搬送装置、搬送方法
2か月前
エステー産業株式会社
収容容器の製造方法及び製造装置
7か月前
王子ホールディングス株式会社
キッチンタオルロール
8か月前
続きを見る
他の特許を見る