TOP
|
特許
|
意匠
|
商標
特許ウォッチ
Twitter
他の特許を見る
10個以上の画像は省略されています。
公開番号
2025174265
公報種別
公開特許公報(A)
公開日
2025-11-28
出願番号
2024080429
出願日
2024-05-16
発明の名称
使用済み容器回収装置及び使用済み容器回収装置の使用方法
出願人
東罐興業株式会社
代理人
弁理士法人後藤特許事務所
主分類
B65D
25/04 20060101AFI20251120BHJP(運搬;包装;貯蔵;薄板状または線条材料の取扱い)
要約
【課題】投入された使用済みの容器を重なった状態で回収可能であり、かつ回収用の箱の充填率の低下を抑制し得る回収装置を提供する。
【解決手段】正面板部、背面板部、及び一対の側面板部を備える外装体と、少なくとも一の横仕切り板部及び側面板部と少なくとも一の縦仕切り板部を備える仕切り部材と、を備え、外装体を、回収箱の周壁の外側に被せると、仕切り部材が回収箱の内部を、使用済み容器をスタッキング状態で収容可能な複数の空間に仕切る使用済み容器回収装置において、正面板部、背面板部、及び一対の側面板部は、縦方向に設けたスリット同士が咬合することで外装体を構成し、横仕切り板部と縦仕切り板部は、縦向きに設けたスリット同士が咬合することで仕切り部材を構成し、耳部のスリットを、外側に折り返した蓋部及び周壁に咬合させることで回収箱に固定されることを特徴とする、使用済み容器回収装置。
【選択図】図1
特許請求の範囲
【請求項1】
正面板部、背面板部、及び一対の側面板部を備える外装体と、
前記正面板部と平行に配置された少なくとも一の横仕切り板部及び前記側面板部と平行に配置された少なくとも一の縦仕切り板部を備える仕切り部材と、
を備え、
前記外装体を、回収箱の周壁の外側に被せると、前記仕切り部材が前記回収箱の内部を、使用済み容器をスタッキング状態で収容可能な複数の空間に仕切る使用済み容器回収装置において、
前記正面板部、前記背面板部、及び一対の前記側面板部は、縦方向に設けたスリット同士が咬合することで前記外装体を構成し、
前記横仕切り板部と前記縦仕切り板部は、縦向きに設けたスリット同士が咬合することで前記仕切り部材を構成し、
前記外装体と前記仕切り部材は、縦向きに設けたスリット同士が咬合することで組み合わされることを特徴とする、使用済み容器回収装置。
続きを表示(約 1,200 文字)
【請求項2】
請求項1に記載の使用済み容器回収装置において、
前記横仕切り板部の上部両端には、上方及び側方に突出し、かつ前記側面板部の前記スリットと咬合するスリットを有する耳部が設けられており、
前記耳部の前記スリットの幅は、前記側面板部の厚みと、前記回収箱の前記周壁の厚みと、前記回収箱の周壁から延設された蓋部の厚みとの合計値であり、
前記耳部の前記スリットを、外側に折り返した前記蓋部及び前記周壁に咬合させることで前記回収箱に固定されることを特徴とする、使用済み容器回収装置。
【請求項3】
請求項1に記載の使用済み容器回収装置において、
前記縦仕切り板部又は前記横仕切り板部の少なくともいずれか一方の前記スリットの少なくとも一部が、波状の曲線である、使用済み容器回収装置。
【請求項4】
請求項1に記載の使用済み容器回収装置において、
前記正面板部と接する第1押さえ部と、前記側面板部と接する第2押さえ部と、を有する正面押さえ部材と、
前記背面板部と接する第3押さえ部と、前記側面板部と接する第4押さえ部と、を有する背面押さえ部材と、
をそれぞれ少なくとも1個ずつ備え、
前記正面板部と一対の前記側面板部、及び前記背面板部と一対の前記側面板部がそれぞれ直交する状態において、前記正面押さえ部材が、前記正面板部と一対の前記側面板部とが交差する部位に配置され、前記背面押さえ部材が、前記背面板部と一対の前記側面板部とが交差する部位に配置されている、使用済み容器回収装置。
【請求項5】
請求項1に記載の使用済み容器回収装置において、
前記縦仕切り板部の前記スリットは下端から上向きに、前記横仕切り板部の前記スリットは上端から下向きに、それぞれ設けられ、
前記縦仕切り板部の前記スリットの下端から所定範囲のスリット幅は、当該所定範囲より上の部分のスリット幅よりも広い、使用済み容器回収装置。
【請求項6】
請求項1に記載の使用済み容器回収装置において、
前記回収箱に被せられた状態で、前記仕切り部材の下端と前記回収箱の底面との間に隙間がある、使用済み容器回収装置。
【請求項7】
請求項1から6のいずれか一項に記載の使用済み容器回収装置の使用方法において、
前記正面板部と前記側面板部と前記仕切り部材とを組み上げ、各咬合部に沿って扁平状に折り畳んだ状態で使用場所まで搬送し、
使用する際には、前記正面板部と一対の前記側面板部とが直交する状態に展開するとともに前記背面板部を組み付け、
未使用の容器を取り出して空になった前記回収箱の前記蓋部を外側に折り返し、
前記使用済み容器回収装置を、前記回収箱の上方から、前記耳部の前記スリットに前記回収箱の周壁が嵌まるように被せる、
使用済み容器回収装置の使用方法。
発明の詳細な説明
【技術分野】
【0001】
本発明は、使用済み容器回収装置及び使用済み容器回収装置の使用方法に関する。
続きを表示(約 2,200 文字)
【背景技術】
【0002】
環境問題への取り組みとして、使用済みの飲料容器や食品容器等のリサイクルが注目されている。金属製やガラス製の容器については、回収後に洗浄等して再利用することが行われてきたが、紙容器等については、回収後に焼却し、その際に生じた熱をエネルギとして利用する、所謂サーマルリサイクルが行われていた。しかし、サーマルリサイクルについては、焼却熱を利用するだけで再資源化していないのでリサイクルには該当しないとの認識が国際的な趨勢となっている。そこで、紙容器についても回収後に洗浄等をして再利用することが検討されている。しかし、紙コップ等の容器はゴミ箱等にその方向が制御されることなく自由に投入されると、嵩張ってしまい少量の個数でゴミ箱が満杯になってしまい、輸送効率が悪いという問題がある。
【0003】
特許文献1には、上記の各問題を解決するために、使用済みの容器を同一方向に重ねた状態で収集し、同時にその状態で回収用の箱に収容する装置が開示されている。具体的には、紙コップを受け入れるための複数の開口部を設けた天面部と、該開口部に連なり、紙コップを鉛直方向に導く筒体と、からなり、前記開口部から投入され前記筒体に導かれた使用済みの紙コップが、重ねられた状態で回収用の箱内に回収できる構成になっている。なお、上記文献には筒体を、複数の独立の棒状体で構成してもよい旨が記載されている。
【先行技術文献】
【特許文献】
【0004】
特開平10-231003号公報
【発明の概要】
【発明が解決しようとする課題】
【0005】
ところで、上記文献では、筒体の途中で紙コップが詰まるのを防止するために、筒体の側面を蛇腹に折って紙コップの側面と筒体の内壁との接触面積を小さくした装置や、筒体を複数の独立した棒状体で構成した装置が開示されている。しかし、これらの装置では回収用の箱内で筒体が占める割合が大きくなり、回収用の箱の容積に対し、回収できる紙コップの数が少なくなる。つまり、上記文献に記載の装置は、いわゆる充填率の観点から改善の余地がある。
【0006】
そこで本発明は、投入された使用済みの容器を重なった状態で回収可能であり、かつ回収用の箱の充填率の低下を抑制し得る回収装置を提供することを目的とする。
【課題を解決するための手段】
【0007】
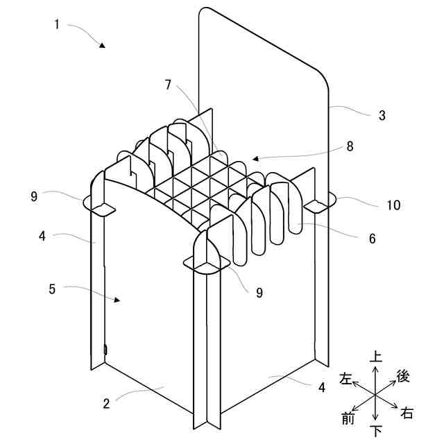
本発明のある態様によれば、正面板部、背面板部、及び一対の側面板部を備える外装体と、正面板部と平行に配置された少なくとも一の横仕切り板部及び側面板部と平行に配置された少なくとも一の縦仕切り板部を備える仕切り部材と、を備え、外装体を回収箱の周壁の外側に被せると、仕切り部材が回収箱の内部を、使用済み容器をスタッキング状態で収容可能な複数の空間に仕切る使用済み容器回収装置が提供される。この装置において、正面板部、背面板部、及び一対の側面板部は、縦方向に設けたスリット同士が咬合することで外装体を構成し、横仕切り板部と縦仕切り板部は、縦向きに設けたスリット同士が咬合することで仕切り部材を構成し、外装体と仕切り部材は、縦向きに設けたスリット同士が咬合することで組み合わされる。横仕切り板部の上部両端には、上方及び側方に突出し、かつ側面板部のスリットと咬合するスリットを有する耳部が設けられており、耳部のスリットの幅は、側面板部の厚みと、回収箱の周壁の厚みと、回収箱の周壁から延設された蓋部の厚みとの合計値であり、耳部のスリットを、外側に折り返した蓋部及び周壁に咬合させることで回収箱に固定される。
【発明の効果】
【0008】
上記態様によれば、仕切り部材が回収箱の内部を、使用済み容器をスタッキング状態で収容可能な複数の空間に仕切るので、使用済みの容器をスタッキング状態で回収することができる。また、仕切り部材が板状の部材で構成されているので、上記文献に記載の装置のように使用済みの容器を収容する領域ごとに筒体を設ける構成に比べて充填率を高めることができる。
【図面の簡単な説明】
【0009】
図1は、本実施形態に係る使用済み容器回収装置の前方斜め上方から見た斜視図である。
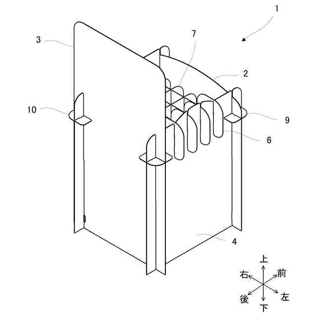
図2は、本実施形態に係る使用済み容器回収装置の後方斜め上方から見た斜視図である。
図3は、本実施形態に係る使用済み容器回収装置を上方から見た図である。
図4は、正面板部を示す図である。
図5は、背面板部を示す図である。
図6は、側面板部を示す図である。
図7は、縦仕切り板部を示す図である。
図8は、横仕切り板部を示す図である。
図9は、押さえ部材を示す図である。
図10は、本実施形態に係る使用済み容器回収装置の使用方法を示す図である。
図11は、本実施形態に係る使用済み容器回収装置を回収箱に被せた状態の、図3に示したXI-XI線に沿った断面図である。
図12は、本実施形態に係る使用済み容器回収装置を回収箱に被せた状態の、図3に示したXII-XII線に沿った断面図である。
【発明を実施するための形態】
【0010】
以下、図面を参照して、本発明の実施形態について説明する。
[装置の構成]
(【0011】以降は省略されています)
この特許をJ-PlatPat(特許庁公式サイト)で参照する
関連特許
東罐興業株式会社
紙製容器
2か月前
東罐興業株式会社
紙製容器
2か月前
東罐興業株式会社
集積支援システム
1か月前
東罐興業株式会社
紙製容器の検査方法
2か月前
東罐興業株式会社
シート状部材搬送装置
1か月前
東罐興業株式会社
容器集積装置及び容器集積方法
1か月前
東罐興業株式会社
テープ搬送装置およびテープ搬送方法
1か月前
東罐興業株式会社
燻煙剤用容器の紙蓋及び燻煙剤用容器
1か月前
東罐興業株式会社
燻煙剤用容器の紙蓋及び燻煙剤用容器
1か月前
東罐興業株式会社
スリーブ分離装置及びスリーブ分離方法
1か月前
東罐興業株式会社
集積支援システムに用いられる逆戻り抑制装置
1か月前
東罐興業株式会社
使用済み容器回収装置及び使用済み容器回収装置の使用方法
今日
東罐興業株式会社
中皿付き容器
2か月前
東罐興業株式会社
テープ貼り付け状態の検査装置およびテープ貼り付け状態の検査方法
1か月前
東洋製罐グループホールディングス株式会社
ガスバリア性及び層間密着性を有する積層体
1か月前
個人
束ね具
17日前
個人
収容箱
4か月前
個人
コンベア
6か月前
個人
容器
10か月前
個人
段ボール箱
8か月前
個人
ゴミ収集器
8か月前
個人
段ボール箱
7か月前
個人
テープ引出機
17日前
個人
土嚢運搬器具
9か月前
個人
角筒状構造体
6か月前
個人
楽ちんハンド
6か月前
個人
バンド
3か月前
個人
宅配システム
8か月前
個人
棒状体収容容器
21日前
個人
お薬の締結装置
7か月前
個人
包装容器
2か月前
個人
コード類収納具
9か月前
個人
閉塞装置
11か月前
個人
廃棄物収容容器
3か月前
個人
蓋閉止構造
5か月前
個人
把手付米袋
5か月前
続きを見る
他の特許を見る