TOP
|
特許
|
意匠
|
商標
特許ウォッチ
Twitter
他の特許を見る
10個以上の画像は省略されています。
公開番号
2025143933
公報種別
公開特許公報(A)
公開日
2025-10-02
出願番号
2024043457
出願日
2024-03-19
発明の名称
集積支援システム
出願人
東罐興業株式会社
代理人
弁理士法人太田特許事務所
主分類
G06Q
50/04 20120101AFI20250925BHJP(計算;計数)
要約
【課題】人為的なミスを抑制して作業員が規定数の包装体を纏めて集積箱に箱詰めする作業を支援可能な集積支援システムを提供する。
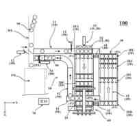
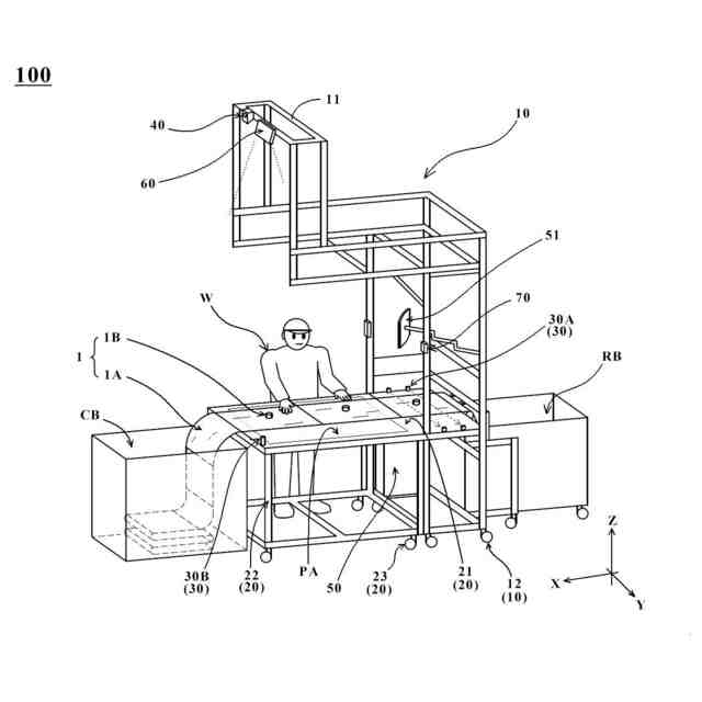
【解決手段】本発明の集積支援システムは、予め定められた規定数の包装体だけ作業者が纏めて受入箱から集積箱に箱詰めする作業を支援する集積支援システムであって、受入箱から集積箱へ移送される包装体が載置される作業面と、受入箱から作業面上を通過する包装体の通過数を計測可能な入口側計数センサと、作業面上に存在する包装体の個数を検出可能な撮像手段と、撮像手段の検出結果に基づいて集積箱に集積する包装体の集積情報を表示する制御パネルと、制御パネルで表示された集積情報を作業面上へ投映する投映手段と、を含んでなる。
【選択図】図1
特許請求の範囲
【請求項1】
包装体を複数収容する受入箱から、予め定められた規定数の前記包装体だけ作業者が纏めて集積箱に箱詰めする作業を支援する集積支援システムであって、
前記受入箱と前記集積箱との間に配置されて、前記受入箱から前記集積箱へ移送される前記包装体が載置される作業面と、
前記作業面のうち前記受入箱に近い入口側に設けられて、前記受入箱から前記作業面上を通過する前記包装体の通過数を計測可能な入口側計数センサと、
前記作業面上に存在する前記包装体の個数を検出可能な撮像手段と、
前記撮像手段の検出結果に基づいて、前記集積箱に集積する前記包装体の集積情報を表示する制御パネルと、
前記制御パネルで表示された前記集積情報を前記作業面上へ投映する投映手段と、
を含んでなる、集積支援システム。
続きを表示(約 820 文字)
【請求項2】
前記作業面のうち前記集積箱に近い出口側に設けられて、前記作業者を介して前記作業面から前記集積箱へ移送される前記包装体の通過数を計測する出口側計数センサをさらに含み、
前記出口側計数センサは、前記作業面上で所定数だけ纏まった状態で前記集積箱へ移送される前記包装体の個数を検出する、請求項1に記載の集積支援システム。
【請求項3】
前記作業者に対して音と光の少なくとも一方で報知する報知手段をさらに備え、
前記報知手段は、前記作業面上に前記規定数の前記包装体が蓄積されたときに前記作業者に対して作業状況を報知する、請求項2に記載の集積支援システム。
【請求項4】
前記作業者に対して音と光の少なくとも一方で報知する報知手段をさらに備え、
前記報知手段は、前記出口側計数センサを介して前記規定数と異なる数の前記包装体が前記集積箱へ移送されたときに前記作業者に対して誤処理であることを報知する、請求項2に記載の集積支援システム。
【請求項5】
前記集積情報は前記作業面上で蓄積される前記包装体の個数を含み、
前記投映手段は、前記予め定められた規定数に対して、前記撮像手段で検出された前記包装体の個数を前記作業面上に順次投映する、請求項1~4のいずれか一項に記載の集積支援システム。
【請求項6】
前記投映手段は、前記撮像手段が前記予め定められた規定数の前記包装体の個数を検出したときに、前記作業者に対する指示を前記作業面上に投映する、請求項5に記載の集積支援システム。
【請求項7】
前記投映手段は、前記作業面上における規定位置に前記作業者が前記包装体を載置したことを前記撮像手段が検出した際に、載置した前記包装体と対応して累積数と配置完了表示の少なくとも一方をハイライトして投映する、請求項5に記載の集積支援システム。
発明の詳細な説明
【技術分野】
【0001】
本発明は、受入箱に収容された複数の包装体を作業者が纏めて集積箱に箱詰めする集積作業を支援可能な集積支援システムに関する。
続きを表示(約 1,500 文字)
【背景技術】
【0002】
例えば特許文献1に例示されるように、BIB(Bag In Box)を製造するBIB製造装置が既知である。このBIBは、箱入り袋の略称であって、例えば飲料水などの物品が収容された物品入り袋をダンボール箱などの箱体に収納したものである。
【0003】
上記したBIBを製造する際には、飲料水などの物品を収容するための袋(包装体)が用いられる。かような包装体は、ポリエチレン樹脂などの合成樹脂で形成された密閉型のシート状袋本体と、このシート状袋本体の一方の面に取り付けられたスパウトなどの注出口部材とから構成されている。
【先行技術文献】
【特許文献】
【0004】
特開2000-190402号公報
【発明の開示】
【発明が解決しようとする課題】
【0005】
上述したとおりBIB製造装置ではBIBを連続的に製造のため多数の包装体が必要となる。従ってBIB製造装置に供給される複数の包装体は、予め定められた規定数だけ纏めて集積箱に集積された状態で保管や搬送がなされる。しかしながら従来における集積箱への集積作業は、多種多様な品種や集積態様に対応せねばならないなど種々の観点から、自動化することが必ずしも容易ではなく作業員の人手によって行われている。
【0006】
そのため、上記した集積作業時において例えば計数違いなど人為的なミスが生じやすく、集積すべき規定数とは異なった数で集積箱へ包装体が収容されることが起こり得る。このように自動化の困難な包装体の集積作業では、如何にして人為的なミスを抑制して規定数の包装体を集積箱に集積するかが重要となる。
【0007】
本発明は、上記した課題を一例に鑑みて為されたものであり、人為的なミスを抑制して作業員が規定数の包装体を纏めて集積箱に箱詰めする作業を支援可能な集積支援システムを提供することを目的とする。
【課題を解決するための手段】
【0008】
本発明の一実施形態における集積支援システムは、(1)包装体を複数収容する受入箱から、予め定められた規定数の前記包装体だけ作業者が纏めて集積箱に箱詰めする作業を支援する集積支援システムであって、前記受入箱と前記集積箱との間に配置されて、前記受入箱から前記集積箱へ移送される前記包装体が載置される作業面と、前記作業面のうち前記受入箱に近い入口側に設けられて、前記受入箱から前記作業面上を通過する前記包装体の通過数を計測可能な入口側計数センサと、前記作業面上に存在する前記包装体の個数を検出可能な撮像手段と、前記撮像手段の検出結果に基づいて、前記集積箱に集積する前記包装体の集積情報を表示する制御パネルと、前記制御パネルで表示された前記集積情報を前記作業面上へ投映する投映手段と、を含んでなる。
【0009】
また、上記(1)に記載の集積支援システムにおいては、(2)前記作業面のうち前記集積箱に近い出口側に設けられて、前記作業者を介して前記作業面から前記集積箱へ移送される前記包装体の通過数を計測する出口側計数センサをさらに含み、前記出口側計数センサは、前記作業面上で所定数だけ纏まった状態で前記集積箱へ移送される前記包装体の個数を検出することが好ましい。
【0010】
また、上記(2)に記載の集積支援システムにおいては、(3)前記作業者に対して音と光の少なくとも一方で報知する報知手段をさらに備え、前記報知手段は、前記作業面上に前記規定数の前記包装体が蓄積されたときに前記作業者に対して作業状況を報知することが好ましい。
(【0011】以降は省略されています)
この特許をJ-PlatPat(特許庁公式サイト)で参照する
関連特許
東罐興業株式会社
紙製容器
2か月前
東罐興業株式会社
紙製容器
2か月前
東罐興業株式会社
アキューム装置
3か月前
東罐興業株式会社
集積支援システム
1か月前
東罐興業株式会社
紙製容器の検査方法
2か月前
東罐興業株式会社
シート状部材搬送装置
1か月前
東罐興業株式会社
容器集積装置及び容器集積方法
1か月前
東罐興業株式会社
包装用箱の紙容器変形防止保持構造
3か月前
東罐興業株式会社
テープ搬送装置およびテープ搬送方法
1か月前
東罐興業株式会社
燻煙剤用容器の紙蓋及び燻煙剤用容器
1か月前
東罐興業株式会社
燻煙剤用容器の紙蓋及び燻煙剤用容器
1か月前
東罐興業株式会社
スリーブ分離装置及びスリーブ分離方法
1か月前
東罐興業株式会社
集積支援システムに用いられる逆戻り抑制装置
1か月前
東罐興業株式会社
使用済み容器回収装置及び使用済み容器回収装置の使用方法
今日
東罐興業株式会社
中皿付き容器
2か月前
東罐興業株式会社
テープ貼り付け状態の検査装置およびテープ貼り付け状態の検査方法
1か月前
東洋製罐グループホールディングス株式会社
ガスバリア性及び層間密着性を有する積層体
1か月前
個人
詐欺保険
1か月前
個人
縁伊達ポイン
1か月前
個人
職業自動販売機
14日前
個人
RFタグシート
1か月前
個人
5掛けポイント
21日前
個人
地球保全システム
1か月前
個人
ペルソナ認証方式
29日前
個人
QRコードの彩色
1か月前
個人
自動調理装置
1か月前
個人
情報処理装置
24日前
個人
残土処理システム
1か月前
個人
農作物用途分配システム
1か月前
個人
サービス情報提供システム
16日前
個人
知的財産出願支援システム
1か月前
個人
インターネットの利用構造
28日前
個人
タッチパネル操作指代替具
1か月前
個人
スケジュール調整プログラム
1か月前
個人
携帯端末障害問合せシステム
1か月前
株式会社キーエンス
受発注システム
1か月前
続きを見る
他の特許を見る