TOP
|
特許
|
意匠
|
商標
特許ウォッチ
Twitter
他の特許を見る
10個以上の画像は省略されています。
公開番号
2025149667
公報種別
公開特許公報(A)
公開日
2025-10-08
出願番号
2024050441
出願日
2024-03-26
発明の名称
燻煙剤用容器の紙蓋及び燻煙剤用容器
出願人
東罐興業株式会社
,
アース製薬株式会社
代理人
個人
,
個人
主分類
B65D
3/00 20060101AFI20251001BHJP(運搬;包装;貯蔵;薄板状または線条材料の取扱い)
要約
【課題】梱包するパッケージを無くし、全紙化が実現可能で、継ぎ目からスムーズに開封可能な燻煙剤用容器の紙蓋及び燻煙剤用容器を提供する。
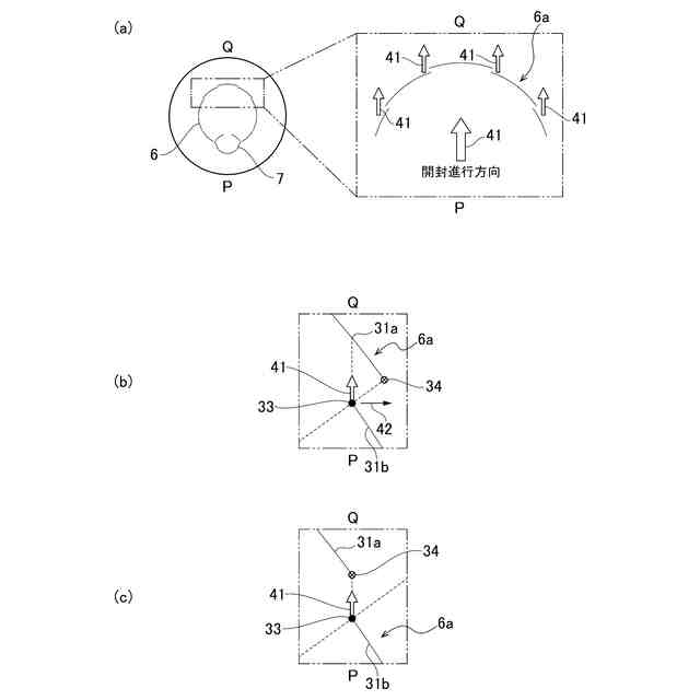
【解決手段】燻煙剤用容器1の紙蓋2であって、紙蓋2は少なくとも天板部5を有し、天板部5に略円形状の燻煙用開口部を形成するための同心円状の円状ミシン目6が設けられ、円状ミシン目6に囲まれた領域の基端Pに開封用ミシン目7が形成され、円状ミシン目6は、複数の切込み31と複数の継ぎ目32を有し、各切込み31は、開封用ミシン目7を基端Pとして他端Qへ向けた開封進行方向41に対して互いに重複することを特徴とする。
【選択図】図3
特許請求の範囲
【請求項1】
燻煙剤用容器の紙蓋であって、
上記紙蓋は少なくとも天板部を有し、
上記天板部に略円形状の燻煙用開口部を形成するための同心円状の円状ミシン目が設けられ、上記円状ミシン目に囲まれた領域の基端に開封用ミシン目が形成され、
上記円状ミシン目は、複数の切込みと複数の継ぎ目を有し、
上記各切込みは、上記開封用ミシン目を基端として他端へ向けた開封進行方向に対して互いに重複することを特徴とする燻煙剤用容器の紙蓋。
続きを表示(約 390 文字)
【請求項2】
より他端側にある上記円状ミシン目は、
一の上記切込みにおける他端側の端部の上記開封進行方向線上又はその外側に、他端 側に隣接する上記切込みの基端側の端部が位置すること
を特徴とする請求項1記載の燻煙剤用容器の紙蓋。
【請求項3】
より基端側にある上記円状ミシン目は、
一の上記切込みにおける他端側の端部の上記開封進行方向線上又はその内側に、より 他端側に隣接する上記切込みの基端側の端部が位置すること
を特徴とする請求項1記載の燻煙剤用容器の紙蓋。
【請求項4】
燻煙剤を収納する容器本体と、請求項1~3の何れか1項に記載の燻煙剤用容器の紙蓋を備えることを特徴とする燻煙剤用容器。
【請求項5】
上記容器本体は、紙製であることを特徴とする請求項4記載の燻煙剤用容器。
発明の詳細な説明
【技術分野】
【0001】
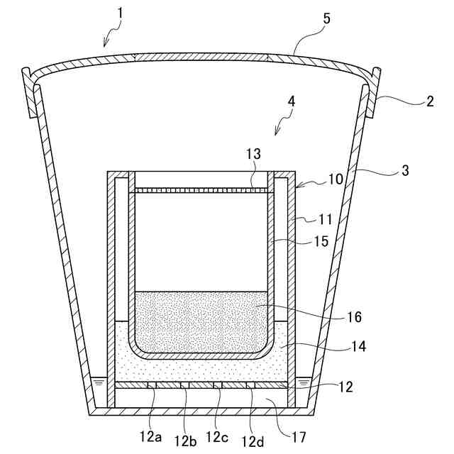
本発明は、燻煙剤用容器の紙蓋及び燻煙剤用容器に関する。
続きを表示(約 1,000 文字)
【背景技術】
【0002】
従来、ハエ、カ、ゴキブリ等の衛生害虫、細菌、カビ等の微生物等の有害生物の駆除等に、燻煙装置が利用されている。
【0003】
一般的な燻煙装置は、主なものとしてアルミ袋に入った薬剤と発熱基材からなる燻煙剤と、燻煙剤を入れる容器本体と、燻煙時などに転倒して燻煙剤が外に飛び出さないようにするリング状のプラスチック蓋等から構成されている。
【0004】
昨今、プラスチックゴミによる海洋汚染問題等を発端に、脱プラスチックの世界的な流れが大きくなっている。
【0005】
現状では依然として燻煙装置においてもプラスチック容器やリング状のプラスチック蓋が使用されている。
【0006】
環境負荷の低減の観点から、燻煙装置の装置を紙製とする試みがなされている。例えば、燻煙剤の側壁部、蓋部、底部を紙製とした装置の提案がなされている(例えば、特許文献1参照)。
【先行技術文献】
【特許文献】
【0007】
特許第6082176号公報
【発明の概要】
【発明が解決しようとする課題】
【0008】
特許文献1の開示技術によれば、燻煙剤を紙製とする提案がなされているが、研究段階の提案であり、実用化を想定したものではなかった。また、燻煙剤装置を梱包するパッケージまで無くすことについては、開示も示唆もされていなかった。
【0009】
そこで本発明は、上述した背景を鑑みて案出されたものであり、その目的とするところは、梱包するパッケージを無くし、全紙化を実現可能で、継ぎ目からスムーズに開封可能な燻煙剤用容器の紙蓋及び燻煙剤用容器を提供することにある。
【課題を解決するための手段】
【0010】
第1発明に係る燻煙剤用容器の紙蓋は、燻煙剤用容器の紙蓋であって、上記紙蓋は少なくとも天板部を有し、上記天板部に略円形状の燻煙用開口部を形成するための同心円状の円状ミシン目が設けられ、上記円状ミシン目に囲まれた領域の基端に開封用ミシン目が形成され、上記円状ミシン目は、複数の切込みと複数の継ぎ目を有し、上記各切込みは、上記開封用ミシン目を基端として他端へ向けた開封進行方向に対して互いに重複することを特徴とする。
(【0011】以降は省略されています)
この特許をJ-PlatPat(特許庁公式サイト)で参照する
関連特許
東罐興業株式会社
集積支援システム
1か月前
東罐興業株式会社
シート状部材搬送装置
1か月前
東罐興業株式会社
容器集積装置及び容器集積方法
1か月前
東罐興業株式会社
テープ搬送装置およびテープ搬送方法
1か月前
東罐興業株式会社
燻煙剤用容器の紙蓋及び燻煙剤用容器
1か月前
東罐興業株式会社
燻煙剤用容器の紙蓋及び燻煙剤用容器
1か月前
東罐興業株式会社
スリーブ分離装置及びスリーブ分離方法
1か月前
東罐興業株式会社
集積支援システムに用いられる逆戻り抑制装置
1か月前
東罐興業株式会社
使用済み容器回収装置及び使用済み容器回収装置の使用方法
今日
東罐興業株式会社
中皿付き容器
2か月前
東罐興業株式会社
テープ貼り付け状態の検査装置およびテープ貼り付け状態の検査方法
1か月前
東洋製罐グループホールディングス株式会社
ガスバリア性及び層間密着性を有する積層体
1か月前
個人
束ね具
17日前
個人
収容箱
4か月前
個人
コンベア
6か月前
個人
容器
10か月前
個人
段ボール箱
8か月前
個人
ゴミ収集器
8か月前
個人
段ボール箱
7か月前
個人
テープ引出機
17日前
個人
土嚢運搬器具
9か月前
個人
角筒状構造体
6か月前
個人
楽ちんハンド
6か月前
個人
バンド
3か月前
個人
宅配システム
8か月前
個人
棒状体収容容器
21日前
個人
お薬の締結装置
7か月前
個人
包装容器
2か月前
個人
コード類収納具
9か月前
個人
閉塞装置
11か月前
個人
廃棄物収容容器
3か月前
個人
蓋閉止構造
5か月前
個人
把手付米袋
5か月前
個人
蓋閉止構造
5か月前
個人
積み重ね用補助具
3か月前
株式会社コロナ
梱包材
6か月前
続きを見る
他の特許を見る