TOP
|
特許
|
意匠
|
商標
特許ウォッチ
Twitter
他の特許を見る
10個以上の画像は省略されています。
公開番号
2025143934
公報種別
公開特許公報(A)
公開日
2025-10-02
出願番号
2024043458
出願日
2024-03-19
発明の名称
集積支援システムに用いられる逆戻り抑制装置
出願人
東罐興業株式会社
代理人
弁理士法人太田特許事務所
主分類
B65B
5/10 20060101AFI20250925BHJP(運搬;包装;貯蔵;薄板状または線条材料の取扱い)
要約
【課題】帯状包装体の搬送時における逆戻りを抑制しつつ、万が一逆戻りが発生した場合でも作業者が包装体の計数を誤ってカウントしてしまうことを抑制可能な集積支援システムに用いられる逆戻り抑制装置を提供する。
【解決手段】本発明の逆戻り抑制装置は、受入箱と集積箱との間に配置されて受入箱から集積箱へ移送される帯状包装体が載置される作業面と、作業面のうち受入箱に近い入口側に設けられて受入箱から作業面上を通過する帯状包装体に収納された内容物の通過数を計測可能な入口側計数センサと、受入箱と作業面との間に配置されて帯状包装体と接触して作業面に向けて帯状包装体が移送される順方向にだけ回転可能なローラ機構と、を含んでなる。
【選択図】図6
特許請求の範囲
【請求項1】
互いの端部が分離可能に連結された帯状包装体を収容する受入箱から、作業者が前記帯状包装体を引き込んで集積箱に箱詰めする集積支援システムに用いられる逆戻り抑制装置であって、
前記受入箱と前記集積箱との間に配置されて、前記受入箱から前記集積箱へ移送される前記帯状包装体が載置される作業面と、
前記作業面のうち前記受入箱に近い入口側に設けられて、前記受入箱から前記作業面上を通過する前記帯状包装体に収納された内容物の通過数を計測可能な入口側計数センサと、
前記受入箱と前記作業面との間に配置されて、前記帯状包装体と接触して前記作業面に向けて前記帯状包装体が移送される順方向にだけ回転可能なローラ機構と、
を含んでなる、逆戻り抑制装置。
続きを表示(約 710 文字)
【請求項2】
前記ローラ機構より上流側に配置されて、前記入口側計数センサの検出領域に前記内容物が到達するように前記作業面上へ移送される前記内容物の位置を規制するガイド手段をさらに備えてなる、請求項1に記載の逆戻り抑制装置。
【請求項3】
前記入口側計数センサをその上面で支持すると共に、前記作業面上を移送される前記帯状包装体の上方にその底面が配置されて当該帯状包装体の浮き上がりを抑制可能なフィルム押さえ部材をさらに備えてなる、請求項2に記載の逆戻り抑制装置。
【請求項4】
前記ローラ機構は、
前記帯状包装フィルムと接触可能な滑り止め手段を有するローラと、
前記ローラを前記順方向に回転可能に支持するワンウェイクラッチ機構と、
を含んで構成されてなる、請求項1~3のいずれか一項に記載の逆戻り抑制装置。
【請求項5】
前記ローラのうち前記帯状包装体と接触する接触面の鉛直方向における位置は、前記作業面の前記鉛直方向における位置より高い、請求項4に記載の逆戻り抑制装置。
【請求項6】
前記入口側計数センサは、
前記作業面の上で移送される前記帯状包装体の上方に配置可能で前記内容物の通過数を検出する第1計数センサと、
前記帯状包装体の移送方向に関して前記第1計数センサよりも下流側に設けられて、前記第1計数センサを通過した前記内容物を検出可能な第2計数センサと、を含み、
前記第1計数センサ及び前記第2計数センサの双方を通過したときに前記内容物の通過数が計測される、請求項4に記載の逆戻り抑制装置。
発明の詳細な説明
【技術分野】
【0001】
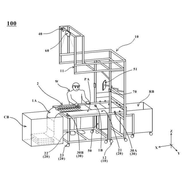
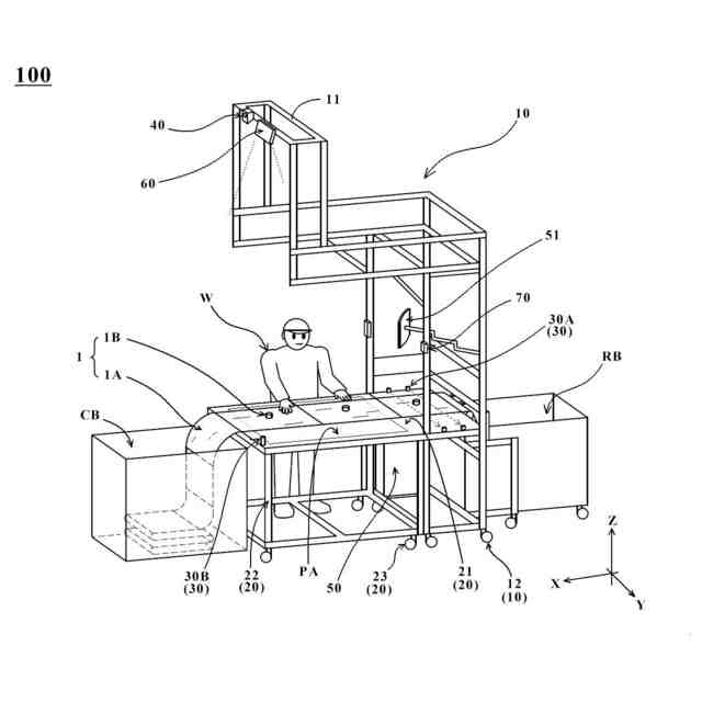
本発明は、受入箱に収容された複数の包装体を作業者が纏めて集積箱に箱詰めする集積作業を支援可能な集積支援システムに用いられる逆戻り抑制装置に関する。
続きを表示(約 1,600 文字)
【背景技術】
【0002】
例えば特許文献1に例示されるように、BIB(Bag In Box)を製造するBIB製造装置が既知である。このBIBは、箱入り袋の略称であって、例えば飲料水などの物品が収容された物品入り袋をダンボール箱などの箱体に収納したものである。
【0003】
上記したBIBを製造する際には、飲料水などの物品を収容するための袋(包装体)が用いられる。かような包装体は、ポリエチレン樹脂などの合成樹脂で形成された密閉型のシート状袋本体と、このシート状袋本体の一方の面に取り付けられたスパウトなどの注出口部材とから構成されている。包装体は、例えば特許文献1において「袋連続体」として開示されているように、互いの端部が分離可能に連結された帯状となってBIB製造装置へ搬送され得る。
【先行技術文献】
【特許文献】
【0004】
特開2000-190402号公報
【発明の開示】
【発明が解決しようとする課題】
【0005】
上述したとおりBIB製造装置ではBIBを連続的に製造のため多数の包装体が必要となる。従ってBIB製造装置に供給される複数の包装体は、互いの端部が破断可能に連結されて帯状包装体の形態で予め定められた規定数だけ纏めて集積箱に集積される。しかしながら従来における集積箱への集積作業は、多種多様な品種や集積態様に対応せねばならないなど種々の観点から、自動化することが必ずしも容易ではなく作業員の人手によって行われている。
【0006】
そのため、上記した集積作業時において何らかの要因で逆方向に帯状包装体が戻されたときには計数違いなど人為的なミスが生じやすく、集積すべき規定数とは異なった数で集積箱へ包装体が収容されることが起こり得る。このように自動化の困難な包装体の集積作業では、如何にして人為的なミスを抑制して規定数の包装体を集積箱に集積するかが重要となる。
【0007】
本発明は、上記した課題を一例に鑑みて為されたものであり、帯状包装体の搬送時における逆戻りを抑制しつつ、万が一逆戻りが発生した場合でも作業者が包装体の計数を誤ってカウントしてしまうことを抑制可能な集積支援システムに用いられる逆戻り抑制装置を提供することを目的とする。
【課題を解決するための手段】
【0008】
本発明の一実施形態における集積支援システムに用いられる逆戻り抑制装置は、(1)互いの端部が分離可能に連結された帯状包装体を収容する受入箱から、作業者が前記帯状包装体を引き込んで集積箱に箱詰めする集積支援システムに用いられる逆戻り抑制装置であって、前記受入箱と前記集積箱との間に配置されて、前記受入箱から前記集積箱へ移送される前記帯状包装体が載置される作業面と、前記作業面のうち前記受入箱に近い入口側に設けられて、前記受入箱から前記作業面上を通過する前記帯状包装体に収納された内容物の通過数を計測可能な入口側計数センサと、前記受入箱と前記作業面との間に配置されて、前記帯状包装体と接触して前記作業面に向けて前記帯状包装体が移送される順方向にだけ回転可能なローラ機構と、を含んでなる。
【0009】
また、上記(1)に記載の逆戻り抑制装置においては、(2)前記ローラ機構より上流側に配置されて、前記入口側計数センサの検出領域に前記内容物が到達するように前記作業面上へ移送される前記内容物の位置を規制するガイド手段をさらに備えてなることが好ましい。
【0010】
また、上記(2)に記載の逆戻り抑制装置においては、(3)前記入口側計数センサをその上面で支持すると共に、前記作業面上を移送される前記帯状包装体の上方にその底面が配置されて当該帯状包装体の浮き上がりを抑制可能なフィルム押さえ部材をさらに備えてなることが好ましい。
(【0011】以降は省略されています)
この特許をJ-PlatPat(特許庁公式サイト)で参照する
関連特許
東罐興業株式会社
集積支援システム
1か月前
東罐興業株式会社
シート状部材搬送装置
1か月前
東罐興業株式会社
容器集積装置及び容器集積方法
1か月前
東罐興業株式会社
テープ搬送装置およびテープ搬送方法
1か月前
東罐興業株式会社
燻煙剤用容器の紙蓋及び燻煙剤用容器
1か月前
東罐興業株式会社
燻煙剤用容器の紙蓋及び燻煙剤用容器
1か月前
東罐興業株式会社
スリーブ分離装置及びスリーブ分離方法
1か月前
東罐興業株式会社
集積支援システムに用いられる逆戻り抑制装置
1か月前
東罐興業株式会社
使用済み容器回収装置及び使用済み容器回収装置の使用方法
今日
東罐興業株式会社
中皿付き容器
2か月前
東罐興業株式会社
テープ貼り付け状態の検査装置およびテープ貼り付け状態の検査方法
1か月前
東洋製罐グループホールディングス株式会社
ガスバリア性及び層間密着性を有する積層体
1か月前
個人
束ね具
17日前
個人
収容箱
4か月前
個人
コンベア
6か月前
個人
容器
10か月前
個人
段ボール箱
8か月前
個人
ゴミ収集器
8か月前
個人
段ボール箱
7か月前
個人
テープ引出機
17日前
個人
土嚢運搬器具
9か月前
個人
角筒状構造体
6か月前
個人
楽ちんハンド
6か月前
個人
バンド
3か月前
個人
宅配システム
8か月前
個人
棒状体収容容器
21日前
個人
お薬の締結装置
7か月前
個人
包装容器
2か月前
個人
コード類収納具
9か月前
個人
閉塞装置
11か月前
個人
廃棄物収容容器
3か月前
個人
蓋閉止構造
5か月前
個人
把手付米袋
5か月前
個人
蓋閉止構造
5か月前
個人
積み重ね用補助具
3か月前
株式会社コロナ
梱包材
6か月前
続きを見る
他の特許を見る