TOP
|
特許
|
意匠
|
商標
特許ウォッチ
Twitter
他の特許を見る
10個以上の画像は省略されています。
公開番号
2025147364
公報種別
公開特許公報(A)
公開日
2025-10-07
出願番号
2024047581
出願日
2024-03-25
発明の名称
スリーブ分離装置及びスリーブ分離方法
出願人
東罐興業株式会社
代理人
個人
,
個人
,
個人
主分類
B65G
59/10 20060101AFI20250930BHJP(運搬;包装;貯蔵;薄板状または線条材料の取扱い)
要約
【課題】カール部のないスリーブのスタックからの分離を簡単な構造で自動化することにより、作業の効率化を図るスリーブ分離装置及びスリーブ分離方法を提供する。
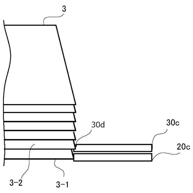
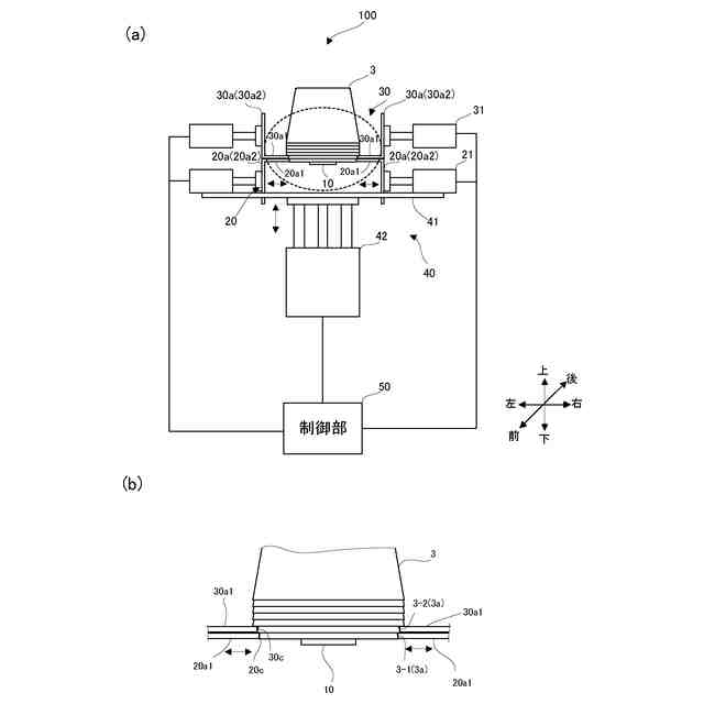
【解決手段】スリーブ分離装置100は、第1のスリーブ3-1の広径側の端部3aの外周を押圧する第1の押圧部20と、第1のスリーブ3-1に重ねられた第2のスリーブ3-2の広径側の端部3aの外周を押圧する第2の押圧部30と、を備える。第1の押圧部20により変形した第1のスリーブ3-1と、第2の押圧部30により変形した第2のスリーブ3-2が重ねられた状態で、第2のスリーブ3-2の広径側の端部3aでスリーブ3の軸方向と垂直な面で切断したとき、第1のスリーブ3-1の第1の切断形状と、第2のスリーブ3-2の第2の切断形状が、相似形となり、第1のスリーブ3-1と、第2のスリーブ3-2との間に隙間が形成され、第1のスリーブ3-1がスタックから分離される。
【選択図】図3
特許請求の範囲
【請求項1】
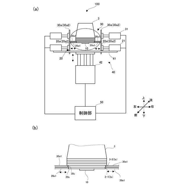
カール部のないテーパ状のスリーブを複数重ねて形成されたスタックから、スリーブを分離するスリーブ分離装置であって、
重ねられたスリーブの広径側の最初の第1のスリーブにおいて、当該第1のスリーブの広径側の端部の外周を押圧する第1の押圧部と、
前記第1のスリーブに重ねられた第2のスリーブの広径側の端部の外周を押圧する第2の押圧部と、を備え、
前記第1の押圧部で押圧されて変形した前記第1のスリーブと、前記第2の押圧部で押圧されて変形した前記第2のスリーブが重ねられた状態で、前記第2のスリーブの広径側の端部でスリーブの軸方向と垂直な面で切断したとき、前記第1のスリーブの第1の切断形状と、前記第2のスリーブの第2の切断形状が、相似形となり、
前記第1の切断形状に変形された前記第1のスリーブと、前記第2の切断形状に変形された前記第2のスリーブとの間に隙間が形成され、前記第1のスリーブが前記スタックから分離される、
スリーブ分離装置。
続きを表示(約 1,400 文字)
【請求項2】
前記第1の押圧部は、対向して配置された一対の第1の押圧片を備え、当該一対の第1の押圧片が前記第1のスリーブの外周に接触する方向に移動することにより、前記第1のスリーブに押圧力を付与する、
請求項1に記載のスリーブ分離装置。
【請求項3】
前記第2の押圧部は、対向して配置された一対の第2の押圧片を備え、当該一対の第2の押圧片が前記第2のスリーブの外周に接触する方向に移動することにより、前記第2のスリーブに押圧力を付与する、
請求項2に記載のスリーブ分離装置。
【請求項4】
前記スリーブは円筒形に形成され、前記第1の切断形状と、前記第2の切断形状は、楕円形である、
請求項1に記載のスリーブ分離装置。
【請求項5】
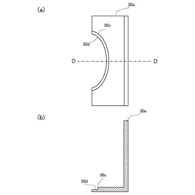
前記一対の第1の押圧片の対向する端部には、一対の第1の把持部が形成され、当該一対の第1の把持部は、上面視で円弧状に形成され、当該円弧の直径寸法は、前記スリーブの最大外径寸法より大きい、
請求項2に記載のスリーブ分離装置。
【請求項6】
前記一対の第2の押圧片の対向する端部には、一対の第2の把持部が形成され、当該一対の第2の把持部は、前記第2のスリーブの広径側の端部を支持する段部を備える、
請求項3に記載のスリーブ分離装置。
【請求項7】
前記第1のスリーブを支持する支持部を更に備え、
前記支持部は、前記第1の押圧部が前記第1のスリーブを押圧すると、前記第1のスリーブの支持を解除し、
前記第1のスリーブが分離されると、前記第2のスリーブを支持する、
請求項1に記載のスリーブ分離装置。
【請求項8】
前記スリーブは、容器本体とスリーブから形成される複合容器の前記容器本体の胴部外周に装着されるスリーブである、
請求項1に記載のスリーブ分離装置。
【請求項9】
カール部のないテーパ状のスリーブを複数重ねて形成されたスタックから、スリーブを分離するスリーブ分離方法であって、
重ねられたスリーブの広径側の最初の第1のスリーブにおいて、当該第1のスリーブの広径側の端部の外周を押圧して、前記第1のスリーブを変形させる第1の変形工程と、
前記第1のスリーブに重ねられた第2のスリーブの広径側の端部の外周を押圧して、前記第2のスリーブを変形させる第2の変形工程と、
変形された前記第1のスリーブに変形された前記第2のスリーブが重ねられた状態で、前記第2のスリーブの広径側の端部でスリーブの軸方向と垂直な面で切断した切断面において、変形された前記第1のスリーブと変形された前記第2のスリーブの間に空間が形成され、前記第1のスリーブを前記スタックから分離する分離工程と、を備える、
スリーブ分離方法。
【請求項10】
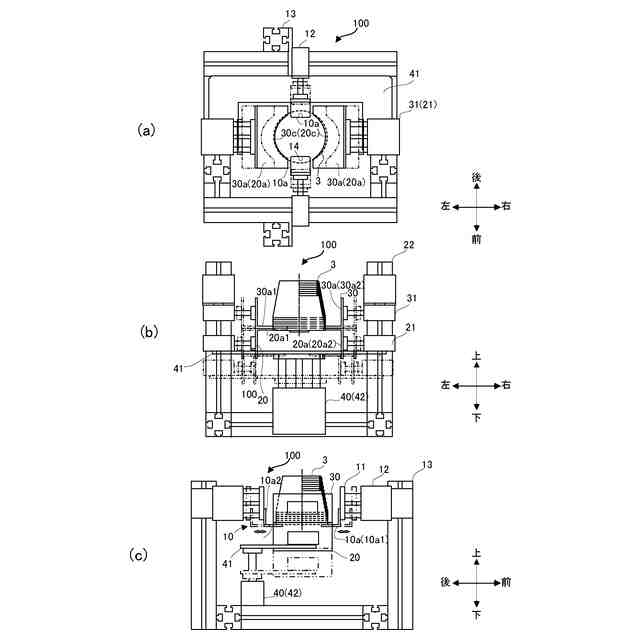
前記スタックは、上下方向に重ねられたスリーブにより形成され、
前記第1の変形工程では、一番下に位置する前記第1のスリーブに押圧力を付与して、前記第1のスリーブを変形させ、
前記第2の変形工程では、下から2番目に位置する前記第2のスリーブに押圧力を付与して、前記第2のスリーブを変形させ、
前記分離工程では、前記第1のスリーブを落下させることで、前記第1のスリーブを分離させる、
請求項9に記載のスリーブ分離方法。
発明の詳細な説明
【技術分野】
【0001】
本発明は、複数のスリーブが積層されたスタックから、スリーブを分離するスリーブ分離装置及びスリーブ分離方法に関する。
続きを表示(約 1,500 文字)
【背景技術】
【0002】
容器の製造工程において、複数のスリーブが積層されたスタックから1つのスリーブを分離する際、スリーブの開口部に外側に折曲げられたカール部がある場合には、例えば、カール部に爪を引っ掛けるなど、カール部を利用してスリーブを分離している。
【0003】
カール部のないスリーブをスタックから分離する場合において、スリーブに底がある場合には、特許文献1に開示されたように、底に吸盤を吸い付けて分離していた。あるいは、作業者がひとつずつ手作業でスリーブを分離していた。
【先行技術文献】
【特許文献】
【0004】
特開平5-338805号公報
【発明の概要】
【発明が解決しようとする課題】
【0005】
特許文献1に記載された方法でスリーブを分離すると、分離した後の作業工程が、吸盤を使用することで複雑となる。また、底のないスリーブを分離するときには、作業者が手作業で分離するしかなかった。特に、食品が収納されたカップにスリーブを巻回して形成される複合容器において、スリーブを装着するには、熱処理したカップにスリーブを手作業でスタックから1つずつ外してカップに装着する必要がある。手作業によるスリーブの分離は、複合容器の最終工程を自動化できず、効率悪く、自動化が望まれていた。
【0006】
本発明は、上記実情に鑑みてなされたものであり、カール部のないスリーブのスタックからの分離を簡単な構造で自動化することにより、作業の効率化を図るスリーブ分離装置及びスリーブ分離方法を提供することを目的とする。
【課題を解決するための手段】
【0007】
本発明の第1の観点に係るスリーブ分離装置は、
カール部のないテーパ状のスリーブを複数重ねて形成されたスタックから、スリーブを分離するスリーブ分離装置であって、
重ねられたスリーブの広径側の最初の第1のスリーブにおいて、当該第1のスリーブの広径側の端部の外周を押圧する第1の押圧部と、
前記第1のスリーブに重ねられた第2のスリーブの広径側の端部の外周を押圧する第2の押圧部と、を備え、
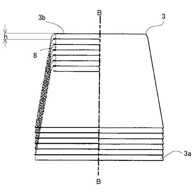
前記第1の押圧部で押圧されて変形した前記第1のスリーブと、前記第2の押圧部で押圧されて変形した前記第2のスリーブが重ねられた状態で、前記第2のスリーブの広径側の端部でスリーブの軸方向と垂直な面で切断したとき、前記第1のスリーブの第1の切断形状と、前記第2のスリーブの第2の切断形状が、相似形となり、
前記第1の切断形状に変形された前記第1のスリーブと、前記第2の切断形状に変形された前記第2のスリーブとの間に隙間が形成され、前記第1のスリーブが前記スタックから分離される。
【0008】
前記第1の押圧部は、対向して配置された一対の第1の押圧片を備え、当該一対の第1の押圧片が前記第1のスリーブの外周に接触する方向に移動することにより、前記第1のスリーブに押圧力を付与する、
こととしてもよい。
【0009】
前記第2の押圧部は、対向して配置された一対の第2の押圧片を備え、当該一対の第2の押圧片が前記第2のスリーブの外周に接触する方向に移動することにより、前記第2のスリーブに押圧力を付与する、
こととしてもよい。
【0010】
前記スリーブは円筒形に形成され、前記第1の切断形状と、前記第2の切断形状は、楕円形である、
こととしてもよい。
(【0011】以降は省略されています)
この特許をJ-PlatPat(特許庁公式サイト)で参照する
関連特許
東罐興業株式会社
紙製容器
2か月前
東罐興業株式会社
紙製容器
2か月前
東罐興業株式会社
集積支援システム
1か月前
東罐興業株式会社
紙製容器の検査方法
2か月前
東罐興業株式会社
シート状部材搬送装置
1か月前
東罐興業株式会社
容器集積装置及び容器集積方法
1か月前
東罐興業株式会社
テープ搬送装置およびテープ搬送方法
1か月前
東罐興業株式会社
燻煙剤用容器の紙蓋及び燻煙剤用容器
1か月前
東罐興業株式会社
燻煙剤用容器の紙蓋及び燻煙剤用容器
1か月前
東罐興業株式会社
スリーブ分離装置及びスリーブ分離方法
1か月前
東罐興業株式会社
集積支援システムに用いられる逆戻り抑制装置
1か月前
東罐興業株式会社
使用済み容器回収装置及び使用済み容器回収装置の使用方法
今日
東罐興業株式会社
中皿付き容器
2か月前
東罐興業株式会社
テープ貼り付け状態の検査装置およびテープ貼り付け状態の検査方法
1か月前
東洋製罐グループホールディングス株式会社
ガスバリア性及び層間密着性を有する積層体
1か月前
個人
束ね具
17日前
個人
収容箱
4か月前
個人
コンベア
6か月前
個人
容器
10か月前
個人
段ボール箱
8か月前
個人
ゴミ収集器
8か月前
個人
段ボール箱
7か月前
個人
テープ引出機
17日前
個人
土嚢運搬器具
9か月前
個人
角筒状構造体
6か月前
個人
楽ちんハンド
6か月前
個人
バンド
3か月前
個人
宅配システム
8か月前
個人
棒状体収容容器
21日前
個人
お薬の締結装置
7か月前
個人
包装容器
2か月前
個人
コード類収納具
9か月前
個人
閉塞装置
11か月前
個人
廃棄物収容容器
3か月前
個人
蓋閉止構造
5か月前
個人
把手付米袋
5か月前
続きを見る
他の特許を見る