TOP
|
特許
|
意匠
|
商標
特許ウォッチ
Twitter
他の特許を見る
10個以上の画像は省略されています。
公開番号
2025178850
公報種別
公開特許公報(A)
公開日
2025-12-09
出願番号
2024085693
出願日
2024-05-27
発明の名称
箱詰め装置
出願人
大森機械工業株式会社
代理人
個人
主分類
B31B
50/52 20170101AFI20251202BHJP(紙,板紙または紙と同様の方法で加工される材料からなる物品の製造;紙,板紙または紙と同様の方法で加工される材料の加工)
要約
【課題】 ピローボックスカートン用の胴貼りカートンのフラップをきれいに折り曲げることができる箱詰め装置を提供する
【構成】 ピローボックスカートンの下側フラップ6を起こす下側フラップ起こし装置26と、起こされた下側フラップに糊をつける糊付け装置28と、上側フラップ5を倒す上側フラップ倒し装置27を備える。下側フラップ起こし装置で起こされた下側フラップは、上側フラップ倒し装置に至ると第2折り線7bの部分等の反力により外側に少し開くように倒れるため、その倒れた下側フラップを付勢して起立させる抑え板部材61を有する下側フラップ位置決め装置60を備える。上側フラップ倒し装置は、抑え板部材の先端部が第1折り線7aに対向するように下側フラップを抑えてから上側フラップを倒すように構成する。
【選択図】 図3
特許請求の範囲
【請求項1】
製品を収納する胴体部を構成する第1面部及び第2面部を有し、
前記第1面部と前記第2面部は、折り畳まれた状態で少なくとも一部が重なるとともに両側縁同士が直接または側面部を介して繋がり、起こした状態では幅方向に湾曲するものであり、
前記第1面部の前記繋がっていない両端には第1フラップを有し、
前記第2面部の前記繋がっていない両端には第2フラップを有し、
前記第1面部と前記第1フラップとの境界並びに前記第2面部と前記第2フラップの境界が曲線状となる胴貼りカートンに対し前記製品を収納する箱詰め装置であって、
前記胴貼りカートンを間欠搬送する搬送装置と、
前記搬送装置の一時停止エリアにそれぞれ配置される、折り畳まれた前記胴貼りカートンを開くカートン開函装置と、前記胴貼りカートンの開放された部位から前記胴体部内に前記製品を供給する製品供給装置と、前記第2フラップを前記第2面部との境界部分から折り曲げる第2フラップ折り曲げ装置と、前記第1フラップを前記第1面部との境界部分から折り曲げる第1フラップ折り曲げ装置を備え、
前記第2フラップ折り曲げ装置で折り曲げられた前記第2フラップは、少なくとも前記第1フラップ折り曲げ装置に至った際には外に開いた姿勢となるようにし、
前記第1フラップ折り曲げ装置は、前記第2フラップを抑えて所定位置に位置決めする位置決め装置を備え、
前記所定位置は、前記第1フラップの折り曲げに干渉しない位置であり、
前記第1フラップ折り曲げ装置は、前記位置決め装置で前記第2フラップを前記所定位置に位置させた状態で前記第1フラップを折り曲げるようにし、
前記位置決め装置が前記所定位置にある前記第2フラップから離反すると、前記第2フラップは前記第1フラップ折り曲げ装置で折り曲げられた前記第1フラップに接触し得るようにした
箱詰め装置。
続きを表示(約 650 文字)
【請求項2】
前記位置決め装置は、前記第2フラップに接触して前記胴体部側に接近する方向に付勢する抑え部材と、その抑え部材を前記胴体部に向けて接近離反移動させる駆動手段を備え、
前記所定位置は、前記抑え部材の先端側或いは前記第2フラップの開放端側が、前記第1面部と前記第1フラップの境界部分に対向する位置である請求項1に記載の箱詰め装置。
【請求項3】
前記駆動手段は、前記抑え部材を前記胴体部に向けて斜め方向から接近離反するように構成する請求項2に記載の箱詰め装置。
【請求項4】
前記第1フラップまたは前記第2フラップの表面に糊を付着させる糊付け装置を備え、
前記第1フラップ折り曲げ装置は、前記第1フラップを折り曲げるとともに、前記胴体部側に付勢し、前記第1フラップと前記第2フラップを前記糊により接着させる機能を備える請求項1~3のいずれか1項に記載の箱詰め装置。
【請求項5】
前記第1フラップまたは前記第2フラップの表面に糊を付着させる糊付け装置を備え、
前記第1フラップ折り曲げ装置は、前記第1フラップを折り曲げるとともに、前記胴体部側に付勢し、前記第1フラップと前記第2フラップを前記糊により接着させる機能を備え、
前記糊付け装置は、前記第2フラップの複数箇所に前記糊を付着させるようにし、
前記抑え部材は、前記糊が付着されていない領域に接触するよう構成する請求項2または3に記載の箱詰め装置。
発明の詳細な説明
【技術分野】
【0001】
本発明は、箱詰め装置に関するものである。
続きを表示(約 1,800 文字)
【背景技術】
【0002】
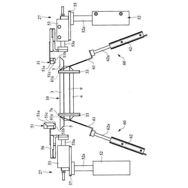
製品を収納する箱は、多種多様のものがあり、そのうちの1つに、ピローボックスカートン(「ピローケース」と称されることもある)がある。図1(a)に示すように、このピローボックスカートン1は、製品を収納する胴体部2が上面部3と下面部4の側縁同士が繋がるとともに、上面部3と下面部4の非接続の両端が開口し、その開口側の上面部3の両端に繋がる上側フラップ5との接続部分の境界となる第1折り線7a並びに開口側の下面部4の両端に繋がる下側フラップ6との接続部分の境界となる第2折り線7bが曲線となり、製函して組み立てた状態では曲線に合わせて箱の表面が湾曲し、幅方向中央側が上下に膨らんだ枕状の形態となる。
【0003】
図1(b)は、ピローボックスカートン1の展開図(カートンブランクス(カートンブランク))であり、図示の例では上面部3の一方の側縁に糊代片8を設ける。そして、上面部3と下面部4の境界の側縁を折り曲げるとともに、糊代片8を下面部4に貼り付けることで、図1(c)に示す折り畳まれた胴貼りカートン(セットアップカートン)10が構成される。
【0004】
特許文献1には、図1(c)に示す胴貼りカートン10を1枚ずつ取り出し、上面部3と下面部4が互いに湾曲して膨らんだ状態の胴体部2を形成し、その胴体部2内に製品を供給した後、下側フラップ6を第2折り線7bから折り曲げて起こすとともに、上側フラップ5を第1折り線7aから折り曲げて倒すことで箱詰め処理を行う装置が開示されている。
【0005】
また、ピローボックスカートン1は、例えば、図2に展開図を示すように、上面部3と下面部4の間に、側面部9を配置し、側面部9を介して繋がるような構成にしたタイプもある。この場合も、上面部3と上側フラップ5の接続部分並びに下面部4と下側フラップ6の接続部分は曲線状になり、製函した状態では、胴体部2は、上面部3と下面部4が幅方向中央が膨らんだ枕状に形成される。
【先行技術文献】
【特許文献】
【0006】
特開2023-114939号公報
【発明の概要】
【発明が解決しようとする課題】
【0007】
特許文献1に開示された装置では、胴貼りカートン10を間欠搬送し、一時停止中に順次所定の処理を行う。すなわち、装置は、下側フラップ6を起立させる処理を行うと、胴貼りカートン10を間欠搬送し、適宜位置で一時停止した胴貼りカートン10(下側フラップ6が起きて開口部を閉じた状態)に対して上側フラップ5を下方に折り曲げる処理を行う。この時、下側フラップ6が外側に倒れた姿勢になり、その下側フラップ6の先端が上側フラップ5の境界の第1折り線7aより外側に位置すると、下側フラップ6の先端が上側フラップ5に接触し、上側フラップ5の折り曲げを邪魔する。その結果、上側フラップ5は、第1折り線7aから折り曲げができなくなる。
【0008】
一方、前工程で下側フラップ6を胴体部2の内側にしっかり折り込むようにすると、下側フラップ6は手前側に倒れず、上記の事態の発生を抑制できる。しかし、その場合、立ち上げた上側フラップ5と下側フラップ6は、非接触の状態となったり、軽く触れる状態となったりする。そして、例えば下側フラップ6が胴体部2内に倒れこみ上側フラップ5から離れた状態になり、その状態が外部から視認可能になると見た目が良くない。
【0009】
また例えば、下側フラップ6と上側フラップ5を糊付けしようとした場合、上側フラップ5と下側フラップ6は非接触の状態では接着自体ができず、また、軽く接触する程度だと、上側フラップ5と下側フラップ6との間で糊を加圧できず、きれいに、かつ確実に接着することができない。
【0010】
上述した課題はそれぞれ独立したものとして記載しているものであり、本発明は、必ずしも記載した課題の全てを解決できる必要はなく、少なくとも一つの課題が解決できればよい。またこの課題を解決するための構成についても単独で分割出願・補正等により権利取得する意思を有する。
【課題を解決するための手段】
(【0011】以降は省略されています)
この特許をJ-PlatPat(特許庁公式サイト)で参照する
関連特許
大森機械工業株式会社
製袋器
1か月前
大森機械工業株式会社
箱詰め装置
2日前
個人
高剛性段ボール
9か月前
デュプロ精工株式会社
加工機
2日前
大森機械工業株式会社
箱詰め装置
2日前
個人
紙製ダンボールの加工器具、成形方法
5か月前
株式会社メタルクリエイション
貼合機
1か月前
株式会社メタルクリエイション
窓貼機
6か月前
エントラスト株式会社
袋体の製造方法
7か月前
デュプロ精工株式会社
塗布装置及び加工機
2日前
東罐興業株式会社
シート状部材搬送装置
2か月前
個人
パッケージ箱作成用具およびパッケージ箱作成方法
4か月前
株式会社ユーシン
段ボール部材、
5か月前
サクラパックス株式会社
矯正装置
6か月前
三菱重工機械システム株式会社
処理装置
8か月前
株式会社ユウコス
シート加工装置
6か月前
TOPPANホールディングス株式会社
トレー製造装置
9か月前
トヨタ自動車株式会社
フィルム製造装置及びフィルム製造方法
8か月前
株式会社ダイワハイテックス
箱型製造装置、及び箱型製造方法
8か月前
株式会社アプリス
カップ容器及び製造方法
4か月前
東罐興業株式会社
テープ搬送装置およびテープ搬送方法
2か月前
TOPPANホールディングス株式会社
口栓溶着方法
10か月前
カモ井加工紙株式会社
付箋及び付箋の製造方法
1か月前
東洋アルミエコープロダクツ株式会社
保持枠付き容器の組み立て治具
3か月前
株式会社東京自働機械製作所
ジッパ貼り付け装置
6か月前
三菱重工機械システム株式会社
搬送装置、搬送方法
2か月前
エステー産業株式会社
収容容器の製造方法及び製造装置
8か月前
株式会社トーモク
封筒型パッケージの製造方法
5か月前
デュプロ精工株式会社
加工装置
10か月前
株式会社協和製作所
積層段ボールシート及び製造方法
2か月前
王子ホールディングス株式会社
キッチンタオルロール
8か月前
株式会社トーモク
封筒型パッケージの製造方法
5か月前
株式会社トーモク
封筒型パッケージの製造方法
8か月前
株式会社トーモク
封筒型パッケージの製造方法
8か月前
富士フイルム株式会社
加工装置、及び袋状部材の製造方法
5か月前
サクラパックス株式会社
包装用箱の製造方法および包装用箱
5か月前
続きを見る
他の特許を見る