TOP
|
特許
|
意匠
|
商標
特許ウォッチ
Twitter
他の特許を見る
10個以上の画像は省略されています。
公開番号
2025158331
公報種別
公開特許公報(A)
公開日
2025-10-17
出願番号
2024060763
出願日
2024-04-04
発明の名称
製袋器
出願人
大森機械工業株式会社
代理人
個人
主分類
B65B
41/00 20060101AFI20251009BHJP(運搬;包装;貯蔵;薄板状または線条材料の取扱い)
要約
【課題】 グリップが高い材質からなる帯状の包装フィルムを、綺麗に筒状に製袋することができる製袋器を提供する
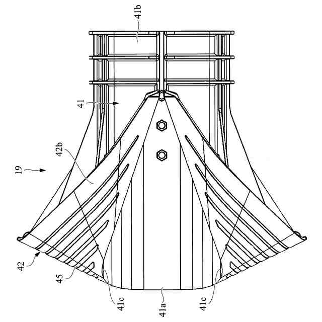
【構成】 帯状の包装フィルムを筒状に形成する製袋器本体41と、製袋器本体の搬入側の縁部に接続され外側に向けて広がる襟部位42を備え、包装フィルムは、襟部位の表面に沿って移動されて搬入側から製袋器本体内に進入するように構成される製袋器19である。襟部位の表面に移動方向に沿って延びる複数の溝部45を設け、表面の縁部側の周縁部位46には溝部を設けず、周縁部位に包装フィルムが接触した状態で移動されるように構成する。
【選択図】 図2
特許請求の範囲
【請求項1】
帯状の包装フィルムを筒状に形成する製袋器本体と、
前記製袋器本体の搬入側の縁部に接続され外側に向けて広がる襟部位を備え、
前記包装フィルムは、前記襟部位の表面に沿って移動されて前記搬入側から前記製袋器本体内に進入するように構成される製袋器であって、
前記襟部位の前記表面に凹部を設け、
前記表面の前記縁部側の周縁部位には前記凹部を設けず、前記包装フィルムを前記周縁部位に接触した状態で移動し進路を変えて前記製袋器本体内に進入させるように構成する製袋器。
続きを表示(約 760 文字)
【請求項2】
前記凹部は、前記襟部位における前記包装フィルムの移動方向に沿って延びる溝部であり、前記溝部を幅方向に複数設ける請求項1に記載の製袋器。
【請求項3】
前記溝部は、前記包装フィルムの移動方向と平行に配置する請求項2に記載の製袋器。
【請求項4】
前記溝部は、前記包装フィルムの移動方向に対し、所定角度傾斜して前記周縁部位側が前記襟部位の外側に向くように構成し、
複数の前記溝部は、幅方向の左右両側に配置する請求項2に記載の製袋器。
【請求項5】
前記襟部位における前記包装フィルムの経路長が同じ前記溝部の幅を等しくする請求項2から4のいずれか1項に記載の製袋器。
【請求項6】
前記溝部の幅は、前記経路長が長いほど広くする請求項5に記載の製袋器。
【請求項7】
帯状の包装フィルムを筒状に形成する製袋器本体と、
前記製袋器本体の搬入側の縁部に接続され外側に向けて広がる襟部位を備え、
前記包装フィルムは、前記襟部位の表面に沿って移動されて前記搬入側から前記製袋器本体内に進入するように構成される製袋器であって、
前記襟部位の前記表面の一部に前記包装フィルムに接触しない非接触部を設け、
前記表面の前記縁部側の周縁部位には前記非接触部を設けず、
前記襟部位に設けた前記非接触部を配置した周囲の前記包装フィルムに接触する接触部は、前記包装フィルムの移動面を基準として前記周縁部位の高さ以下に構成する製袋器。
【請求項8】
前記非接触部或いは前記凹部を設けない前記周縁部位の領域は、前記製袋器本体の側面に繋がるコーナー部分を広くする請求項1または7に記載の製袋器。
発明の詳細な説明
【技術分野】
【0001】
本発明は、製袋器に関するものである。
続きを表示(約 2,000 文字)
【背景技術】
【0002】
ピロー包装機は、例えば原反ロールに巻き取られた帯状の包装フィルムを連続して包装機本体の搬入側の製袋器に供給し、その製袋器を通過する際に筒状に製袋する。そして、製袋器の下流側に配置したセンターシール装置にて、製袋器を通して筒状に製袋されて包装フィルムの両側縁部同士が重ね合わされた部位をシールすることにより筒状に成形する。また、この製袋器の上流側には製品搬送供給装置を配置し、その製品搬送供給装置から所定間隔毎に搬送される製品が、製袋器内に供給される。これにより、製品が製袋器内を通過すると、筒状の包装フィルム内に所定間隔毎に収納されることになり、その製品は筒状の包装フィルムとともに搬送される。そして、ピロー包装機の搬出側に配置されたエンドシール装置にて、筒状の包装フィルムを所定間隔毎に横方向に横断するようにシール・カットすることにより、製品を内包するピロー包装体が製造される。
【0003】
そして、帯状の包装フィルムを筒状に製袋する製袋器は、包装フィルムを筒状に形成するとともに、その筒状の包装フィルム内に供給された製品の搬送面を構成する製袋器本体と、その製袋器本体の搬入側に配置され外側に広がる襟部位を備える。帯状の包装フィルムは、襟部位に接触した状態で搬送され、襟部位の形状に沿って案内され、徐々に筒状になるように幅方向で曲げられていき、製袋器本体内に進入することで筒状に製袋されつつ搬送方向に沿った左右の両側縁部同士が重ね合わされる。この種の製袋器は、例えば特許文献1に開示されたものがある。
【先行技術文献】
【特許文献】
【0004】
実開昭57-103830号公報
【発明の概要】
【発明が解決しようとする課題】
【0005】
包装フィルムの材質が、例えば粘着性が高いなどグリップ力が高い場合、包装フィルムと襟部分との間の接触抵抗が大きく、下流側のピンチローラ等で包装フィルムをうまく引っ張ることができず、包装フィルムがスムーズに移動されないことがある。その結果、包装フィルムが伸びたり、傷がついたり、破断したりして綺麗に製袋できないことがある。
【0006】
上述した課題はそれぞれ独立したものとして記載しているものであり、本発明は、必ずしも記載した課題の全てを解決できる必要はなく、少なくとも一つの課題が解決できればよい。またこの課題を解決するための構成についても単独で分割出願・補正等により権利取得する意思を有する。
【課題を解決するための手段】
【0007】
上述した課題を解決するために、本発明の製袋器は、(1)帯状の包装フィルムを筒状に形成する製袋器本体と、前記製袋器本体の搬入側の縁部に接続され外側に向けて広がる襟部位を備え、前記包装フィルムは、前記襟部位の表面に沿って移動されて前記搬入側から前記製袋器本体内に進入するように構成される製袋器であって、前記襟部位の前記表面に凹部を設け、前記表面の前記縁部側の周縁部位には前記凹部を設けず、前記包装フィルムを前記周縁部位に接触した状態で移動し進路を変えて前記製袋器本体内に進入させるように構成するとよい。
【0008】
このようにすると、凹部を設けることで襟部位と包装フィルムとの接触面積が減少し、接触抵抗が小さくなることから包装フィルムは襟部位の区間をスムーズに移動する。そして、周縁部位は凹部が設けられていないため周方向に段差無く連続した表面となり、包装フィルムの全体が接触した状態で移動し、製袋器本体の縁部に至り、そこで進路が変更されて製袋器本体内に案内される。よって周縁部位は周方向にわたり滑らかな表面となり進路変更時に包装フィルムに傷が付くことが抑制される。さらに周縁部位は、包装フィルムの全体が接触するので接触抵抗が大きくなり、移動時に上流側の凹部を設けた領域に比べて少し抵抗がかかる。これにより、製袋器本体内への折り返し直前の区間で包装フィルムに対して少しブレーキをかけることができ、張力を発生させ製袋器本体の縁部の形状に沿って包装フィルムを曲げることができ、綺麗な筒状に製袋することかできる。
【0009】
(2)前記凹部は、前記襟部位における前記包装フィルムの移動方向に沿って延びる溝部とし、前記溝部を幅方向に複数設けるとよい。このようにすると、溝部の両側に存在する包装フィルムに接触する接触部位は、移動方向に沿うように延び、包装フィルムに対して移動方向に沿う方向に案内する力が発揮する。
【0010】
(3)前記溝部は、前記包装フィルムの移動方向と平行に配置するとよい。このようにすると、襟部位は、上記の包装フィルムに対して移動方向と平行な方向に案内する力が強くなり、安定して包装フィルムを移動し製袋器本体内に導くことができる。
(【0011】以降は省略されています)
この特許をJ-PlatPat(特許庁公式サイト)で参照する
関連特許
大森機械工業株式会社
製袋器
7日前
個人
収容箱
3か月前
個人
コンベア
5か月前
個人
段ボール箱
7か月前
個人
段ボール箱
6か月前
個人
容器
9か月前
個人
ゴミ収集器
6か月前
個人
宅配システム
6か月前
個人
角筒状構造体
5か月前
個人
バンド
2か月前
個人
楽ちんハンド
4か月前
個人
土嚢運搬器具
8か月前
個人
廃棄物収容容器
2か月前
個人
包装容器
1か月前
個人
お薬の締結装置
5か月前
個人
閉塞装置
10か月前
個人
コード類収納具
8か月前
株式会社バンダイ
物品
16日前
個人
蓋閉止構造
3か月前
個人
貯蔵サイロ
7か月前
株式会社和気
包装用箱
8か月前
個人
積み重ね用補助具
2か月前
個人
把手付米袋
4か月前
個人
蓋閉止構造
3か月前
株式会社コロナ
梱包材
5か月前
個人
ゴミ処理機
9か月前
三甲株式会社
容器
5か月前
個人
コード折り畳み器具
4か月前
個人
輸送積荷用動吸振器
6か月前
三甲株式会社
蓋体
7か月前
株式会社新弘
容器
2か月前
三甲株式会社
容器
5か月前
個人
搬送システム
6か月前
三甲株式会社
蓋体
9か月前
株式会社イシダ
搬送装置
6か月前
積水樹脂株式会社
接着剤
12か月前
続きを見る
他の特許を見る