TOP
|
特許
|
意匠
|
商標
特許ウォッチ
Twitter
他の特許を見る
10個以上の画像は省略されています。
公開番号
2025178872
公報種別
公開特許公報(A)
公開日
2025-12-09
出願番号
2024085723
出願日
2024-05-27
発明の名称
情報処理装置、情報処理方法およびプログラム
出願人
日本製鉄株式会社
代理人
弁理士法人 HARAKENZO WORLD PATENT & TRADEMARK
主分類
B65G
1/137 20060101AFI20251202BHJP(運搬;包装;貯蔵;薄板状または線条材料の取扱い)
要約
【課題】運搬体により運搬されるスクラップを好適に管理する。
【解決手段】情報処理装置(1)は、スクラップ群を山積みすることで形成されたスクラップ山の外観情報を取得する情報取得部(100)と、スクラップ山に新たなスクラップ群を山積みする前および山積みした後にそれぞれ取得した外観情報に基づいて、新たなスクラップ群が存在しているスクラップ山内の位置を特定する位置特定部(101)とを備えている。
【選択図】図3
特許請求の範囲
【請求項1】
運搬体により運搬される一群のスクラップであるスクラップ群を山積みすることで形成されたスクラップ山の外観形状についての外観情報を取得する情報取得部と、
前記スクラップ山に新たなスクラップ群を山積みする前および山積みした後にそれぞれ前記情報取得部が取得した前記外観情報に基づいて、前記新たなスクラップ群が存在している前記スクラップ山内の位置を特定する位置特定部と、を備えている、情報処理装置。
続きを表示(約 1,600 文字)
【請求項2】
前記位置特定部が前記新たなスクラップ群が存在している前記スクラップ山内の位置を特定したとき、前記位置特定部により特定された位置を示す位置情報が少なくとも含まれるロット情報を所定の記憶部に記憶するロット管理部を更に備えている、請求項1に記載の情報処理装置。
【請求項3】
前記スクラップ山の所定範囲に存在するまたは存在していた前記スクラップ群について前記ロット情報を前記記憶部から取得し、前記記憶部から取得した前記ロット情報に基づいた報知を行う報知部を更に備えている、請求項2に記載の情報処理装置。
【請求項4】
前記外観情報には、前記スクラップ山を撮影した撮影画像が含まれ、
前記ロット情報には、前記スクラップ山に前記新たなスクラップ群を山積みしたときに前記情報取得部が取得した前記撮影画像である第1撮影画像が更に含まれ、
前記報知部は、前記記憶部から取得した前記ロット情報に含まれる前記第1撮影画像を表示する、請求項3に記載の情報処理装置。
【請求項5】
前記ロット情報に含まれる前記第1撮影画像と、当該ロット情報の前記スクラップ群を前記スクラップ山から取り出すタイミングに前記情報取得部が取得した撮影画像である第2撮影画像との類似度を算出し、前記スクラップ山に当該ロット情報の前記スクラップ群の少なくとも1部が存在しているか否か判定する判定部を更に備え、
前記報知部は、前記判定部の判定結果を報知する、請求項4に記載の情報処理装置。
【請求項6】
前記位置特定部は、前記スクラップ山からスクラップを取り出す前および取り出した後にそれぞれ前記情報取得部が取得した前記外観情報に基づいて、前記スクラップ山からスクラップが取り出されたスクラップ群を特定し、
前記報知部は、前記スクラップ山から取り出されたスクラップが存在した位置に存在した前記スクラップ群について前記ロット情報を前記記憶部から取得し、前記記憶部から取得した前記ロット情報に基づいた報知を行う、請求項3に記載の情報処理装置。
【請求項7】
前記情報取得部は、所定の運搬先へ前記スクラップ群を運搬する前記運搬体の上に前記スクラップ群を山積みにすることにより形成された前記スクラップ山を撮影した第3撮影画像と、前記運搬先に到着した前記運搬体の上に形成されている前記スクラップ山を撮影した第4撮影画像とを更に取得し、
前記ロット管理部は、前記運搬体により運搬された前記スクラップ群について前記ロット情報を記憶するとき、前記ロット情報に前記第3撮影画像および前記第4撮影画像を含める、請求項4に記載の情報処理装置。
【請求項8】
スクラップ山の外観形状の測定結果を取得可能な情報処理装置によって実行され、
前記スクラップ山に新たなスクラップ群を山積みする前に測定された前記スクラップ山の第1外観形状を取得し、
前記スクラップ山に前記新たなスクラップ群を山積みした後に測定された前記スクラップ山の第2外観形状を取得し、
前記第1外観形状と、前記第2外観形状とに基づいて、前記新たなスクラップ群が存在している前記スクラップ山内の位置を特定する、情報処理方法。
【請求項9】
請求項1に記載の情報処理装置としてコンピュータを機能させるためのプログラムであって、前記情報取得部および前記位置特定部としてコンピュータを機能させるためのプログラム。
【請求項10】
運搬対象の一群のスクラップ群が運搬体の上に山積みされて形成されたスクラップ山を、運搬前に撮影した第3撮影画像と、運搬後に撮影した第4撮影画像とを取得する情報取得部と、
前記スクラップ群について、前記第3撮影画像および前記第4撮影画像を少なくとも含むロット情報を所定の記憶部に記憶するロット管理部と、を備えている情報処理装置。
発明の詳細な説明
【技術分野】
【0001】
本開示は、情報処理装置、情報処理方法およびプログラムに関する。
続きを表示(約 1,300 文字)
【背景技術】
【0002】
特許文献1には、スクラップヤードに空きがある場合にスクラップヤードにスクラップを運搬し、スクラップヤードに空きが無い場合に外置場に横持ちとして集積してからスクラップヤードにスクラップを集積するスクラップ在庫情報管理方法が開示されている。
【先行技術文献】
【特許文献】
【0003】
特開2002-68478号公報
【発明の概要】
【発明が解決しようとする課題】
【0004】
しかしながら、特許文献1に開示されたスクラップ在庫情報管理方法では、スクラップヤードに集積されたスクラップがスクラップヤードに形成されたスクラップ山のどこに存在するかを特定していない。
【0005】
本開示の一態様は、運搬体により運搬されるスクラップを好適に管理することを目的とする。
【課題を解決するための手段】
【0006】
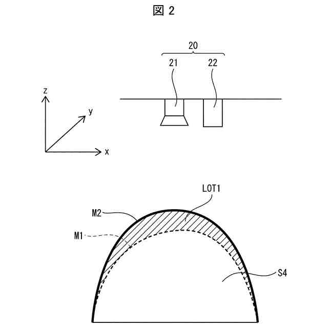
上記の課題を解決するために、本開示の一態様に係る情報処理装置は、運搬体により運搬される一群のスクラップであるスクラップ群を山積みすることで形成されたスクラップ山の外観形状についての外観情報を取得する情報取得部と、前記スクラップ山に新たなスクラップ群を山積みする前および山積みした後にそれぞれ前記情報取得部が取得した前記外観情報に基づいて、前記新たなスクラップ群が存在している前記スクラップ山内の位置を特定する位置特定部と、を備えている。
【0007】
上記の課題を解決するために、本開示の一態様に係る情報処理方法は、スクラップ山の外観形状の測定結果を取得可能な情報処理装置によって実行され、前記スクラップ山に新たなスクラップ群を山積みする前に測定された前記スクラップ山の第1外観形状を取得し、前記スクラップ山に前記新たなスクラップ群を山積みした後に測定された前記スクラップ山の第2外観形状を取得し、前記第1外観形状と、前記第2外観形状とに基づいて、前記新たなスクラップ群が存在している前記スクラップ山内の位置を特定する。
【0008】
上記の課題を解決するために、本開示の一態様に係る情報処理装置は、運搬対象の一群のスクラップ群が運搬体の上に山積みされて形成されたスクラップ山を、運搬前に撮影した第3撮影画像と、運搬後に撮影した第4撮影画像とを取得する情報取得部と、前記スクラップ群について、前記第3撮影画像および前記第4撮影画像を少なくとも含むロット情報を所定の記憶部に記憶するロット管理部と、を備えている。
【0009】
本開示の各態様に係る情報処理装置は、コンピュータによって実現してもよく、この場合には、コンピュータを前記情報処理装置が備える各部(ソフトウェア要素)として動作させることにより前記情報処理装置をコンピュータにて実現させる情報処理装置のプログラム、およびそれを記録したコンピュータ読み取り可能な記録媒体も、本開示の範疇に入る。
【発明の効果】
【0010】
本開示の一態様によれば、運搬体により運搬されるスクラップを好適に管理できる。
【図面の簡単な説明】
(【0011】以降は省略されています)
この特許をJ-PlatPat(特許庁公式サイト)で参照する
関連特許
日本製鉄株式会社
棒鋼
20日前
日本製鉄株式会社
棒鋼
20日前
日本製鉄株式会社
鋳片
12日前
日本製鉄株式会社
線材
1か月前
日本製鉄株式会社
耐力壁
5日前
日本製鉄株式会社
鋼部品
2か月前
日本製鉄株式会社
鋼部品
2か月前
日本製鉄株式会社
床構造
2か月前
日本製鉄株式会社
ボルト
2か月前
日本製鉄株式会社
剪断機
2か月前
日本製鉄株式会社
鋼部品
20日前
日本製鉄株式会社
床構造
2か月前
日本製鉄株式会社
構造部材
2か月前
日本製鉄株式会社
溶接継手
1か月前
日本製鉄株式会社
歯車装置
6日前
日本製鉄株式会社
溶接継手
26日前
日本製鉄株式会社
橋脚構造
2か月前
日本製鉄株式会社
耐火構造物
2か月前
日本製鉄株式会社
鍛鋼ロール
2か月前
日本製鉄株式会社
耐火構造物
2か月前
日本製鉄株式会社
耐火構造物
2か月前
日本製鉄株式会社
鍛鋼ロール
2か月前
日本製鉄株式会社
腐食センサ
2か月前
日本製鉄株式会社
高Ni合金鋼
2か月前
日本製鉄株式会社
転炉精錬方法
2か月前
日本製鉄株式会社
学習システム
2か月前
日本製鉄株式会社
管理システム
2か月前
日本製鉄株式会社
高Ni合金鋼
2か月前
日本製鉄株式会社
表面処理鋼材
12日前
日本製鉄株式会社
機械構造用部品
21日前
日本製鉄株式会社
溶鉄の製造方法
2か月前
日本製鉄株式会社
高炉の操業方法
2か月前
日本製鉄株式会社
溶鉄の製造方法
1か月前
日本製鉄株式会社
原油油槽用鋼材
1か月前
日本製鉄株式会社
溶鉄の製造方法
1か月前
日本製鉄株式会社
焼結鉱の製造方法
2か月前
続きを見る
他の特許を見る