TOP
|
特許
|
意匠
|
商標
特許ウォッチ
Twitter
他の特許を見る
10個以上の画像は省略されています。
公開番号
2025178648
公報種別
公開特許公報(A)
公開日
2025-12-09
出願番号
2024085380
出願日
2024-05-27
発明の名称
光加熱装置、光源ユニット
出願人
ウシオ電機株式会社
代理人
弁理士法人ユニアス国際特許事務所
主分類
H01L
21/268 20060101AFI20251202BHJP(基本的電気素子)
要約
【課題】固体光源が発する加熱用の光が、処理対象物で反射して固体光源に照射されることが抑制された光加熱装置、及び当該光加熱装置に搭載される光源ユニットを提供する。
【解決手段】本発明に係る光加熱装置は、処理対象物を支持する支持ユニットと、前記処理対象物に対して光を照射する光源ユニットと、を備え、前記光源ユニットは、前記処理対象物の主面に対して傾斜する傾斜面を有するヒートシンクと、前記傾斜面に支持された基板と、前記基板上に載置され、前記処理対象物の主面に直交する第一方向に見たときに、前記処理対象物よりも実質的に外側に位置する複数の固体光源と、を有する。
【選択図】 図1
特許請求の範囲
【請求項1】
処理対象物を支持する支持ユニットと、
前記処理対象物に対して光を照射する光源ユニットと、を備え、
前記光源ユニットは、
前記処理対象物の主面に対して傾斜する傾斜面を有するヒートシンクと、
前記傾斜面に支持された基板と、
前記基板上に載置され、前記処理対象物の主面に直交する第一方向に見たときに、前記処理対象物よりも実質的に外側に位置する複数の固体光源と、を有することを特徴とする、光加熱装置。
続きを表示(約 720 文字)
【請求項2】
前記処理対象物の主面と対向して配置され、前記処理対象物の主面で反射された光を前記処理対象物側に反射する反射部材を有することを特徴とする、請求項1に記載の光加熱装置。
【請求項3】
前記ヒートシンクは、前記処理対象物の主面に対する角度が互いに異なる複数の前記傾斜面を有し、
前記光源ユニットは、それぞれの前記傾斜面に支持され、前記処理対象物の主面に対する角度が互いに異なる複数の前記基板を有することを特徴とする、請求項1又は2に記載の光加熱装置。
【請求項4】
前記基板は、前記第一方向に見たときに、前記処理対象物を取り囲むように配置されたことを特徴とする、請求項1又は2に記載の光加熱装置。
【請求項5】
前記処理対象物の主面の中心を前記第一方向に通る中心軸の近傍が、前記処理対象物に対して連通することを特徴とする、請求項1又は2に記載の光加熱装置。
【請求項6】
前記固体光源はLD素子を含んで構成され、
前記光源ユニットは前記LD素子が発する光を拡散する拡散レンズを有することを特徴とする、請求項1又は2に記載の光加熱装置。
【請求項7】
前記反射部材の反射面は、前記固体光源が発する光に対して拡散性を示すことを特徴とする、請求項2記載の光加熱装置。
【請求項8】
複数の前記基板を有し、
複数の前記基板の全部が、前記処理対象物の主面に対して傾斜されたことを特徴とする、請求項1又は2に記載の光加熱装置。
【請求項9】
請求項1又は2に記載の光加熱装置に搭載される光源ユニット。
発明の詳細な説明
【技術分野】
【0001】
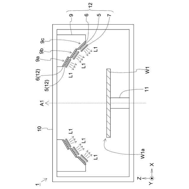
本発明は、処理対象物に対して光を照射することで、処理対象物を加熱する光加熱装置に関する。また、本発明は、当該光加熱装置に搭載される光源ユニットに関する。
続きを表示(約 1,700 文字)
【背景技術】
【0002】
半導体製造プロセスでは、半導体ウェハ等の処理対象物に対して、成膜処理、酸化拡散処理、改質処理、アニール処理といった様々な処理が実行される。これらの処理では、非接触での処理が可能という理由で、処理対象物の主面に対して加熱用の光(以下、「加熱光」という場合がある。)を照射する加熱方法が多く採用されている。ここで、「主面」とは、板状の物体を構成する表面のうち、他の面よりもはるかに面積の大きい面を指す。
【0003】
加熱光の光源としては、ハロゲンランプや、LED素子等の固体光源が挙げられる。これらのうち、処理対象物の高速昇温が可能であるという理由で、固体光源が採用されつつある。例えば、下記特許文献1では、処理対象物の主面に対向するように複数のLED素子を配置して、処理対象物に加熱光を照射する光加熱装置が開示されている。
【先行技術文献】
【特許文献】
【0004】
特開2016-58722号公報
【発明の概要】
【発明が解決しようとする課題】
【0005】
加熱光の光源として固体光源を採用することで、処理対象物の吸収波長に適した加熱光を発する固体光源を選択でき、処理対象物の高速昇温が可能となる。また、特許文献1に示すように、処理対象物の主面に対向する位置に光源を配置すれば、例えば、処理対象物の中央領域に対向する光源の出力と、処理対象物の周端領域に対向する光源の出力を異ならせることで、処理対象物の主面内の温度を均一にしやすくなる。
【0006】
ところで、処理対象物の主面に照射された加熱光のうち、一部の加熱光は、処理対象物の主面で反射される。したがって、光源が処理対象物に対して対向して配置されている場合、処理対象物の主面で反射された加熱光は光源に向かうように反射され、そのまま光源に照射される。このとき、光源がLED素子又はレーザダイオード(LD)素子等の固体光源であった場合、処理対象物で反射された加熱光の照射によって固体光源の温度が上昇し、発光効率の低下や短寿命化に繋がるおそれがある。
【0007】
さらに、近年、高速昇温を実現しつつ、より高い温度で処理対象物を加熱処理したいという要求が高まっている。したがって、処理対象物の温度を高めるために、例えば固体光源の出力を高めて、より多くの加熱光を処理対象物に照射することが考えられる。しかし、従来の構成では、処理対象物と対向する位置に固体光源が配置されており、処理対象物で反射された加熱光が固体光源に照射されるため、固体光源の出力を高めると、固体光源の発光効率の低下や短寿命化がより顕著になる。つまり、処理対象物の主面に対向する位置に光源が配置された従来の光加熱装置では、固体光源の出力を高めにくい。
【0008】
上記に鑑みて、本発明は、固体光源が発する加熱用の光が、処理対象物で反射して固体光源に照射されることが抑制された光加熱装置を提供することを目的とする。
【課題を解決するための手段】
【0009】
本発明に係る光加熱装置は、
処理対象物を支持する支持ユニットと、
前記処理対象物に対して光を照射する光源ユニットと、を備え、
前記光源ユニットは、
前記処理対象物の主面に対して傾斜する傾斜面を有するヒートシンクと、
前記傾斜面に支持された基板と、
前記基板上に載置され、前記処理対象物の主面に直交する第一方向に見たときに、前記処理対象物よりも実質的に外側に位置する複数の固体光源と、を有することを特徴とする。
【0010】
本明細書において、「複数の固体光源が処理対象物よりも実質的に外側に位置する」とは、複数の固体光源のうち、80%以上の固体光源が、前記第一方向に見たときに処理対象物の外側に位置することをいうものとして構わない。
(【0011】以降は省略されています)
この特許をJ-PlatPat(特許庁公式サイト)で参照する
関連特許
ウシオ電機株式会社
半導体レーザ素子
14日前
ウシオ電機株式会社
反射型位相差構造体
3日前
ウシオ電機株式会社
マイクロ流体デバイス
3日前
ウシオ電機株式会社
光加熱装置、光源ユニット
3日前
ウシオ電機株式会社
処理方法、処理装置及び処理システム
14日前
ウシオ電機株式会社
空気清浄装置および空気清浄システム
1か月前
ウシオ電機株式会社
光源装置及びエネルギービーム導入部材
7日前
ウシオ電機株式会社
二酸化炭素吸収材、及び二酸化炭素の回収方法
14日前
ウシオ電機株式会社
紫外線治療装置および紫外線治療装置の動作方法
14日前
ウシオ電機株式会社
ガス分解方法、ガス分解装置及びガス分解システム
23日前
個人
三重コイル変圧器
2日前
日機装株式会社
加圧装置
7日前
株式会社東芝
端子台
1か月前
マクセル株式会社
電源装置
1か月前
日新イオン機器株式会社
イオン源
7日前
ローム株式会社
半導体装置
2日前
ローム株式会社
半導体装置
1日前
三菱電機株式会社
回路遮断器
1か月前
株式会社GSユアサ
蓄電装置
1か月前
株式会社GSユアサ
蓄電装置
22日前
株式会社GSユアサ
蓄電装置
1か月前
富士電機株式会社
電磁接触器
22日前
株式会社GSユアサ
蓄電装置
1か月前
株式会社東芝
電子源
7日前
トヨタ自動車株式会社
蓄電装置
14日前
トヨタ自動車株式会社
蓄電装置
1か月前
ホシデン株式会社
複合コネクタ
16日前
日本特殊陶業株式会社
保持装置
1か月前
大電株式会社
電線又はケーブル
14日前
個人
電源ボックス及び電子機器
7日前
株式会社ヨコオ
コネクタ
1日前
日本特殊陶業株式会社
保持装置
2日前
株式会社トクミ
ケーブル
8日前
ローム株式会社
半導体装置
1日前
矢崎総業株式会社
コネクタ
22日前
株式会社デンソー
電子装置
1か月前
続きを見る
他の特許を見る