TOP
|
特許
|
意匠
|
商標
特許ウォッチ
Twitter
他の特許を見る
10個以上の画像は省略されています。
公開番号
2025178407
公報種別
公開特許公報(A)
公開日
2025-12-05
出願番号
2025163726,2022181679
出願日
2025-09-30,2022-11-14
発明の名称
作業支援システム及び作業支援方法
出願人
JFEスチール株式会社
代理人
個人
,
個人
,
個人
,
個人
主分類
G06Q
50/04 20120101AFI20251128BHJP(計算;計数)
要約
【課題】携帯端末にて作業者が作業中の工程を含めた作業工程の全体像を視認できる作業性を良好なものとした作業支援システム及び作業支援方法を提供することにある。
【解決手段】作業支援システム10は、作業者a,b,・・・,nが所持する携帯端末50A,50B,・・・,50Nの表示部53に少なくとも作業情報60を表示する。作業情報60は、管理PC20において、複数の作業グループA,B,Cに区分けして、各作業グループA,B,C毎に複数の作業手順1;2,3;4;5,6;7及び各作業手順1;2,3;4;5,6;7の作業内容A1;A2,B3;B4;B5,C6;C7を設定可能である。表示部53において、複数の作業グループA,B,Cの一覧101と、複数の作業グループA,B,Cのうち、作業中の作業グループBに属する複数の作業手順3,4,5及び作業内容B3,B4,B5とが、作業ステータス102と共に表示される。
【選択図】図8
特許請求の範囲
【請求項1】
作業者が所持する携帯端末の表示部に少なくとも作業情報を表示する作業支援システムであって、
前記作業情報は、管理PCにおいて、複数の作業グループに区分けして、各作業グループ毎に複数の作業手順及び各作業手順の作業内容を設定可能であり、
前記表示部において、前記複数の作業グループの一覧と、前記複数の作業グループのうち、作業中の作業グループに属する複数の作業手順及び作業内容とが、作業ステータスと共に表示され、
前記表示部に表示される各作業手順の作業ステータスは、各作業手順の作業内容に対して所定の作業完了動作を行うことで作業未完了状態から作業完了状態に変更されるものであり、
同一の前記作業情報を複数の作業者が所持する各携帯端末の表示部に表示して共有することが可能であり、
前記管理PCにおいて、各作業手順は作業者を指定することが可能であって、特定の作業手順の作業者が第1の作業者に設定されている場合、第1の作業者が所持する携帯端末において前記特定の作業手順に対して前記所定の作業完了動作を行うことが可能なように制御するとともに、第1の作業者とは異なる第2の作業者が所持する携帯端末において前記特定の作業手順に対して前記所定の作業完了動作を行うことができないように制御することを特徴とする作業支援システム。
続きを表示(約 1,100 文字)
【請求項2】
前記管理PCにおいて、特定の作業手順の作業者として複数の作業者を指定することが可能であって、特定の作業手順の作業者が第1の作業者及び第2の作業者に設定されている場合、第1の作業者及び第2の作業者が所持する携帯端末において前記特定の作業手順に対して前記所定の作業完了動作を行うことが可能なように制御するとともに、第1の作業者及び第2の作業者とは異なる第3の作業者が所持する携帯端末において前記特定の作業手順に対して前記所定の作業完了動作を行うことができないように制御することを特徴とする請求項1に記載の作業支援システム。
【請求項3】
作業者が所持する携帯端末の表示部に少なくとも作業情報を表示する作業支援方法であって、
管理PCにおいて、前記作業情報を、複数の作業グループに区分けして、各作業グループ毎に複数の作業手順及び各作業手順の作業内容を設定し、
前記表示部において、前記複数の作業グループの一覧と、前記複数の作業グループのうち、作業中の作業グループに属する複数の作業手順及び作業内容とを、作業ステータスと共に表示し、
前記表示部に表示される各作業手順の作業ステータスは、各作業手順の作業内容に対して所定の作業完了動作を行うことで作業未完了状態から作業完了状態に変更されるものであり、
同一の前記作業情報を複数の作業者が所持する各携帯端末の表示部に表示して共有することが可能であり、
前記管理PCにおいて、各作業手順は作業者を指定することが可能であって、特定の作業手順の作業者が第1の作業者に設定されている場合、第1の作業者が所持する携帯端末において前記特定の作業手順に対して前記所定の作業完了動作を行うことが可能なように制御するとともに、第1の作業者とは異なる第2の作業者が所持する携帯端末において前記特定の作業手順に対して前記所定の作業完了動作を行うことができないように制御することを特徴とする作業支援方法。
【請求項4】
前記管理PCにおいて、特定の作業手順の作業者として複数の作業者を指定することが可能であって、特定の作業手順の作業者が第1の作業者及び第2の作業者に設定されている場合、第1の作業者及び第2の作業者が所持する携帯端末において前記特定の作業手順に対して前記所定の作業完了動作を行うことが可能なように制御するとともに、第1の作業者及び第2の作業者とは異なる第3の作業者が所持する携帯端末において前記特定の作業手順に対して前記所定の作業完了動作を行うことができないように制御することを特徴とする請求項3に記載の作業支援方法。
発明の詳細な説明
【技術分野】
【0001】
本発明は、作業現場で作業する作業者が所持する携帯端末の表示部に少なくとも作業情報を表示する作業支援システム及び作業支援方法に関する。
続きを表示(約 3,400 文字)
【背景技術】
【0002】
従来、製鉄所などの工場等の現場において作業者が行う日常点検や定常作業等は、チェックリストが記載された作業手順を紙で出力し、作業者がその出力された紙に記載されたチェックリストを確認しながら行っていた。
しかしながら、紙のチェックリストでは、全ての作業手順を事細かに記載すると膨大な量となるため、一部記載を簡略化することになり、また、一見してどこまで作業が完了したかがわからず、作業員による作業抜けや作業ミスが発生し、重大な事故につながる可能性があった。
【0003】
この紙のチェックリストによる問題を解決するものとして、従来、例えば、特許文献1に示す作業支援システムが提案されている。この特許文献1に示す作業支援システムは、作業者が装着可能なウェアラブル通信端末及び作業者が携帯する通信端末装置を用いて作業者の支援を行うものである。この作業支援システムにおいて、通信端末装置の受付部は、作業者から作業進捗に関する情報を受け付ける。また、通信端末装置のCPUは、作業データベースより、受け付けた情報に応じて、作業手順に関する情報である作業手順情報を取得し、通信端末装置の通信I/Fを制御して、ウェアラブル通信端末へ送信する。ウェアラブル通信端末において、制御部は、受信した作業手順情報を、作業者が出力デバイスにて視認可能に表示する。
【先行技術文献】
【特許文献】
【0004】
特開2022-114111号公報
【発明の概要】
【発明が解決しようとする課題】
【0005】
しかしながら、この特許文献1に示す作業支援システムにあっては、以下の問題点があった。
即ち、特許文献1に示す作業支援システムの場合、ウェアラブル通信端末の出力デバイスにて、N番目の作業手順情報を作業者が視認可能に表示し、N番目の作業が完了した後に、N+1番目の作業手順情報を表示するようになっている。しかし、この作業支援システムにおいては、作業中の工程のみがウェアラブル通信端末の出力デバイスに表示され、作業工程の全体像(作業中の工程に加え、完了済みの工程、今後行う工程)が認識できず、作業性に問題があった。
【0006】
従って、本発明はこの従来の問題点を解決するためになされたものであり、その目的は、作業者が作業工程を間違えず、共同作業者が遠隔でも作業状態がわかるとともに、携帯端末にて作業者が作業中の工程を含めた作業工程の全体像を視認できる作業性を良好なものとした作業支援システム及び作業支援方法を提供することにある。
【課題を解決するための手段】
【0007】
上記課題を解決するために、本発明の一態様に係る作業支援システムは、作業者が所持する携帯端末の表示部に少なくとも作業情報を表示する作業支援システムであって、前記作業情報は、管理PCにおいて、複数の作業ブループに区分けして、各作業グループ毎に複数の作業手順及び各作業手順の作業内容を設定可能であり、前記表示部において、前記複数の作業グループの一覧と、前記複数の作業グループのうち、作業中の作業グループに属する複数の作業手順及び作業内容とが、作業ステータスと共に表示され、前記表示部に表示される各作業手順の作業ステータスは、各作業手順の作業内容に対して所定の作業完了動作を行うことで作業未完了状態から作業完了状態に変更されるものであり、同一の前記作業情報を複数の作業者が所持する各携帯端末の表示部に表示して共有することが可能であり、前記管理PCにおいて、各作業手順は作業者を指定することが可能であって、特定の作業手順の作業者が第1の作業者に設定されている場合、第1の作業者が所持する携帯端末において前記特定の作業手順に対して前記所定の作業完了動作を行うことが可能なように制御するとともに、第1の作業者とは異なる第2の作業者が所持する携帯端末において前記特定の作業手順に対して前記所定の作業完了動作を行うことができないように制御することを要旨とする。
【0008】
また、本発明の別の態様に係る作業支援方法は、作業者が所持する携帯端末の表示部に少なくとも作業情報を表示する作業支援方法であって、管理PCにおいて、前記作業情報を、複数の作業グループに区分けして、各作業グループ毎に複数の作業手順及び各作業手順の作業内容を設定し、前記表示部において、前記複数の作業グループの一覧と、前記複数の作業グループのうち、作業中の作業グループに属する複数の作業手順及び作業内容とを、作業ステータスと共に表示し、前記表示部に表示される各作業手順の作業ステータスは、各作業手順の作業内容に対して所定の作業完了動作を行うことで作業未完了状態から作業完了状態に変更されるものであり、同一の前記作業情報を複数の作業者が所持する各携帯端末の表示部に表示して共有することが可能であり、前記管理PCにおいて、各作業手順は作業者を指定することが可能であって、特定の作業手順の作業者が第1の作業者に設定されている場合、第1の作業者が所持する携帯端末において前記特定の作業手順に対して前記所定の作業完了動作を行うことが可能なように制御するとともに、第1の作業者とは異なる第2の作業者が所持する携帯端末において前記特定の作業手順に対して前記所定の作業完了動作を行うことができないように制御することを要旨とする。
【発明の効果】
【0009】
本発明に係る作業支援システム及び作業支援方法によれば、作業者が作業工程を間違えず、共同作業者が遠隔でも作業状態がわかるようにするとともに、携帯端末にて作業者が作業中の工程を含めた作業工程の全体像を視認できる作業性を良好なものとすることができる。
【図面の簡単な説明】
【0010】
本発明の一実施形態に係る作業支援システムの構成例を示す図である。
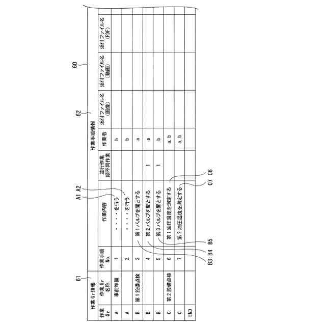
図1に示す作業支援システムにおける管理PCで作成される作業情報の一例の一部を示す図である。
図1に示す作業支援システムにおける管理PCで作成される作業情報の一例の図1からの続きの残部を示す図である。
作業を開始する前に特定の作業者aとしての甲又はbとしての乙が自身が所持する携帯端末50A又は50Bからサーバ30にアクセスしたときの携帯端末50A又は50Bの表示部53に表示されるログイン画面の一例を示す図である。
特定の作業者甲又は乙が図4に示すログイン画面でログインした後の携帯端末50A又は50Bの表示部53に表示される作業情報の選択画面一例を示す図である。
特定の作業者甲又は乙が図5に示す作業情報の選択画面で特定の作業情報(工事点検作業)を選択した後の携帯端末50A又は50Bの表示部53に表示される作業開始情報入力画面の一例を示す図である。
特定の作業者甲又は乙が図6に示す作業開始情報入力画面で作業開始情報を入力した後の携帯端末50A又は50Bの表示部53に表示される特定複数の作業グループA,B,Cの一覧の一例を示す図である。
特定の作業者aとしての甲が所持する携帯端末50Aの表示部53に表示される作業画面の一例を示す図である。
特定の作業者aとしての甲が所持する携帯端末50Aの表示部53に表示される図8に示す状態から続く作業画面の一例を示す図である。
特定の作業者aとしての甲が所持する携帯端末50Aの表示部53に表示される図9に示す状態から続く作業画面の一例を示す図である。
作業内容が行われたかに対する記録の入力態様として撮影画像登録が設定されている場合の、特定の作業者aとしての甲が所持する携帯端末50Aの表示部53に表示される作業画面の一例を示す図である。
作業内容が行われたかに対する記録の入力態様として添付図への手書き入力が設定されている場合の、特定の作業者aとしての甲が所持する携帯端末50Aの表示部53に表示される作業画面の一例を示す図である。
【発明を実施するための形態】
(【0011】以降は省略されています)
この特許をJ-PlatPat(特許庁公式サイト)で参照する
関連特許
JFEスチール株式会社
炭材内装鉱の製造方法
1日前
JFEスチール株式会社
作業支援システム及び作業支援方法
1日前
個人
詐欺保険
1か月前
個人
縁伊達ポイン
1か月前
個人
RFタグシート
1か月前
個人
職業自動販売機
22日前
個人
5掛けポイント
29日前
個人
QRコードの彩色
1か月前
個人
地球保全システム
2か月前
個人
ペルソナ認証方式
1か月前
個人
情報処理装置
1か月前
個人
自動調理装置
1か月前
個人
立体グラフの利用方法
1日前
個人
残土処理システム
1か月前
個人
農作物用途分配システム
1か月前
個人
インターネットの利用構造
1か月前
個人
タッチパネル操作指代替具
1か月前
NISSHA株式会社
入力装置
2日前
個人
知的財産出願支援システム
2か月前
個人
サービス情報提供システム
24日前
個人
携帯端末障害問合せシステム
1か月前
個人
学習用データ生成装置
3日前
個人
スケジュール調整プログラム
1か月前
個人
海外支援型農作物活用システム
2か月前
株式会社キーエンス
受発注システム
2か月前
株式会社キーエンス
受発注システム
2か月前
個人
エリアガイドナビAIシステム
1か月前
個人
食品レシピ生成システム
2か月前
株式会社キーエンス
受発注システム
2か月前
大同特殊鋼株式会社
疵判定方法
2か月前
株式会社ワコム
電子ペン
1か月前
エッグス株式会社
情報処理装置
1か月前
キヤノン株式会社
表示システム
2か月前
キヤノン株式会社
情報処理装置
1か月前
株式会社ケアコム
項目選択装置
1か月前
株式会社ケアコム
項目選択装置
1か月前
続きを見る
他の特許を見る