TOP
|
特許
|
意匠
|
商標
特許ウォッチ
Twitter
他の特許を見る
10個以上の画像は省略されています。
公開番号
2025178309
公報種別
公開特許公報(A)
公開日
2025-12-05
出願番号
2025152710,2024123748
出願日
2025-09-12,2019-12-27
発明の名称
プログラム及び制御方法
出願人
キヤノン株式会社
代理人
個人
,
個人
,
個人
,
個人
,
個人
主分類
G06F
3/12 20060101AFI20251128BHJP(計算;計数)
要約
【課題】 拡張アプリケーションとしてより良い機能を拡張することを目的とする。
【解決手段】 印刷データを生成する印刷データ生成ソフトウェアの機能を拡張するための拡張アプリケーションのプログラムであって、コンピュータに、印刷装置から出力される前記印刷装置の属性データを取得するステップと、印刷機能を示すデータを取得するステップと、特定の機能を示す情報が、前記取得された前記印刷機能を示すデータの中に含まれていない場合、前記取得された属性データに含まれる属性情報に基づいて、前記特定の機能に関連する情報を追加するステップと、を実行させ、前記追加された特定の機能に関連する情報に基づき、前記特定の機能の設定アイテムを含む設定画面が表示される。
【選択図】 図3
特許請求の範囲
【請求項1】
印刷データを生成する印刷データ生成ソフトウェアの機能を拡張するための拡張アプリケーションのプログラムであって、
コンピュータに、
印刷装置から出力される前記印刷装置の属性データを取得するステップと、
印刷機能を示すデータを取得するステップと、
特定の機能を示す情報が、前記取得された前記印刷機能を示すデータの中に含まれていない場合、前記取得された属性データに含まれる属性情報に基づいて、前記特定の機能に関連する情報を追加するステップと、
を実行させ、
前記追加された特定の機能に関連する情報に基づき、前記特定の機能の設定アイテムを含む設定画面が表示されることを特徴とするプログラム。
発明の詳細な説明
【技術分野】
【0001】
本発明は、プログラム及び制御方法に関する。特に、拡張アプリケーションの技術に関する。
続きを表示(約 2,000 文字)
【背景技術】
【0002】
印刷装置の制御用ソフトウェアとしてホストコンピュータにインストールされたプリンタドライバを利用し、ホストコンピュータに接続された印刷装置に対して印刷指示を行う構成が知られている。ホストコンピュータには、基本ソフトウェアであるオペレーティングシステム(OS)がインストールされており、プリンタドライバはそのOSの規定する仕様に従って構成され、OSから呼び出されて動作する。印刷装置を提供するベンダは、OSの仕様に適合するプリンタドライバを提供することにより、そのOSを用いて印刷装置に印刷を指示する手段を提供することができる。
【0003】
近年、Windows(登録商標)において、複数のベンダの提供する印刷装置で共通して利用可能な標準的なクラスドライバ(以下、「標準ドライバ」とも呼ぶ)が提供されている。このような標準ドライバは、OSのパッケージの中に同梱されており、ホストコンピュータに任意の印刷装置を接続することにより簡易に利用可能となる。よって、印刷装置に適した機種固有のプリンタドライバを別途インストールする必要が無く、利便性が高い。また、標準ドライバは、接続した印刷装置から取得した情報に基づき生成されたPrintCapabilityに応じて印刷機能を指定可能に構成される。これにより、標準ドライバを利用するユーザは、1つの標準ドライバを利用しているにも関わらず、接続した印刷装置の能力に応じた印刷機能を指定することができる。
【0004】
標準ドライバには機能拡張用のアプリケーション(以下、「拡張アプリケーション」とも呼ぶ)を関連付けることができる。拡張アプリケーションは、印刷装置を提供するベンダが提供することができる。ベンダはこの拡張アプリケーションを提供することにより、標準ドライバのみでは実現できない機能(拡張機能)を提供することができる。特許文献1には、拡張アプリケーションにより、スタンプ機能等の機能を拡張する技術が開示されている。
【先行技術文献】
【特許文献】
【0005】
特開2019-74906号公報
【発明の概要】
【発明が解決しようとする課題】
【0006】
特許文献1の拡張アプリケーションは、標準ドライバに渡されるスプールファイルを編集することができる。よって、拡張アプリケーションは、スプールファイルを編集し、スタンプを挿入することで、スタンプ機能を実現する。スプールファイルは標準ドライバによって印刷データ(特許文献1では「印刷コマンド」と表現)に変換され、印刷装置に送信される。
【0007】
しかしながら、標準ドライバの機能を拡張する拡張アプリケーションがより良い機能を提供するためには、さらなる工夫が必要となる。
【課題を解決するための手段】
【0008】
上述のような課題を解決するため、本発明のプログラムの一態様は、印刷データを生成する印刷データ生成ソフトウェアの機能を拡張するための拡張アプリケーションのプログラムであって、コンピュータに、印刷装置から出力される前記印刷装置の属性データを取得するステップと、印刷機能を示すデータを取得するステップと、特定の機能を示す情報が、前記取得された前記印刷機能を示すデータの中に含まれていない場合、前記取得された属性データに含まれる属性情報に基づいて、前記特定の機能に関連する情報を追加するステップと、を実行させ、前記追加された特定の機能に関連する情報に基づき、前記特定の機能の設定アイテムを含む設定画面が表示される。
【発明の効果】
【0009】
本発明の一態様により、拡張アプリケーションとしてより良い機能を提供することが可能となる。
【図面の簡単な説明】
【0010】
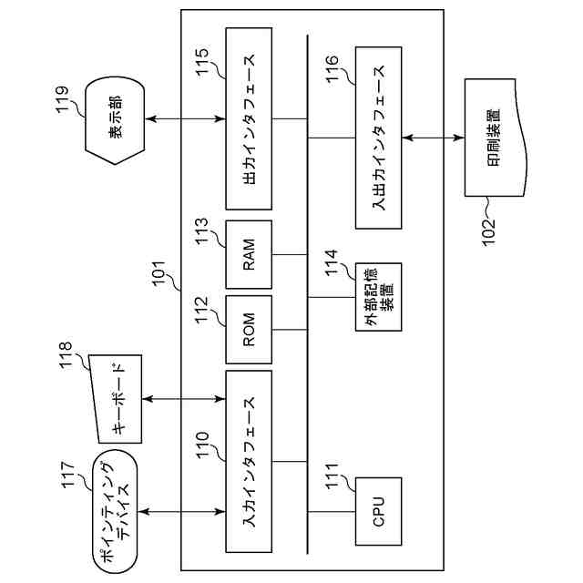
印刷システムのハードウェア構成を示すブロック図。
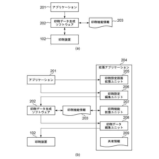
印刷システムのブロック構成図。
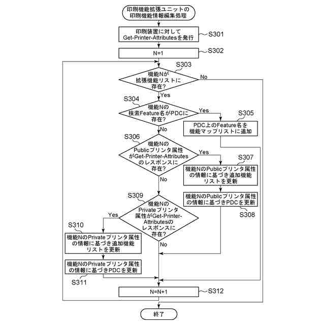
印刷機能拡張ユニットの印刷機能情報の編集処理のフローチャート。
Get-Printer-Attributesのレスポンス例と、Validate-Jobオペレーションのデータ例。
拡張機能リストの例。
PDCの例。
機能マップリストの例。
追加機能リストの例。
PrintCapabilitiesの例。
印刷設定画面拡張ユニットが表示する画面例。
印刷データ編集ユニットの印刷データ編集処理のフローチャート。
印刷機能拡張ユニットの印刷機能情報の編集処理のフローチャート。
PDCの例。
【発明を実施するための形態】
(【0011】以降は省略されています)
この特許をJ-PlatPat(特許庁公式サイト)で参照する
関連特許
キヤノン株式会社
容器
1か月前
キヤノン株式会社
容器
1か月前
キヤノン株式会社
トナー
1か月前
キヤノン株式会社
トナー
1か月前
キヤノン株式会社
トナー
1か月前
キヤノン株式会社
トナー
1か月前
キヤノン株式会社
トナー
28日前
キヤノン株式会社
表示装置
7日前
キヤノン株式会社
表示装置
7日前
キヤノン株式会社
撮像装置
7日前
キヤノン株式会社
記録装置
1日前
キヤノン株式会社
記録装置
1日前
キヤノン株式会社
撮像装置
今日
キヤノン株式会社
撮像装置
今日
キヤノン株式会社
撮像装置
今日
キヤノン株式会社
記録装置
1か月前
キヤノン株式会社
撮像装置
1か月前
キヤノン株式会社
撮像装置
1か月前
キヤノン株式会社
定着装置
21日前
キヤノン株式会社
定着装置
21日前
キヤノン株式会社
二次電池
2日前
キヤノン株式会社
表示装置
1か月前
キヤノン株式会社
記録装置
21日前
キヤノン株式会社
現像装置
1か月前
キヤノン株式会社
定着装置
21日前
キヤノン株式会社
測距装置
1か月前
キヤノン株式会社
撮像装置
9日前
キヤノン株式会社
撮像装置
23日前
キヤノン株式会社
撮像装置
29日前
キヤノン株式会社
電子機器
23日前
キヤノン株式会社
撮像装置
28日前
キヤノン株式会社
発光装置
7日前
キヤノン株式会社
記録装置
28日前
キヤノン株式会社
電子機器
28日前
キヤノン株式会社
記録装置
28日前
キヤノン株式会社
電子機器
28日前
続きを見る
他の特許を見る