TOP
|
特許
|
意匠
|
商標
特許ウォッチ
Twitter
他の特許を見る
10個以上の画像は省略されています。
公開番号
2025178301
公報種別
公開特許公報(A)
公開日
2025-12-05
出願番号
2025152236,2024226008
出願日
2025-09-12,2021-04-09
発明の名称
半導体装置
出願人
株式会社半導体エネルギー研究所
代理人
主分類
H10D
86/40 20250101AFI20251128BHJP()
要約
【課題】新規な構成の半導体装置を提供すること。
【解決手段】電流電圧変換部と、電流スイッチ部と、電圧電流変換部と、制御部と、を有
する。電流スイッチ部は、第1トランジスタを有する。電圧電流変換部は、第2トランジ
スタを有する。制御部は、第3トランジスタを有する。第1トランジスタは、チャネル形
成領域に酸化物半導体を有する。第2トランジスタは、チャネル形成領域に窒化物半導体
を有する。第3トランジスタは、チャネル形成領域にシリコンを有する。第1トランジス
タは、第1基板上に設けられる。第2トランジスタおよび第3トランジスタは、第2基板
に設けられる。
【選択図】図1
特許請求の範囲
【請求項1】
電流電圧変換部と、
電流スイッチ部と、
電圧電流変換部と、
制御部と、を有し、
前記電流スイッチ部は、第1トランジスタと、第2トランジスタと、を有し、
前記電圧電流変換部は、第3トランジスタを有し、
前記制御部は、第4トランジスタを有し、
前記第1トランジスタは、チャネル形成領域に酸化物半導体を有し、
前記第2トランジスタは、チャネル形成領域に酸化物半導体を有し、
前記第3トランジスタは、チャネル形成領域に窒化物半導体を有し、
前記第4トランジスタは、チャネル形成領域にシリコンを有し、
前記第1トランジスタは、前記第3トランジスタおよび前記第4トランジスタが設けられる層の上層に設けられ、
前記第2トランジスタは、前記第1トランジスタが設けられる層の上層に設けられる、
半導体装置。
続きを表示(約 120 文字)
【請求項2】
請求項1において、
前記酸化物半導体は、Inと、Gaと、Znと、を含む、半導体装置。
【請求項3】
請求項1または請求項2において、
前記窒化物半導体は、Gaを含む半導体装置。
発明の詳細な説明
【技術分野】
【0001】
本発明の一態様は、半導体装置に関する。
続きを表示(約 1,600 文字)
【0002】
なお本発明の一態様は、上記の技術分野に限定されない。本明細書等で開示する発明の
技術分野は、物、方法、または、製造方法に関するものである。または、本発明の一態様
は、プロセス、マシン、マニュファクチャ、または、組成物(コンポジション・オブ・マ
ター)に関するものである。
【0003】
なお、本明細書等において半導体装置とは、半導体特性を利用することで機能しうるも
の全般を指す。よって、トランジスタやダイオードなどの半導体素子や、半導体素子を含
む回路は半導体装置である。また、表示装置、発光装置、照明装置、電気光学装置、撮像
装置、通信装置および電子機器などは、半導体素子や半導体回路を含む場合がある。よっ
て、表示装置、発光装置、照明装置、電気光学装置、撮像装置、通信装置および電子機器
なども、半導体装置と呼ばれる場合がある。
【背景技術】
【0004】
高速動作を行うためのスイッチングデバイスとして、窒化ガリウムに代表される高移動
度のトランジスタが用いられている。窒化ガリウム(GaN)などの13族元素の窒化物
をチャネル形成領域に有するトランジスタ(以下、GaNトランジスタ)は、デプリーシ
ョンモード(ノーマリーオン)で動作する。
【0005】
GaNトランジスタは、高性能化を図る上で、異なる半導体材料を含むトランジスタ、
例えばシリコン(Si)をチャネル形成領域に有するトランジスタ(Siトランジスタ)
などと組み合わせる構成が望ましい。例えば、特許文献1では、デプリーションモードの
GaNトランジスタをSiトランジスタと組み合わせてエンハンスメントモード(ノーマ
リーオフ)で動作が可能なスイッチングデバイスが開示されている。
【先行技術文献】
【特許文献】
【0006】
特開2012-222360号公報
【発明の概要】
【発明が解決しようとする課題】
【0007】
通信速度などの高速化によって、スイッチングデバイスのスイッチング速度も高速化が
求められる。通信装置の送受信回路に用いられるミキサ回路では、周波数の異なる信号を
掛け合わせた信号を生成する。
【0008】
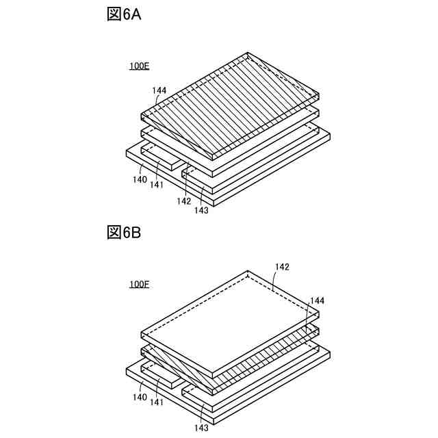
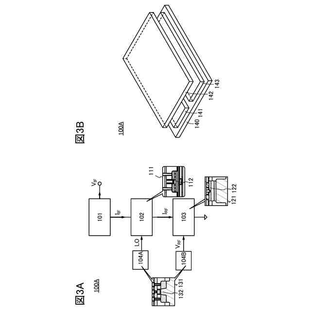
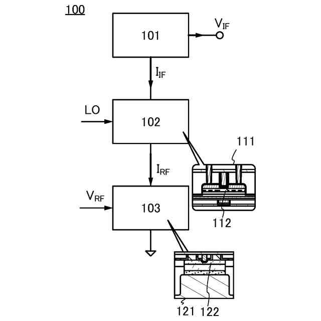
ギルバートセル(ギルバート回路ともいう)を用いたミキサ回路(能動型ミキサともい
う)は、電流電圧(I/V)変換部、電流スイッチ部、電圧電流(V/I)変換部(増幅
部ともいう)で構成される。電圧電流変換部のトランジスタには、大電流を流すことがで
きるGaNトランジスタが用いられる。GaNトランジスタは、オフ時に電流が流れやす
いノーマリーオンのトランジスタである。そのため、オフ時に電流が流れにくいノーマリ
ーオフとなるSiトランジスタを電流スイッチ部に適用することで、オフ時に流れる電流
(リーク電流)を抑制する。
【0009】
しかしながら、高温環境下ではGaNトランジスタおよびSiトランジスタともにリー
ク電流が増大する虞がある。リーク電流の増大は、消費電力の増加を招く虞がある。また
スイッチングデバイスにおけるリーク電流の増大は、誤動作を引き起こす原因となる虞も
ある。
【0010】
本発明の一態様は、新規の構成の半導体装置などを提供することを課題の一つとする。
または、低消費電力化に優れた半導体装置などを提供することを課題の一つとする。また
は、動作の信頼性に優れた半導体装置などを提供することを課題の一つとする。
(【0011】以降は省略されています)
この特許をJ-PlatPat(特許庁公式サイト)で参照する
関連特許
個人
積和演算用集積回路
29日前
サンケン電気株式会社
半導体装置
28日前
日機装株式会社
半導体発光装置
23日前
旭化成株式会社
発光素子
1か月前
ローム株式会社
抵抗チップ
1か月前
ローム株式会社
半導体装置
7日前
株式会社半導体エネルギー研究所
表示装置
7日前
三菱電機株式会社
半導体装置
1か月前
株式会社東芝
半導体装置
15日前
三菱電機株式会社
半導体装置
15日前
三菱電機株式会社
半導体装置
2日前
ローム株式会社
半導体集積回路
1か月前
日亜化学工業株式会社
発光装置
1か月前
サンケン電気株式会社
半導体装置
15日前
ローム株式会社
半導体装置
28日前
ローム株式会社
半導体装置
1か月前
ローム株式会社
窒化物半導体装置
1か月前
ローム株式会社
半導体装置
今日
株式会社半導体エネルギー研究所
発光デバイス
1か月前
ローム株式会社
半導体装置
1か月前
株式会社半導体エネルギー研究所
発光デバイス
23日前
日亜化学工業株式会社
発光素子
28日前
大日本印刷株式会社
太陽電池
1か月前
新電元工業株式会社
半導体素子
今日
新電元工業株式会社
半導体素子
今日
新電元工業株式会社
半導体素子
今日
日亜化学工業株式会社
発光装置
今日
ローム株式会社
半導体装置
15日前
日亜化学工業株式会社
発光装置
1か月前
日亜化学工業株式会社
発光素子
28日前
日本ゼオン株式会社
構造体
1か月前
日亜化学工業株式会社
発光装置
1か月前
今泉工業株式会社
光発電装置及びその製造方法
1か月前
株式会社東芝
ウエーハ及び半導体装置
8日前
住友電気工業株式会社
炭化珪素半導体装置
1か月前
株式会社東芝
半導体装置及びウエーハ
1か月前
続きを見る
他の特許を見る