TOP
|
特許
|
意匠
|
商標
特許ウォッチ
Twitter
他の特許を見る
10個以上の画像は省略されています。
公開番号
2025178288
公報種別
公開特許公報(A)
公開日
2025-12-05
出願番号
2025151394,2023518162
出願日
2025-09-11,2021-09-22
発明の名称
慢性腎疾患(CKD)機械学習予測システム、方法、および装置
出願人
バクスター・インターナショナル・インコーポレイテッド
,
BAXTER INTERNATIONAL INCORP0RATED
,
バクスター・ヘルスケヤー・ソシエテ・アノニム
,
Baxter Healthcare S.A.
代理人
個人
,
個人
,
個人
,
個人
,
個人
主分類
G16H
50/00 20180101AFI20251128BHJP(特定の用途分野に特に適合した情報通信技術)
要約
【課題】好適な慢性腎疾患(CKD)機械学習予測システム、方法、および装置を提供すること。
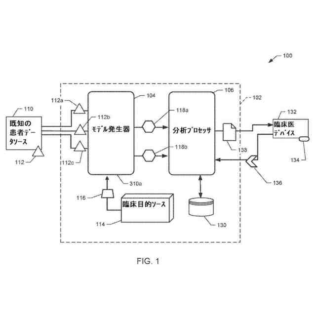
【解決手段】慢性腎疾患(「CKD」)機械学習予測システムが、開示される。例示的システムは、患者がCKDの次の病期に進行し得るかどうか、および/または患者が緊急に透析を開始する必要があり得るかどうかについての予想を提供するように構成される。本明細書に開示される機械学習アルゴリズムは、腎機能に悪影響を及ぼす、臨床的、薬理学的、およびさらなる臨床学的因子を考慮するようにプログラムされる、動的多因子予測アルゴリズムを含む。機械学習システムによって提供される予測は、疾患が悪化する前に、臨床医にCKD治療を改善するための情報を伝える。いくつかの事例では、予測は、治療計画、透析治療、および/または腎代替療法(「RRT」)を選択するために使用されてもよい。
【選択図】図1
特許請求の範囲
【請求項1】
本明細書に記載の発明。
発明の詳細な説明
【背景技術】
【0001】
慢性腎疾患(「CKD」)は、世界中の何百万人もの個人によって毎年被られる、重篤かつ多くの場合衰弱する、医学的状態である。腎疾患を患う個人は、個人の血液から毒素を除去するために、全くまたは少なくとも十分なレベルにおいて、血液を濾過することができない、損傷した腎臓を有する。腎疾患または腎不全を被っている個人が、水分およびミネラルの平衡を保つ、または毎日の代謝負荷を排泄することは、もはやできない。窒素代謝の毒性最終産物(尿素、クレアチニン、尿酸、カルシウム、リン、ナトリウム、カリウム、およびその他)は、個人の血液および組織内に蓄積し得る。腎疾患または腎不全を患う一部の患者はまた、高/低血圧および赤血球数低下も被り得る。しばしば、腎疾患は、完全な腎不全(すなわち、末期腎疾患(「ESRD」)または死亡に至るまで経時的に悪化する、慢性状態である。
続きを表示(約 2,600 文字)
【0002】
世界の全住民が、その全体的生活水準を改善するにつれて、より多くの個人が、CKDにつながる、食品および飲料を消費することが可能となっており、そのような生活様式で生活している。いくつかの研究は、世界の人口の10%程度の人口が、ある形態のCKDを有することを推定している。概して、CKDの世界的負担は、腎代替療法(「RRT」)を要求する、ESRDを患う個人の数を増加させることだけではなく、CKDの発症と関連付けられる状態の有病率も増加させることによって、引き起こされる。現在、RRTを受ける個人が、CKDを治療するために、医療財源の大部分を消費している。したがって、あまり重篤ではないCKDを患う個人が、多くの場合、治療されない、またはごくわずかだけ治療され、これは、最終的には、最終的にRRTを必要とする状態に至るまで、CKDを悪化させることにつながる。CKDを患いやすい個人の素因条件を制御するための医療提供者、またはCKDの早期発症を被っている個人によって、ESRDへの進行を遅延させる、および/または回避するための努力が、成されている。
【0003】
現在、個人は、血液が個人の糸球体(腎臓内の極小濾過機能)を通して毎分通過する量に関して示す、その推定された糸球体濾過率(「GFR」)を監視することによって、CKDに関して査定される。GFRは、典型的には、個人の年齢、身体のサイズ、および性別を考慮した、血液クレアチニン検査によって計算される。概して、90mL/分未満であるGFRを有する患者が、CKDを患っていると見なされる。タンパク尿またはアルブミン尿、すなわち、正常量を上回る尿中のタンパク質(例えば、アルブミン)の存在によって特徴付けられる状態もまた、その状態が3ヶ月にわたって持続する場合、CKDの発症を示し得る。
【0004】
患者が、CKDを患っていると査定された後、医療提供者は、患者の潜在的CKD進行度タイムラインを推定し、可能性として考えられる治療を決定する。CKDの早期検出は、合併症が悪化することを通して任意のCKD憎悪が現れる前に、好適な予防的治療が処方されることを可能にするため、重大である。例えば、推定された緩徐な進行を伴う患者は、投薬療法に加え、生活様式および食事の変更を用いて治療され得る。しかしながら、推定された急速な進行を伴う患者は、RRTを開始する等のより集約的である臨床治療を受ける必要があり得る。
【0005】
現在、医療提供者は、周期的血液クレアチニン検査および尿分析を通して、個人の進行率を査定する。これは、数週間または数ヶ月毎に個人に血液検査を実施することを伴い、これは、医療提供者および個人に負担となる。いくつかの事例では、医療提供者または個人は、周期的血液検査を行い、CKD進行度を査定するための能力を有していない。これらの公知の問題点の結果として、一部の個人は、最初に推定されたものより急速に進行し得、任意の予防的治療は、個人が再び査定されるときには、手遅れである、または非効果的なものとなり得る。
【0006】
故に、個人のCKD進行度の正確な予測および/または個人が緊急に透析を始める必要があるであろう可能性を提供する、CKD臨床医診断ツールの必要性が存在する。
【発明の概要】
【課題を解決するための手段】
【0007】
慢性腎疾患(「CKD」)機械学習予測システム、方法、および装置が、開示される。例示的機械学習予測システム、方法、および装置は、患者のCKD進行度および/または患者が将来的に透析またはRRTを開始する必要があるであろう緊急性を予測するように構成される。いくつかの実施形態では、別個の機械学習モデルが、CKD進行度を予想し、緊急透析開始の患者の必要性を推定するために使用される。
【0008】
開示される機械学習予測システム、方法、および装置は、より多くの情報を提供し、臨床医がより多くの情報を持って患者ケア決定を行うことを可能にする。患者のGFRおよび/または尿アルブミン/クレアチニン率/レベルを把握することは、患者の現在のCKD病期を決定する際に有用であるが、データは、しばしば、CKD病期を通した進行の速さを示さない、または患者が緊急に透析を始める必要があるであろうことを示さない。代わりに、他の因子または特性が、CKDの進行の速さおよび/または透析を始める緊急の必要性について、より多く示し得る。本明細書に開示されるアルゴリズムは、分類された患者因子/特性が、患者CKD進行度予測および透析を必要とする緊急性の尤度を決定するためにモデル化および使用されるように、機械学習を使用する。分類された因子/特性は、患者の医療記録から容易に利用可能である。因子/特性は、性別、人種、年齢、肥満度指数(「BMI」)血圧、クレアチニンレベル、GFR、ヘモグロビンレベル、および/またはアルブミンレベルを含んでもよい。因子/特性はまた、高血圧症、糖尿病、閉塞性尿路疾患、糸球体腎炎/自己免疫疾患、多発性嚢胞腎、慢性尿細管間質性腎炎、または慢性腎盂腎炎を含む、CKDの診断された原因を含んでもよい。因子/特性はさらに、高血圧症、糖尿病、心虚血、鬱血性心不全、または脳血管疾患等の既往歴を含んでもよい。
【0009】
いくつかの事例では、開示される機械学習予測システム、方法、および装置は、利用可能な患者因子/特性から、導出される因子/特性を計算するように構成される。導出される因子/特性は、アルブミン/クレアチニン比等の因子の比率を含んでもよい。導出される因子/特性はまた、そのGFRおよび/またはアルブミンレベルに基づいて、患者の現在または過去のCKD病期の決定を含んでもよい。
【0010】
ともに、因子/特性および導出される因子/特性は、既知のCKD転帰を伴う患者の母集団に関する、CKD病期進行度に関連する正/負の転帰、CKD病期の進行の速さ、および透析を開始する緊急の必要性と関連付けられる。関連付けは、類似因子/特性を伴う患者が類似転帰を有するであろう、確率または尤度を決定するために使用される。
(【0011】以降は省略されています)
この特許をJ-PlatPat(特許庁公式サイト)で参照する
関連特許
個人
支援システム
6か月前
個人
医療のAI化
2か月前
個人
管理装置
6か月前
個人
対話システム
6か月前
個人
通知ぬいぐるみAIシステム
3か月前
キラル株式会社
ヘルスケアシステム
1か月前
キラル株式会社
ヘルスケアシステム
1か月前
株式会社タカゾノ
情報処理装置
11日前
株式会社タカゾノ
薬剤秤量装置
4か月前
株式会社タカゾノ
薬剤秤量装置
4か月前
株式会社タカゾノ
薬剤秤量装置
4か月前
株式会社タカゾノ
薬剤秤量装置
4か月前
株式会社タカゾノ
薬剤秤量装置
6か月前
株式会社タカゾノ
薬剤秤量装置
1か月前
キヤノン株式会社
情報処理装置
19日前
株式会社タカゾノ
情報処理装置
11日前
株式会社タカゾノ
薬剤秤量装置
4か月前
株式会社リコー
投薬管理システム
3か月前
TOTO株式会社
健康管理システム
2か月前
株式会社ケアコム
看護必要度分析装置
19日前
個人
診療の管理装置及び診療システム
4か月前
株式会社M-INT
情報処理システム
7か月前
ゾーン株式会社
コンピュータシステム
7か月前
株式会社サンクスネット
情報提供システム
6か月前
株式会社CureApp
プログラム
5か月前
株式会社サンクスネット
アンケートシステム
11日前
有限会社ビルケ
問診システム及び問診用端末
6日前
株式会社ユニオン
健康関連情報管理装置
20日前
株式会社 137
健康観察管理システム
6か月前
株式会社イシダ
受付端末装置
1か月前
株式会社ミラボ
情報処理装置、及びプログラム
4か月前
ギジン株式会社
情報分析装置および情報分析方法
27日前
株式会社タカゾノ
薬剤秤量装置及び調剤システム
6か月前
合同会社フォース
オンライン診療システム
8か月前
歯っぴー株式会社
口内状態の画像診断方法
3か月前
西川株式会社
サービス出力システム
6か月前
続きを見る
他の特許を見る