TOP
|
特許
|
意匠
|
商標
特許ウォッチ
Twitter
他の特許を見る
10個以上の画像は省略されています。
公開番号
2025178169
公報種別
公開特許公報(A)
公開日
2025-12-05
出願番号
2025083139
出願日
2025-05-19
発明の名称
液体クロマトグラフィシステム用の電気化学的耐食性コネクタ
出願人
サーモ フィニガン エルエルシー
,
Thermo Finnigan LLC
代理人
弁理士法人ITOH
主分類
G01N
30/26 20060101AFI20251128BHJP(測定;試験)
要約
【課題】液体クロマトグラフィシステム用の電気化学的耐食性コネクタを提供する。
【解決手段】コネクタは、第1の導管及び第2の導管を流体的に結合して、中を通って液体クロマトグラフィ用の移動相が流れることを可能にするように構成される。コネクタは、導電性接合部が電源と電気的に接続されたときに、移動相にエレクトロスプレー電圧を提供するための、導電性接合部を含む。導電性接合部は、移動相とインターフェースし、第1の導管の遠位端と流体的に封止する第1の封止面を有する第1のレセプタクルと、移動相とインターフェースし、第2の導管の近位端と流体的に封止する第2の封止面を有する第2のレセプタクルと、第1のレセプタクルから第2のレセプタクルまで延在する貫通孔と、を含む。第1の封止面及び第2の封止面は各々、電気化学的耐食性材料を含む。
【選択図】図6B
特許請求の範囲
【請求項1】
第1の導管及び第2の導管を流体的に結合して、前記第1の導管及び前記第2の導管を通って液体クロマトグラフィ用の移動相が流れるのを可能にするように構成されたコネクタであって、前記コネクタが、導電性接合部であって、前記導電性接合部が電源と電気的に接続されたときに、前記移動相にエレクトロスプレー電圧を提供するための、導電性接合部を備え、前記導電性接合部が、
前記第1の導管の遠位端を受容するための第1のレセプタクルであって、前記移動相とインターフェースし、前記第1の導管の前記遠位端と流体的に封止する第1の封止面を備える、第1のレセプタクルと、
前記第2の導管の近位端を受容するための第2のレセプタクルであって、前記移動相とインターフェースし、前記第2の導管の前記近位端と流体的に封止する第2の封止面を備える、第2のレセプタクルと、
前記第1のレセプタクルから前記第2のレセプタクルまで延在する貫通孔と、を備え、
前記第1の封止面及び前記第2の封止面が各々、電気化学的耐食性材料を含む、コネクタ。
続きを表示(約 630 文字)
【請求項2】
前記電気化学的耐食性材料が、標準水素電極(SHE)の還元電位よりも大きい標準還元電位を有する、請求項1に記載のコネクタ。
【請求項3】
前記電気化学的耐食性材料が、チタンの標準還元電位よりも大きい標準還元電位を有する、請求項1に記載のコネクタ。
【請求項4】
前記電気化学的耐食性材料が、貴金属を含む、請求項1に記載のコネクタ。
【請求項5】
前記電気化学的耐食性材料が、約20質量パーセント(20%)超のニッケルを含む金属合金を含む、請求項1に記載のコネクタ。
【請求項6】
前記電気化学的耐食性材料が、約1質量パーセント(1%)未満の鉄を含む金属合金を含む、請求項1に記載のコネクタ。
【請求項7】
前記電気化学的耐食性材料が、金を含む、請求項1に記載のコネクタ。
【請求項8】
前記電気化学的耐食性材料が、904Lステンレス鋼を含む、請求項1に記載のコネクタ。
【請求項9】
前記導電性接合部が、第1の材料と、前記第1の封止面及び前記第2の封止面における前記第1の材料上のコーティングを含む第2の材料と、を含み、前記第2の材料が、前記電気化学的耐食性材料を含む、請求項1に記載のコネクタ。
【請求項10】
前記第1の材料が、チタンを含む、請求項9に記載のコネクタ。
(【請求項11】以降は省略されています)
発明の詳細な説明
【背景技術】
【0001】
質量分析計は、質量電荷比(m/z)に基づいて、分子を検出、識別、及び/又は定量化するのに使用することができる機器である。質量分析計は、概して、試料中に含まれる成分からイオンを生成するためのイオン源、イオンのm/zに基づいてそのイオンを分離するための質量分析器、及び分離されたイオンを検出するためのイオン検出器を含む。質量分析計は、イオン検出器からのデータを使用して、検出されたイオンの各々の相対存在量を、m/zの関数として示す質量スペクトルを構築する、コンピュータベースのソフトウェアプラットフォームに接続され得る。イオンのm/zは、単純な混合物及び複雑な混合物中の分子を検出及び定量化するために使用することができる。
続きを表示(約 3,900 文字)
【0002】
イオン源は、多くの異なる方式で分析物からイオンを生成することができる。従来のエレクトロスプレーイオン化(electrospray ionization、ESI)では、液体試料は、質量分析器入口の前に位置決めされた小径キャピラリエミッタを通って流れる。液体試料に高電圧を印加して分析物イオンの形成をもたらすエレクトロスプレーを生成する。質量分析器入口に入る分析物イオンは、次いで、質量分析法によって分析されて、分析物イオンの質量スペクトルを生成する。
【0003】
いくつかの例では、試料の成分は、イオン化及び質量分析計への導入の前に、液体クロマトグラフィ(liquid chromatography、LC)などによって分離される。例えば、分析物は、LCカラム上で差別的に保持されるので、LCシステムは、試料中の分析物(例えば、ペプチド)を経時的に分離することができる。質量分析計は、次いで、分析物がLCシステムから経時的に溶出するにつれて、一連の質量スペクトルを獲得する。LCは、複雑な試料が質量分析計に直接注入された場合に生じるであろう、イオン化抑制及びスペクトルの複雑さを低減する。したがって、LCの手段を通して、分析物の溶出は、質量分析計への分析物の導入前に、経時的に拡散される。質量分析計によって獲得された質量スペクトルは、試料中の分析物を検出、識別、及び/又は定量化するために使用され得る。
【0004】
LCシステムは、一般に、粒子状材料(例えば、吸着剤、ゲルなど)などの固定相を含むクロマトグラフィカラムと、試料中の成分を分離するためにクロマトグラフィカラムを通して溶媒(例えば、水、メタノール、アセトニトリルなど)などの移動相を送達するポンプと、を含む。クロマトグラフィカラムの出口は、質量分析計のESIエミッタと流体的に接続される。
【0005】
しかしながら、ESI法の感度、効率、安定性、及び精度は、ESIエミッタの長期使用とともに減少する。例えば、LC-MSシステムへの試料の注入の回数が増加するにつれて、ESIエミッタの性能は減少する。
【発明の概要】
【0006】
以下の説明は、本明細書で説明される方法及びシステムの1つ以上の態様の基本的な理解を提供するために、かかる態様の単純化された概要を提示する。本概要は、全ての企図された態様の広範な概観ではなく、全ての態様の主要又は重要な要素を識別することも、任意又は全ての態様の範囲を明確に記述することも意図していない。その唯一の目的は、以下で提示されるより詳細な説明に対する前置きとして、単純化された形態において本明細書で説明される方法及びシステムの1つ以上の態様のいくつかの概念を提示することである。
【0007】
いくつかの例解的な例では、コネクタは、第1の導管及び第2の導管を流体的に結合して、それらを通って液体クロマトグラフィ用の移動相が流れるのを可能にするように構成され、コネクタは、導電性接合部が電源と電気的に接続されたときに、移動相にエレクトロスプレー電圧を提供するための、導電性接合部を備え、導電性接合部は、第1の導管の遠位端を受容するための第1のレセプタクルであって、移動相とインターフェースし、第1の導管の遠位端と流体的に封止する第1の封止面を備える、第1のレセプタクルと、第2の導管の近位端を受容するための第2のレセプタクルであって、移動相とインターフェースし、第2の導管の近位端と流体的に封止する第2の封止面を備える、第2のレセプタクルと、第1のレセプタクルから第2のレセプタクルまで延在する貫通孔と、を備え、第1の封止面及び第2の封止面は各々、電気化学的耐食性材料を含む。
【0008】
いくつかの例解的な例では、液体クロマトグラフィ質量分析法によって試料を分析するためのシステムは、第1の導管と、第2の導管と、エレクトロスプレーイオン化(electrospray ionization、ESI)エミッタと、第1の導管と第2の導管との間に位置決めされ、第1の導管及び第2の導管と流体的に結合されて、移動相が第1の導管及び第2の導管を通ってESIエミッタへ流れることを可能にする、コネクタであって、コネクタが、導電性接合部を含み、導電性接合部が、第1の導管の遠位端を受容するための第1のレセプタクルであって、移動相とインターフェースするように構成された第1の封止面を備える、第1のレセプタクルと、第2の導管の近位端を受容するための第2のレセプタクルであって、移動相とインターフェースし、第2の導管の近位端と流体的に封止するように構成された第2の封止面を備える、第2のレセプタクルと、第1のレセプタクルから第2のレセプタクルまで延在する貫通孔と、を備え、第1の封止面及び第2の封止面が各々、電気化学的耐食性材料を含む、コネクタと、導電性接合部と電気的に接続されて、移動相にエレクトロスプレー電圧を提供する電源と、を備える。
【0009】
いくつかの例解的な例では、第1の導管及び第2の導管を流体的に結合して、それらを通って液体クロマトグラフィ用の移動相が流れるのを可能にするように構成された、コネクタを作製する方法は、導電性接合部が電源と電気的に接続されたときに、移動相にエレクトロスプレー電圧を提供するように構成された、導電性接合部を形成することを含み、導電性接合部は、第1の導管の遠位端を受容するためのコネクタの近位端にある第1のレセプタクルであって、移動相とインターフェースし、第1の導管の遠位端と流体的に封止するための第1の封止面を備える、第1のレセプタクルと、第2の導管の近位端を受容するための、コネクタの遠位端にある第2のレセプタクルであって、移動相とインターフェースし、第2の導管の近位端と流体的に封止するための第2の封止面を備える、第2のレセプタクルと、第1のレセプタクルから第2のレセプタクルまで延在する貫通孔と、を備え、第1の封止面及び第2の封止面は各々、電気化学的耐食性材料を含む。
【図面の簡単な説明】
【0010】
添付の図面は、様々な例を例解し、本明細書の一部である。例解される例は、単なる例であり、本開示の範囲を制限するものではない。図面全体を通して、同一又は同様の参照番号は、同一又は同様の要素を指示する。
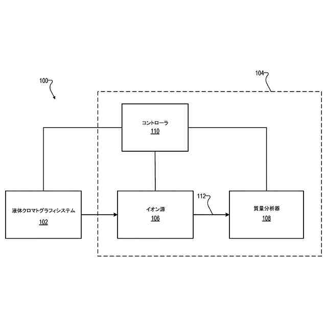
例解的な液体クロマトグラフィ質量分析(LC-MS)システムの機能的構成要素を示す。
図1のLC-MSシステムに含まれる例解的な液体クロマトグラフィ(LC)システムの機能的構成要素を示す。
図1のLC-MSシステムに含まれる例解的なイオン源の機能図を示す。
特定のエミッタを用いたLC-MSシステムへの注入の回数の関数として、特定のエミッタを使用してLC-MSによって(例えば、図1のLC-MSシステムによって)識別されたペプチドの量をプロットする、例解的なグラフを示す。
特定のエミッタを用いたLC-MSシステムへの注入の回数の関数として、特定のエミッタを使用してLC-MSによって(例えば、図1のLC-MSシステムによって)獲得されたクロマトグラフィピークのピーク幅をプロットする、例解的なグラフを示す。
特定のエミッタを用いたLC-MSシステムへの注入の回数の関数として、特定のエミッタを使用してLC-MSによって(例えば、図1のLC-MSシステムによって)識別されたペプチドの量をプロットする、別の例解的なグラフを示す。
移動相の抵抗をプロットし、特定のエミッタを用いたLC-MSシステムへの注入の回数の関数として、特定のエミッタを使用してLC-MSによって(例えば、図1のLC-MSシステムによって)獲得され得る、例解的なグラフを示す。
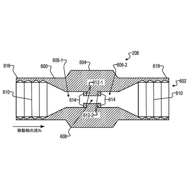
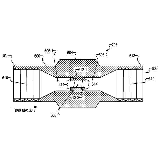
LC-MSシステムのための例解的な電気化学抵抗性コネクタの斜視図を示す。
図6AにVIBと標識された一点鎖線に沿って切り取られた図6Aのコネクタの断面図を示す。
図6Aのコネクタの近位端の図を示す。
図6Aのコネクタの遠位端の図を示す。
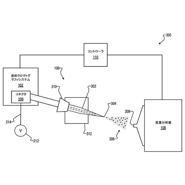
クロマトグラフィカラム及びエレクトロスプレーイオン化エミッタと結合された図6Aのコネクタの例解的な構成を示す。
図7Aの構成の断面図を示す。
特定のエミッタを用いたLC-MSシステムへの注入の回数の関数として、特定のエミッタを使用してLC-MSによって(例えば、図6Aのコネクタを含むLC-MSシステムによって)獲得されたクロマトグラフィピークのピーク幅をプロットする、例解的なグラフを示す。
特定のエミッタを用いたLC-MSシステム(例えば、図6Aのコネクタを含むLC-MSシステム)への注入の回数の関数として、特定のエミッタに関する開始電圧をプロットする、例解的なグラフを示す。
LC-MSシステムのための別の例解的な電気化学抵抗性コネクタの断面図を示す。
第1の材料を含むLC-MSシステムのための電気化学抵抗性コネクタの断面図を示す。
第1の封止面及び第2の封止面において第1の材料上にコーティングされた第2の材料を含む、図10Aのコネクタの断面図を示す。
【発明を実施するための形態】
(【0011】以降は省略されています)
この特許をJ-PlatPat(特許庁公式サイト)で参照する
関連特許
個人
視触覚センサ
1日前
日本精機株式会社
検出装置
1か月前
個人
採尿及び採便具
1か月前
個人
計量機能付き容器
26日前
株式会社カクマル
境界杭
16日前
甲神電機株式会社
電流検出装置
1か月前
日本精機株式会社
発光表示装置
9日前
ユニパルス株式会社
トルク変換器
1日前
ユニパルス株式会社
トルク変換器
1日前
ユニパルス株式会社
トルク変換器
1日前
株式会社トプコン
測量装置
8日前
大成建設株式会社
風洞実験装置
26日前
日本特殊陶業株式会社
ガスセンサ
2日前
個人
非接触による電磁パルスの測定方法
29日前
日本特殊陶業株式会社
ガスセンサ
8日前
日本信号株式会社
距離画像センサ
29日前
双庸電子株式会社
誤配線検査装置
1か月前
個人
計量具及び計量機能付き容器
26日前
日本特殊陶業株式会社
ガスセンサ
1日前
日本特殊陶業株式会社
ガスセンサ
24日前
日東精工株式会社
振動波形検査装置
1か月前
株式会社不二越
X線測定装置
29日前
日置電機株式会社
絶縁抵抗測定装置
1日前
個人
液位検視及び品質監視システム
24日前
株式会社タイガーカワシマ
揚穀装置
8日前
本陣水越株式会社
車載式計測標的物
3日前
日本特殊陶業株式会社
センサ
10日前
キーコム株式会社
画像作成システム
16日前
株式会社電巧社
試験装置及び試験方法
1か月前
スズキ株式会社
タイヤ径算出システム
2日前
理研計器株式会社
ガス検知装置
16日前
ユニパルス株式会社
トルク変換器、調整部材
1日前
株式会社マグネア
磁界検出素子
29日前
株式会社エルメックス
希釈液収容容器
26日前
株式会社不二越
X線測定システム
1日前
株式会社アイシン
回転角検出装置
16日前
続きを見る
他の特許を見る