TOP
|
特許
|
意匠
|
商標
特許ウォッチ
Twitter
他の特許を見る
10個以上の画像は省略されています。
公開番号
2025178137
公報種別
公開特許公報(A)
公開日
2025-12-05
出願番号
2025071144
出願日
2025-04-23
発明の名称
人工知能生成三次元配管ルートを実装するシステムおよび方法
出願人
ジーイー・ベルノバ・テクノロジー・ゲーエムベーハー
,
GE Vernova Technology GmbH
代理人
個人
,
弁理士法人NIP&SBPJ国際特許事務所
主分類
G06Q
50/06 20240101AFI20251128BHJP(計算;計数)
要約
【課題】発電システム内で使用するための三次元(3D)配管ルートの生成のためのシステム、方法及び非一時的コンピュータ可読記憶媒体を提供する。
【解決手段】配管設計システムは、ルート基準を受信し(244)、ルート基準に基づきパイプの数を識別し(422)、ベクトルルートを生成し、ベクトルルートを記憶し(456)、制限ゾーンを生成し(458)、識別された数のパイプの各々についての1つまたは複数のベクトルルートを決定(460)し、最適化パラメータに基づいて1つまたは複数のベクトルルートに基づいてルート解を最適化し(462)、三次元パイプレイアウトを出力(242)し、三次元パイプレイアウトを、ユーザインターフェースを介して表示のために外部プラットフォームに送信する。
【選択図】図8
特許請求の範囲
【請求項1】
三次元(3D)配管ルートの生成のためのシステム(202)であって、
処理回路(212)と、
前記処理回路(212)によってアクセス可能なメモリ(206)であって、前記メモリ(206)は、前記処理回路(212)によって実行されると、前記処理回路(212)に、
1つまたは複数のルート基準(244)を受信すること(244)と、
パイプの数を識別すること(442)であって、前記パイプの数は、前記1つまたは複数のルート基準(244)に基づくことと、
ベクトルルートを生成すること(248、456)と、
前記ベクトルルートを記憶すること(456)であって、前記ベクトルルートは、前記1つまたは複数のルート基準(244)に基づいて記憶されることと、
制限ゾーン(292、422)を生成すること(458)であって、前記制限ゾーン(292、422)は、前記記憶されたベクトルルートの位置に基づいて形成されることと、
反復プロセス(460)を実施することであって、前記反復プロセス(460)は、前記識別された数のパイプの各々についての1つまたは複数のベクトルルートを決定することと、
前記1つまたは複数のベクトルルートに基づいてルート解を最適化すること(250、462)であって、最適化は、最適化パラメータに基づくことと、
三次元パイプレイアウト(242)を出力することであって、前記三次元パイプレイアウト(242)は、ユーザインターフェース(208)を介して表示のために外部プラットフォームに送信されることと
を含む動作を実施させる命令を記憶するメモリ(206)と
を備える、システム(202)。
続きを表示(約 2,700 文字)
【請求項2】
前記メモリ(206)は、前記処理回路(212)によって実行されると、前記処理回路(212)に、前記ベクトルルートのベクトル方向を監視すること(448)を含む動作を実施させる命令をさらに記憶する、請求項1に記載のシステム(202)。
【請求項3】
前記1つまたは複数のルート基準(244)は、開始点(282)、終了点(284)、パイプ選択、作業容積境界、1つまたは複数の追加の制限ゾーン、またはそれらの組み合わせを含む、請求項1または2に記載のシステム(202)。
【請求項4】
前記パイプ選択は、パイプサイズ、パイプスケジュール、パイプ材料、またはそれらの組み合わせを含む、請求項3に記載のシステム(202)。
【請求項5】
前記メモリ(206)は、前記処理回路(212)によって実行されると、前記処理回路(212)に、
第1のベクトル(402)を生成することであって、前記第1のベクトル(402)の第1の端部の生成は、前記開始点(282)で開始し、前記第1のベクトル(402)の方向は、ランダムであることと、
前記第1のベクトル(402)の方向を監視することと、
前記第1のベクトル(402)と前記記憶されたベクトルルートの前記制限ゾーン(292、422)、前記1つまたは複数の追加の制限ゾーン、前記作業容積境界、および/または前記終了点(284)の交点を決定することと、
前記第1のベクトル(402)と前記記憶されたベクトルルートの前記制限ゾーン(292、422)、前記1つまたは複数の追加の制限ゾーン、および/または前記作業容積境界の前記交点に破断点(404)を生成することと
を含む動作を実施させる命令をさらに記憶する、請求項3または4に記載のシステム(202)。
【請求項6】
前記メモリ(206)は、前記処理回路(212)によって実行されると、前記処理回路(212)に、
第2のベクトル(408)を生成することであって、前記第2のベクトル(408)の第1の端部の生成は、前記破断点(404)で開始し、前記第2のベクトル(408)の方向は、ランダムであることと、
前記第2のベクトル(408)の方向を監視することと、
前記第2のベクトル(408)と前記記憶されたベクトルルートの前記制限ゾーン(292、422)、前記1つまたは複数の追加の制限ゾーン、前記作業容積境界、および/または前記終了点(284)の交点を決定することと、
前記第2のベクトル(408)と前記記憶されたベクトルルートの前記制限ゾーン(292、422)、前記1つまたは複数の追加の制限ゾーン、および/または前記作業容積境界の交点に第2の破断点(410)を生成することと、
前記1つまたは複数の追加のベクトルと前記1つまたは複数の追加の制限ゾーン、前記作業容積境界、および/または前記終了点(284)の交点に基づいて1つまたは複数の追加のベクトル(414、420)および/または1つまたは複数の追加の破断点(416)を生成することと、
前記1つまたは複数の追加のベクトル(414、420)と終了点(284)の前記交点における1つまたは複数の追加のベクトル(414、420)の生成を終了させることと、
前記識別された数のパイプの各々についての前記1つまたは複数のベクトルルートのベクトルルートを出力することと
を含む動作を実施させる命令をさらに記憶する、請求項5に記載のシステム(202)。
【請求項7】
前記メモリ(206)は、前記処理回路(212)によって実行されると、前記処理回路(212)に、
前記1つまたは複数のルート基準(244)を分析し、開始点(282)を決定することであって、前記開始点(282)は、ベクトルルートの初期位置であることと、
第1のパイプの前記開始点(282)を選択することと、
ベクトルを生成することであって、前記ベクトルの第1の端部の生成は、前記開始点(282)で開始し、前記ベクトルの方向は、ランダムであることと
を含む動作を実施させる命令をさらに記憶する、請求項1乃至6のいずれか1項に記載のシステム(202)。
【請求項8】
前記メモリ(206)は、前記処理回路(212)によって実行されると、前記処理回路(212)に、
前記三次元パイプレイアウト(242)に基づいて建設された現実世界の配管レイアウトを動作させること(488)
を含む動作を実施させる命令をさらに記憶する、請求項1乃至7のいずれか1項に記載のシステム(202)。
【請求項9】
前記現実世界の配管レイアウトは、1つまたは複数のセンサ(128)を含み、前記1つまたは複数のセンサ(128)は、センサフィードバックデータを前記処理回路(212)に提供するように構成される、請求項8に記載のシステム(202)。
【請求項10】
前記メモリ(206)は、前記処理回路(212)によって実行されると、前記処理回路(212)に、
スケール増加モデル(320)を開始し、訓練データ(384)に基づいて前記三次元パイプレイアウト(242)を生成すること(386)と、
優先度閾値を決定すること(388)であって、前記優先度閾値は、前記訓練データ(384)に割り当てられた値重みに基づき、前記訓練データ(384)は、1つまたは複数のルート基準(244)を含むことと、
前記優先度閾値を上回る前記訓練データ(384)を使用して前記スケール増加モデル(320)を訓練すること(390)と、
前記優先度閾値を上回る前記訓練データ(384)に基づいて生成された前記三次元パイプレイアウト(242)を出力すること(392)と、
前記スケール増加モデル(320)の有効性を決定すること(394)であって、前記有効性は、スコアリングメトリックに基づくことと、
ベクトルルーティングモデル(382)を出力することであって、前記ベクトルルーティングモデル(382)は、訓練されたモデルであることと
を含む動作を実施させる命令をさらに記憶する、請求項1乃至9のいずれか1項に記載のシステム(202)。
(【請求項11】以降は省略されています)
発明の詳細な説明
【技術分野】
【0001】
本明細書に開示される主題は、配管システムに関し、より詳細には、発電システム内で使用するための三次元(3D)配管ルートの生成のためのシステムおよび方法に関する。
続きを表示(約 2,700 文字)
【背景技術】
【0002】
産業プラントは、ガス(例えば、蒸気、排気ガス)および/または液体(例えば、水、油、燃料)を含み得る様々な製品を生産し得る。様々な製品の生産には、複雑な配管ルートを含む産業プラント全体の様々な製品の移動が含まれる。複雑な配管ルートの設計、実装、および動作が煩雑であり得ることが現在知られている。複数の要因が、最適化されていない配管ルートにつながる可能性がある産業プラントの設計中に配管ルートのユーザによる再設計の繰り返しの必要性を必要とする可能性があり、それによって設計時間、実装コスト、および/または運用効率を増加させる。したがって、産業プラント(例えば、発電に使用されるプラント)内の配管システムの合理化された設計および実装が必要とされている。
【発明の概要】
【0003】
当初特許請求された主題の範囲に相応する特定の実施形態が以下に要約される。これらの実施形態は、特許請求された実施形態の範囲を限定するものではなく、むしろ、これらの実施形態は、本主題の可能な形態の概要を提供することのみが意図されている。実際、ここに特許請求された実施形態は、以下に記載される実施形態に類似する場合もあり異なる場合もある様々な形態を包含する場合がある。
【0004】
特定の実施形態では、配管設計システムは、処理回路と、処理回路によってアクセス可能なメモリであって、メモリは、処理回路によって実行されると、処理回路に、1つまたは複数のルート基準を受信することと、パイプの数を識別することであって、パイプの数は、1つまたは複数のルート基準に基づくこととを含む動作を実施させる命令を記憶するメモリとを含む。動作はまた、ベクトルルートを生成することと、ベクトルルートを記憶することと、制限ゾーンを生成することと、識別された数のパイプの各々についての1つまたは複数のベクトルルートを決定することを含む反復プロセスを実施することとを含む。さらに、配管設計システムはまた、最適化パラメータに基づいて1つまたは複数のベクトルルートに基づいてルート解を最適化し、三次元パイプレイアウトを出力するための命令を含み、三次元パイプレイアウトは、ユーザインターフェースを介して表示のために外部プラットフォームに送信される。
【0005】
特定の実施形態では、方法は、三次元パイプレイアウトを生成することと、三次元パイプレイアウトを出力することと、三次元パイプレイアウトに基づいて現実世界の配管レイアウトを構築することとを含む。
【0006】
特定の実施形態では、非一時的コンピュータ可読記憶媒体は、プロセッサによって実行されると、プロセッサに、動作を実施させるプロセッサ実行可能ルーチンを含む。プロセッサは、1つまたは複数のルート基準を受信することと、パイプの数を識別することと、ベクトルルーティングモデルを開始することと、ベクトルルーティングモデルによって形成された1つまたは複数のベクトルルートを生成することとを含む動作を実施する。プロセッサはまた、1つまたは複数のベクトルルートのベクトル方向を監視することと、1つまたは複数のベクトルルートを記憶することと、制限ゾーンを生成することと、反復プロセスを実施することと、1つまたは複数のベクトルルートに基づいてルート解を最適化することと、三次元パイプレイアウトを出力することとを含む動作を実施する。
【0007】
ここに開示された技法のこれらおよび他の特徴、態様、および利点は、添付の図面を参照して以下の発明を実施するための形態が読まれるとよりよく理解され、添付の図面では、図面全体を通して同様の符号は同様の部分を表す。
【図面の簡単な説明】
【0008】
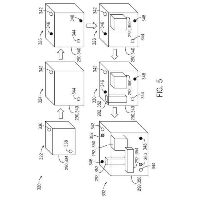
本明細書に記載の実施形態による、産業プラント(例えば、発電用に構成された発電プラント)の一実施形態のブロック図である。
本明細書に記載の実施形態による、配管設計システムのコンピュータシステムの例示的な構成要素のブロック図である。
本明細書に記載の実施形態による3Dパイプレイアウトを生産するための方法を含む配管設計システムの一実施形態のフロー図である。
本明細書に記載の実施形態による配管システムのユーザインターフェースの一実施形態を示す図である。
本明細書に記載の実施形態による配管設計システムのベクトルルーティングモデルを訓練するためのスケール増加モデルの一実施形態を示す図である。
本明細書に記載の実施形態による配管設計システムのベクトルルーティングモデルの一実施形態のフロー図である。
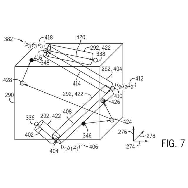
本明細書に記載の実施形態による配管設計システムのベクトルルーティングモデルの一実施形態を示す図である。
本明細書に記載の実施形態による配管設計システムのベクトルルーティングモデルのプロセスのフロー図である。
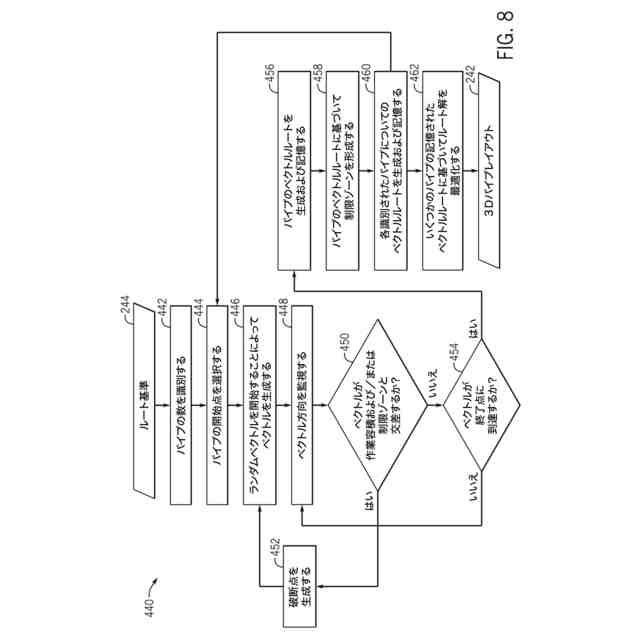
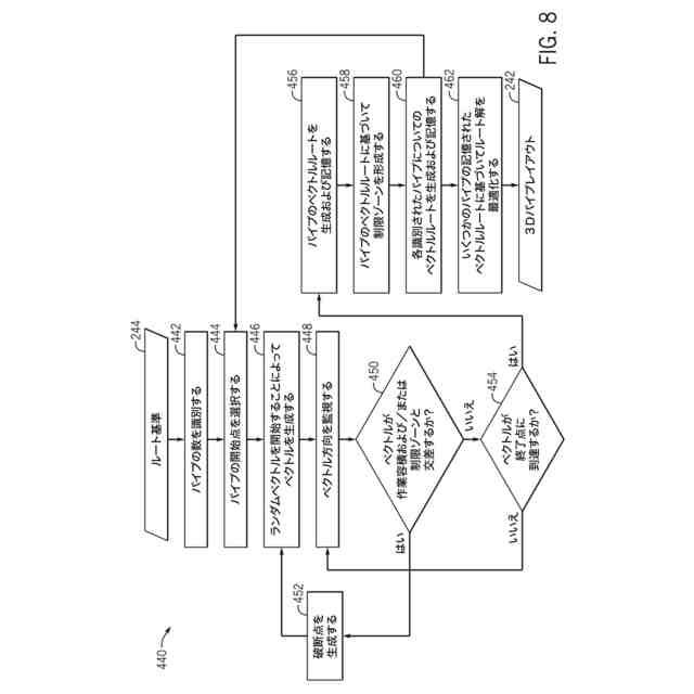
本明細書に記載の実施形態による配管設計システムのプロセスの一実施形態のフロー図である。
【発明を実施するための形態】
【0009】
ここに開示されたシステムおよび方法の1つまたは複数の具体的な実施形態が、以下に記載される。これらの実施形態に関する簡潔な説明を提供するために、実際の実施態様のすべての特徴が本明細書に記載されているわけではない。このような実際の実施態様の開発では、あらゆるエンジニアリングまたは設計プロジェクトと同様に、開発者の特定の目標を達成するために、例えばシステム関連および事業関連の制約条件の遵守など、実施態様に特有の多数の決定を行わなければならないが、これらの制約条件は実施態様ごとに異なり得ることを理解されたい。さらに、このような開発努力は複雑で時間がかかるかもしれないが、それでもなお本開示の利益を有する当業者にとっては、設計、製作、および製造の日常的な仕事であることを理解されたい。
【0010】
ここに開示された実施形態の様々な実施形態の要素を紹介するときに、「a」、「an」、「the」、および「said」という冠詞は、1つまたは複数の要素が存在することを意味するものである。「・・・を備える(comprising)」、「・・・を含む(including)」、および「・・・を有する(having)」という用語は、包括的であって、列挙された要素以外のさらなる要素が存在してもよいことを意味するものである。
(【0011】以降は省略されています)
この特許をJ-PlatPat(特許庁公式サイト)で参照する
関連特許
個人
詐欺保険
1か月前
個人
縁伊達ポイン
1か月前
個人
RFタグシート
1か月前
個人
職業自動販売機
23日前
個人
5掛けポイント
1か月前
個人
QRコードの彩色
1か月前
個人
ペルソナ認証方式
1か月前
個人
地球保全システム
2か月前
個人
情報処理装置
1か月前
個人
自動調理装置
1か月前
個人
立体グラフの利用方法
2日前
個人
残土処理システム
2か月前
個人
農作物用途分配システム
1か月前
個人
サービス情報提供システム
25日前
個人
知的財産出願支援システム
2か月前
NISSHA株式会社
入力装置
3日前
個人
タッチパネル操作指代替具
1か月前
個人
インターネットの利用構造
1か月前
個人
携帯端末障害問合せシステム
1か月前
個人
学習用データ生成装置
4日前
個人
スケジュール調整プログラム
1か月前
株式会社キーエンス
受発注システム
2か月前
個人
エリアガイドナビAIシステム
1か月前
個人
食品レシピ生成システム
2か月前
株式会社キーエンス
受発注システム
2か月前
株式会社キーエンス
受発注システム
2か月前
株式会社ケアコム
項目選択装置
1か月前
キヤノン株式会社
表示システム
2か月前
キヤノン株式会社
情報処理装置
1か月前
株式会社ケアコム
項目選択装置
1か月前
キラル株式会社
顧客体験提供システム
5日前
キヤノン株式会社
情報処理装置
17日前
キヤノン株式会社
情報処理装置
17日前
キヤノン株式会社
画像認識装置
17日前
トヨタ自動車株式会社
通知装置
1か月前
株式会社ワコム
電子ペン
1か月前
続きを見る
他の特許を見る