TOP
|
特許
|
意匠
|
商標
特許ウォッチ
Twitter
他の特許を見る
公開番号
2025178071
公報種別
公開特許公報(A)
公開日
2025-12-05
出願番号
2024203778
出願日
2024-11-22
発明の名称
バッテリーの負極安定度推定方法及びそれを用いたバッテリーシステム
出願人
三星エスディアイ株式会社
,
SAMSUNG SDI Co., LTD.
代理人
弁理士法人谷・阿部特許事務所
主分類
H01M
10/44 20060101AFI20251128BHJP(基本的電気素子)
要約
【課題】正極の劣化と分離して負極の劣化のみを判断する、及び、充放電電圧データを用いて、負極の抵抗増加の影響を含む負極の劣化状態を把握することができる、バッテリーの負極安定度推定方法及びそれを用いたバッテリーシステムを提供する。
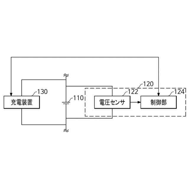
【解決手段】負極安定度推定方法は、電圧センサから少なくとも一つのセルに対する第1の充電データを受信するステップと、電圧センサから少なくとも一つのセルに対する第2の充電データを受信するステップと、第1の充電データ及び第2の充電データに基づいて、少なくとも一つのセルに対する負極安定度を推定するステップとを含み、第1の充電データ及び第2の充電データは、充電速度(C-rate)が互いに異なることができる。
【選択図】図1
特許請求の範囲
【請求項1】
少なくとも一つのプロセッサにより遂行される、負極安定度推定方法において、
電圧センサから少なくとも一つのセルに対する第1の充電データを受信するステップと、
前記電圧センサから前記少なくとも一つのセルに対する第2の充電データを受信するステップと、
前記第1の充電データ及び前記第2の充電データに基づいて、前記少なくとも一つのセルに対する負極安定度を推定するステップと、を含み、
前記第1の充電データ及び前記第2の充電データは、充電速度(C-rate)が互いに異なる、負極安定度推定方法。
続きを表示(約 1,300 文字)
【請求項2】
前記第1の充電データは、第1の充電速度で前記少なくとも一つのセルを充電することにより得られた充電容量に従う第1の充電電圧データを含み、
前記第2の充電データは、第2の充電速度で前記少なくとも一つのセルを充電することにより得られた充電容量に従う第2の充電電圧データを含む、請求項1に記載の負極安定度推定方法。
【請求項3】
前記第1の充電データ及び前記第2の充電データは、前記少なくとも一つのセルの充電状態(SoC:State of Charge)がSoCの閾値未満である状態において、前記少なくとも一つのセルを充電して生成される、請求項1に記載の負極安定度推定方法。
【請求項4】
前記第1の充電速度は前記第2の充電速度よりも遅くて、前記第2の充電速度は既定の閾値以下である、請求項2に記載の負極安定度推定方法。
【請求項5】
前記第1の充電電圧データに対する第1の微分電圧データを算出するステップと、
前記第2の充電電圧データに対する第2の微分電圧データを算出するステップと、をさらに含む、請求項2に記載の負極安定度推定方法。
【請求項6】
前記第1の微分電圧データは、第1_1のピーク充電容量及び第1_2のピーク充電容量を含み、
前記第2の微分電圧データは、第2のピーク充電容量を含み、
前記第1_1のピーク充電容量は、第1の充電領域に含まれ、
前記第1_2のピーク充電容量及び前記第2のピーク充電容量は、第2の充電領域に含まれる、請求項5に記載の負極安定度推定方法。
【請求項7】
前記少なくとも一つのセルに対する負極安定度を推定するステップは、前記第1_1のピーク充電容量、前記第1_2のピーク充電容量及び前記第2のピーク充電容量に基づいて、前記負極安定度を推定するステップを含む、請求項6に記載の負極安定度推定方法。
【請求項8】
前記少なくとも一つのセルに対する負極安定度を推定するステップは、
前記第1_2のピーク充電容量及び前記第2のピーク充電容量に基づいて、ピーク変化量を算出するステップと、
前記ピーク変化量、前記第1_1のピーク充電容量及び前記第1_2のピーク充電容量に基づいて、前記負極安定度を推定するステップと、を含む、請求項6に記載の負極安定度推定方法。
【請求項9】
前記少なくとも一つのセルは、リチウム二次電池であり、
前記ピーク変化量は、前記少なくとも一つのセルに含まれた負極におけるリチウムの析出の程度と関連する、請求項8に記載の負極安定度推定方法。
【請求項10】
前記少なくとも一つのセルのバッテリー寿命の初期段階(BoL:Beginning of Life)と関連した第3の充電データを受信するステップをさらに含み、
前記少なくとも一つのセルに対する負極安定度を推定するステップは、前記第1の充電データ乃至前記第3の充電データに基づいて、前記少なくとも一つのセルに対する負極安定度を推定するステップを含む、請求項1に記載の負極安定度推定方法。
(【請求項11】以降は省略されています)
発明の詳細な説明
【技術分野】
【0001】
本開示は、バッテリーの負極安定度推定方法及びそれを用いたバッテリーシステムに関し、具体的には、バッテリーの充電データに基づいて、バッテリーの負極安定度を推定する方法及びそれを用いたバッテリーシステムに関する。
続きを表示(約 1,400 文字)
【背景技術】
【0002】
二次電池は、充電が不可能な一次電池とは異なり、充電及び放電が可能な電池である。低容量の二次電池は、スマートフォン、フィーチャーフォン、ラップトップコンピュータ、デジタルカメラ及びキャムコーダのように携帯可能な小型電子機器に使用され、大容量の二次電池は、ハイブリッド自動車や電気自動車などのモータ駆動用電源及び電力貯蔵用電池などとして広く使用されている。こうした二次電池は、正極及び負極からなる電極組立体、これを収容するケース、及び電極組立体に連結される電極端子などを含む。
【0003】
二次電池を含むバッテリーの高エネルギー化や高速充電の要求に伴い、安全性の問題が重要になっている。特に、バッテリーの負極におけるリチウム金属の析出による劣化は、発火の最大原因であり、負極極板の劣化状態と関連している。また、バッテリー内の負極の劣化状態を把握するのは、バッテリーの最適の性能のために、且つバッテリーの再使用のために重要である。
【0004】
バッテリーの負極の劣化状態を把握するために、非破壊でバッテリーの内部状態を診断するのは非常に重要である。バッテリーの内部状態を診断するために充放電電圧データを活用できるが、バッテリーの充放電電圧データにおいて、正極の劣化と分離して負極の劣化のみを判断するのは困難な実情にある。また、充放電電圧データを用いて、負極の容量減少だけでなく、負極の抵抗増加の影響を含む負極の劣化状態を把握するのは困難である。
【0005】
このような発明の背景技術に開示される前述の情報は、本発明の背景に対する理解度を向上させるためのものだけであり、よって、従来技術を構成しない情報を含むこともできる。
【先行技術文献】
【特許文献】
【0006】
韓国公開特許公報第10-2022-0021730号
【発明の概要】
【発明が解決しようとする課題】
【0007】
本開示は、前記問題を解決するためのバッテリーの負極安定度推定方法及びそれを用いたバッテリーシステムを提供する。
【0008】
ただし、本発明が解決しようとする技術的課題は、前述した課題に制限されず、言及されない、または他の課題等は、以下に記載された発明の説明から当業者に明確に理解されるべきである。
【課題を解決するための手段】
【0009】
前記技術的課題を解決するための本開示の一実施例によれば、負極安定度推定方法は、電圧センサから少なくとも一つのセルに対する第1の充電データを受信するステップと、電圧センサから少なくとも一つのセルに対する第2の充電データを受信するステップと、第1の充電データ及び第2の充電データに基づいて、少なくとも一つのセルに対する負極安定度を推定するステップとを含み、第1の充電データ及び第2の充電データは、充電速度(C-rate)が互いに異なることができる。
【0010】
本開示の一実施例によれば、第1の充電データは、第1の充電速度で少なくとも一つのセルを充電することにより得られた充電容量に従う第1の充電電圧データを含み、第2の充電データは、第2の充電速度で少なくとも一つのセルを充電することにより得られた充電容量に従う第2の充電電圧データを含むことができる。
(【0011】以降は省略されています)
この特許をJ-PlatPat(特許庁公式サイト)で参照する
関連特許
日機装株式会社
加圧装置
1日前
日新イオン機器株式会社
イオン源
1日前
株式会社東芝
端子台
1か月前
マクセル株式会社
電源装置
1か月前
株式会社GSユアサ
蓄電装置
1か月前
富士電機株式会社
電磁接触器
16日前
三菱電機株式会社
回路遮断器
24日前
株式会社GSユアサ
蓄電装置
16日前
株式会社GSユアサ
蓄電装置
1か月前
株式会社GSユアサ
蓄電装置
1か月前
トヨタ自動車株式会社
蓄電装置
1か月前
個人
電源ボックス及び電子機器
1日前
トヨタ自動車株式会社
蓄電装置
8日前
株式会社東芝
電子源
1日前
ホシデン株式会社
複合コネクタ
10日前
日本特殊陶業株式会社
保持装置
29日前
株式会社トクミ
ケーブル
2日前
大電株式会社
電線又はケーブル
8日前
日本無線株式会社
レーダアンテナ
1か月前
ローム株式会社
半導体モジュール
17日前
矢崎総業株式会社
コネクタ
16日前
ヒロセ電機株式会社
電気コネクタ
16日前
住友電装株式会社
コネクタ
16日前
甲神電機株式会社
変流器及び零相変流器
1か月前
株式会社レゾナック
冷却器
24日前
日本特殊陶業株式会社
アンテナ装置
3日前
日本航空電子工業株式会社
コネクタ
1日前
日本特殊陶業株式会社
アンテナ装置
3日前
三菱電機株式会社
半導体装置
1日前
日本航空電子工業株式会社
コネクタ
29日前
株式会社デンソー
熱交換部材
1か月前
富士電機株式会社
半導体モジュール
1か月前
株式会社デンソー
半導体装置
16日前
トヨタ自動車株式会社
蓄電装置構造
2日前
日本特殊陶業株式会社
アンテナ装置
3日前
矢崎総業株式会社
端子
8日前
続きを見る
他の特許を見る