TOP
|
特許
|
意匠
|
商標
特許ウォッチ
Twitter
他の特許を見る
10個以上の画像は省略されています。
公開番号
2025177562
公報種別
公開特許公報(A)
公開日
2025-12-05
出願番号
2024084516
出願日
2024-05-24
発明の名称
情報処理装置、情報処理方法、およびプログラム
出願人
PayPay株式会社
代理人
個人
,
個人
,
個人
主分類
G06Q
30/0208 20230101AFI20251128BHJP(計算;計数)
要約
【課題】利用者の満足度の向上と、加盟店への集客の向上とを実現すること。
【解決手段】利用者が電子決済サービスの加盟店で前記電子決済サービスを利用して電子決済を行ったことに応じて、前記電子決済サービスで管理されている利用者の識別情報、前記電子決済に係る加盟店の識別情報、および決済額を含む決済情報を取得する取得部と、前記加盟店の識別情報と、前記加盟店が提供する第1提供対象であって前記加盟店または加盟店に関連する加盟店で前記電子決済サービスの電子決済での支払いの対価として利用できる前記第1提供対象と、が対応付けられた情報を参照して、前記決済情報に基づいて特定した前記第1提供対象を、前記電子決済サービスの前記利用者のアカウントに付与する付与部と、を備える情報処理装置である。
【選択図】図1
特許請求の範囲
【請求項1】
利用者が電子決済サービスの加盟店で前記電子決済サービスを利用して電子決済を行ったことに応じて、前記電子決済サービスで管理されている利用者の識別情報、前記電子決済に係る加盟店の識別情報、および決済額を含む決済情報を取得する取得部と、
前記加盟店の識別情報と、前記加盟店が提供する第1提供対象であって前記加盟店または加盟店に関連する加盟店で前記電子決済サービスの電子決済での支払いの対価として利用できる前記第1提供対象と、が対応付けられた情報を参照して、前記決済情報に基づいて特定した前記第1提供対象を、前記電子決済サービスの前記利用者のアカウントに付与する付与部と、
を備える情報処理装置。
続きを表示(約 1,600 文字)
【請求項2】
前記第1提供対象は、前記加盟店が原資を提供することで前記利用者に提供されるポイントである、
請求項1に記載の情報処理装置。
【請求項3】
前記付与部は、前記決済情報に基づいて、更に前記電子決済サービスで提供され且つ前記電子決済サービスの加盟店で電子決済での支払いの対価として利用できる第2提供対象を前記利用者のアカウントに付与する、
請求項2に記載の情報処理装置。
【請求項4】
前記利用者の操作に応じて、複数の第1提供対象情報を表示部に表示させる表示制御部を備え、
前記第1提供対象情報は、複数の加盟店の情報と、前記複数の加盟店のそれぞれに対応する前記利用者が保有している加盟店の第1提供対象とが対応付けられた情報である、
請求項2に記載の情報処理装置。
【請求項5】
前記加盟店の情報に対応付けられた所定の領域が操作された場合、前記所定の領域に対応付けられた前記加盟店の前記第1提供対象を購入するためのコンテンツを表示部に表示させる表示制御部を備える、
請求項2に記載の情報処理装置。
【請求項6】
前記表示制御部は、購入する前記ポイントと、購入によって加算されるポイントとの複数の組み合わせ情報を含む前記コンテンツを表示部に表示させる、
請求項5に記載の情報処理装置。
【請求項7】
前記付与部は、前記電子決済に応じて得た前記ポイントと、前記コンテンツにおいて購入したポイントとを前記利用者のアカウントに付与し、
前記利用者のアカウントに付与されたポイントのうち、前記利用者が指定したポイントを、前記利用者が指定した他の利用者のアカウントに付与する処理部を備える、
請求項6に記載の情報処理装置。
【請求項8】
前記第1提供対象は、前記加盟店または加盟店に関連する加盟店で前記電子決済サービスの電子決済での支払いの対価として利用できるポイントであり、
前記電子決済サービスの前記利用者のアカウントに付与されているポイントに対応し且つ前記ポイントを利用可能な加盟店の位置情報および前記加盟店で利用可能なポイントの情報を地図情報に対応付けた情報を前記利用者の端末装置の表示部に表示させる、
請求項1から7のうちいずれか1項に記載の情報処理装置。
【請求項9】
前記第1提供対象は、前記加盟店または加盟店に関連する加盟店で前記電子決済サービスの電子決済での支払いの対価として利用できるポイントであり、
前記付与部は、前記加盟店ごとに対応付けられた達成条件を参照し、前記利用者のアカウントに付与された前記電子決済で得た所定の加盟店のポイントが前記所定の加盟店に対応付けられた前記達成条件を満たした場合、追加で前記加盟店のポイントを前記利用者のアカウントに付与する、
請求項1から7のうちいずれか1項に記載の情報処理装置。
【請求項10】
コンピュータが、
利用者が電子決済サービスの加盟店で前記電子決済サービスを利用して電子決済を行ったことに応じて、前記電子決済サービスで管理されている利用者の識別情報、前記電子決済に係る加盟店の識別情報、および決済額を含む決済情報を取得し、
前記加盟店の識別情報と、前記加盟店が提供する第1提供対象であって前記加盟店または加盟店に関連する加盟店で前記電子決済サービスの電子決済での支払いの対価として利用できる前記第1提供対象と、が対応付けられた情報を参照して、前記決済情報に基づいて特定した前記第1提供対象を、前記電子決済サービスの前記利用者のアカウントに付与する、
情報処理方法。
(【請求項11】以降は省略されています)
発明の詳細な説明
【技術分野】
【0001】
本発明は、情報処理装置、情報処理方法、およびプログラムに関する。
続きを表示(約 2,600 文字)
【背景技術】
【0002】
従来、自装置において各ユーザを識別するためのユーザ識別情報と、自装置において各電子決済処理を識別する決済識別情報とを対応付けて記憶する記憶部と、前記決済識別情報をユーザ端末に送信する送信部と、店舗端末によって前記ユーザ端末から取得された前記決済識別情報を含む決済要求を取得すると、当該決済要求に含まれる当該決済識別情報に対応付けて前記記憶部に記憶されている前記ユーザ識別情報に対応するユーザについて電子決済に関する処理を行う決済処理部と、前記決済識別情報を含む照会要求を特典付与装置から取得すると、当該決済識別情報に対応付けて前記記憶部に記憶されている前記ユーザ識別情報を前記特典付与装置に送信する送信部と、を備える済管理装置が開示されている(特許文献1参照)。
【先行技術文献】
【特許文献】
【0003】
特開2023-61238号公報
【発明の概要】
【発明が解決しようとする課題】
【0004】
従来の技術では、利用者の満足度の向上と、加盟店への集客の向上とを実現することができないことがあった。
【0005】
本発明は、このような事情を考慮してなされたものであり、利用者の満足度の向上と、加盟店への集客の向上とを実現することができる情報処理装置、情報処理方法、およびプログラムを提供することを目的の一つとする。
【課題を解決するための手段】
【0006】
本発明の一態様は、利用者が電子決済サービスの加盟店で前記電子決済サービスを利用して電子決済を行ったことに応じて、前記電子決済サービスで管理されている利用者の識別情報、前記電子決済に係る加盟店の識別情報、および決済額を含む決済情報を取得する取得部と、前記加盟店の識別情報と、前記加盟店が提供する第1提供対象であって前記加盟店または加盟店に関連する加盟店で前記電子決済サービスの電子決済での支払いの対価として利用できる前記第1提供対象と、が対応付けられた情報を参照して、前記決済情報に基づいて特定した前記第1提供対象を、前記電子決済サービスの前記利用者のアカウントに付与する付与部と、を備える情報処理装置である。
【発明の効果】
【0007】
本発明の一態様によれば、利用者の満足度の向上と、加盟店への集客の向上とを実現することができる情報処理装置、情報処理方法、およびプログラムを提供することができる。
【図面の簡単な説明】
【0008】
電子決済サービスが実現されるための構成の一例を示す図である。
電子決済の大まかな流れを例示したシーケンス図(その1)である。
電子決済の大まかな流れを例示したシーケンス図(その2)である。
決済サーバ100の構成図である。
利用者情報172の内容の一例を示す図である。
ポイント情報173の一例を示す図である。
加盟店/店舗情報176の内容の一例を示す図である。
加盟店のポイントが付与された際に表示されるインターフェース画面IM1を示す図である。
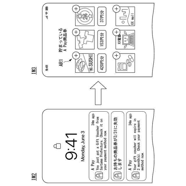
各加盟店のポイントを示すインターフェース画面を示す図である。
自動適用された際に表示部に表示されるインターフェース画面IM4を示す図である。
加盟店のポイントを購入するためのインターフェース画面IM5を示す図である。
インターフェース画面IM6を示す図である。
インターフェース画面IM7を示す図である。
インターフェース画面IM8を示す図である。
インターフェース画面IM9を示す図である。
決済サーバ100により実行される処理の流れの一例を示すフローチャートである。
決済サーバ100により実行される処理の流れの他の一例を示すフローチャートである。
【発明を実施するための形態】
【0009】
以下、図面を参照し、本発明の情報処理装置、情報処理方法、およびプログラムの実施形態について説明する。以下に登場する「サーバ」などの、利用者にサービスを提供したり内部解析を行ったりするための各種装置は、分散化された装置群によって実現されてよく、それぞれの装置を運用する事業者は異なってもよい。また装置のハードウェアの保有者(クラウドサーバの提供者)と実質的な運用を行う事業者も異なってよい。アプリケーションプログラムと決済サーバは、協働して電子決済サービスを提供する。以下の説明ではアプリケーションプログラムを決済アプリと称する。電子決済サービスは、店舗における商品やサービスの購買に係る決済をサポートするサービスである。店舗とは、例えば、現実空間に存在する物理的な店舗(実店舗)であるが、電子商取引の仮想店舗を含んでもよい。仮想店舗は、電子決済サービスの運営者とは異なる主体によって提供されるものを含んでもよい。その場合、仮想店舗における買い物の決済の際に、電子決済サービスのインターフェース画面に遷移するように制御される。電子決済サービスにおいて、店舗は、例えば加盟店(ブランド)に属するものとして扱われ、店舗において購買行動が行われた際の決済などの処理は、主として利用者と加盟店の間で行われる。これに代えて、決済などの処理が利用者と店舗との間で行われてもよい。
【0010】
[電子決済サービス]
図1は、電子決済サービスが実現される電子決済システムの構成の一例を示す図である。電子決済サービスは、決済サーバ100を中心として実現される。電子決済サービスを実現する電子決済システムは、例えば、一以上の利用者端末装置10、一以上の第1店舗端末装置50、一以上の第2店舗端末装置70、および決済サーバ100を備える。これらの装置は、例えばネットワークNWを介して通信する。ネットワークNWは、例えば、インターネット、LAN(Local Area Network)、無線基地局、プロバイダ装置、クレジットカードなどの決済システムのネットワークなどを含む。電子決済システムまたは決済サーバ100は「情報処理装置」の一例である。
(【0011】以降は省略されています)
この特許をJ-PlatPat(特許庁公式サイト)で参照する
関連特許
個人
詐欺保険
1か月前
個人
縁伊達ポイン
1か月前
個人
5掛けポイント
1か月前
個人
RFタグシート
1か月前
個人
職業自動販売機
25日前
個人
地球保全システム
2か月前
個人
QRコードの彩色
2か月前
個人
ペルソナ認証方式
1か月前
個人
情報処理装置
1か月前
個人
自動調理装置
1か月前
個人
立体グラフの利用方法
4日前
個人
農作物用途分配システム
1か月前
個人
残土処理システム
2か月前
個人
インターネットの利用構造
1か月前
個人
タッチパネル操作指代替具
1か月前
NISSHA株式会社
入力装置
5日前
個人
サービス情報提供システム
27日前
個人
知的財産出願支援システム
2か月前
個人
携帯端末障害問合せシステム
1か月前
個人
学習用データ生成装置
6日前
個人
スケジュール調整プログラム
1か月前
個人
海外支援型農作物活用システム
2か月前
個人
食品レシピ生成システム
2か月前
株式会社キーエンス
受発注システム
2か月前
個人
エリアガイドナビAIシステム
1か月前
株式会社キーエンス
受発注システム
2か月前
株式会社キーエンス
受発注システム
2か月前
キヤノン株式会社
情報処理装置
19日前
キヤノン株式会社
情報処理装置
19日前
キヤノン株式会社
画像認識装置
19日前
トヨタ自動車株式会社
通知装置
1か月前
エッグス株式会社
情報処理装置
1か月前
キラル株式会社
顧客体験提供システム
7日前
キヤノン株式会社
印刷システム
1か月前
個人
音声・通知・再配達UX制御構造
2か月前
株式会社ケアコム
項目選択装置
1か月前
続きを見る
他の特許を見る