TOP
|
特許
|
意匠
|
商標
特許ウォッチ
Twitter
他の特許を見る
公開番号
2025177076
公報種別
公開特許公報(A)
公開日
2025-12-05
出願番号
2024083588
出願日
2024-05-22
発明の名称
電装品及び補強板
出願人
メクテック株式会社
代理人
弁理士法人秀和特許事務所
主分類
H05K
1/02 20060101AFI20251128BHJP(他に分類されない電気技術)
要約
【課題】補強板について、打ち抜き加工が不要で複雑な立体形状の形成を可能とする電装品及び補強板を提供する。
【解決手段】フレキシブルプリント配線板(FPC100)と、FPC100に貼り合わされる補強板(第1の補強板310と第2の補強板320)と、を備える電装品10であって、第1の補強板310と第2の補強板320は、リフロー半田付け工程に耐えられる耐熱性を有し、かつ熱可塑性樹脂からなる成形品により構成されることを特徴とする。
【選択図】図1
特許請求の範囲
【請求項1】
フレキシブルプリント配線板と、
前記フレキシブルプリント配線板に貼り合わされる補強板と、
を備える電装品であって、
前記補強板は、リフロー半田付け工程に耐えられる耐熱性を有し、かつ熱可塑性樹脂からなる成形品により構成されることを特徴とする電装品。
続きを表示(約 830 文字)
【請求項2】
前記補強板における前記フレキシブルプリント配線板に対する貼り合わせ面の算術平均粗さRaが5(μm)以上であることを特徴とする請求項1に記載の電装品。
【請求項3】
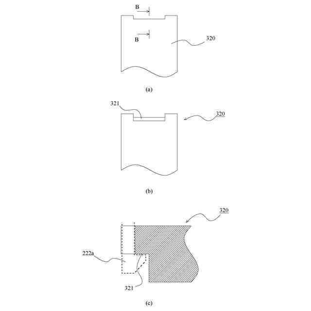
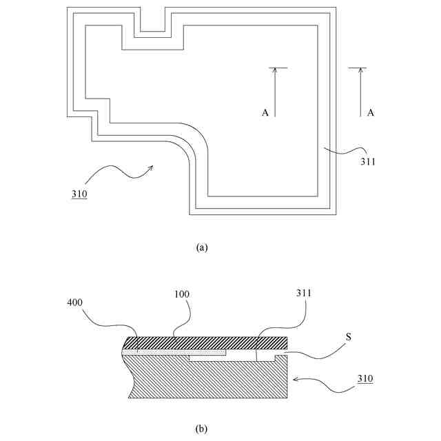
前記補強板における前記フレキシブルプリント配線板に対する貼り合わせ面には、前記補強板と前記フレキシブルプリント配線板とを貼り合わせるための熱硬化性接着剤が流動した際に、流動した前記熱硬化性接着剤を溜めることができる溝が設けられていることを特徴とする請求項1または2に記載の電装品。
【請求項4】
前記フレキシブルプリント配線板に取り付けられる取付部材を備えると共に、
前記補強板には厚み方向に段差が形成されることで構成される被係合部が設けられ、かつ前記取付部材には前記被係合部に係合する係合突起が設けられることを特徴とする請求項1または2に記載の電装品。
【請求項5】
フレキシブルプリント配線板に貼り合わされる補強板であって、
リフロー半田付け工程に耐える耐熱性を有し、かつ熱可塑性樹脂からなる成形品により構成されることを特徴とする補強板。
【請求項6】
前記フレキシブルプリント配線板に対する貼り合わせ面の算術平均粗さRaが5(μm)以上であることを特徴とする請求項5に記載の補強板。
【請求項7】
前記フレキシブルプリント配線板に対する貼り合わせ面には、前記フレキシブルプリント配線板に貼り合わせるための熱硬化性接着剤が流動した際に、流動した前記熱硬化性接着剤を溜めることができる溝が設けられていることを特徴とする請求項5または6に記載の補強板。
【請求項8】
厚み方向に段差が形成されることで構成され、かつ前記フレキシブルプリント配線板に取り付けられる取付部材に設けられた係合突起が係合する被係合部を備えることを特徴とする請求項5または6に記載の補強板。
発明の詳細な説明
【技術分野】
【0001】
本発明は、フレキシブルプリント配線板を備える電装品、及び補強板に関する。
続きを表示(約 1,200 文字)
【背景技術】
【0002】
フレキシブルプリント配線板(以下、「FPC」と称する)を備える電装品においては、FPCに対して、リフロー半田付けにより、各種電子部品やコネクタが取り付けられる技術が知られている。FPC自体は柔軟性が高いため、FPCにおける各種電子部品やコネクタが取り付けられる部位の裏面に、補強板が取り付けられるのが一般的である。補強板の材料としては、耐熱性に優れたガラスエポキシ材料が広く利用されている。
【0003】
ガラスエポキシ製の補強板においては、FPCに貼り合わせる前または後に、金型による打ち抜き加工によって所望の形状に製作されるのが一般的である。このように打ち抜き加工が行われる場合には、切削部分に大きなバリが生じてしまうことがあり、また、切削粉が生じるため電装品に悪影響が出てしまうことが懸念される。また、ガラスエポキシ製の補強板の場合には、厚み方向の加工が困難なため、複雑な立体形状の形成が困難であるといった欠点もある。
【先行技術文献】
【特許文献】
【0004】
特許第3895125号公報
【発明の概要】
【発明が解決しようとする課題】
【0005】
本発明の目的は、補強板について、打ち抜き加工が不要で複雑な立体形状の形成を可能とする電装品及び補強板を提供することにある。
【課題を解決するための手段】
【0006】
本発明は、上記課題を解決するために以下の手段を採用した。
【0007】
すなわち、本発明の電装品は、
フレキシブルプリント配線板と、
前記フレキシブルプリント配線板に貼り合わされる補強板と、
を備える電装品であって、
前記補強板は、リフロー半田付け工程に耐えられる耐熱性を有し、かつ熱可塑性樹脂からなる成形品により構成されることを特徴とする。
【0008】
また、本発明の補強板は、
フレキシブルプリント配線板に貼り合わされる補強板であって、
リフロー半田付け工程に耐える耐熱性を有し、かつ熱可塑性樹脂からなる成形品により構成されることを特徴とする。
【0009】
これらの発明によれば、補強板は、熱可塑性樹脂からなる成形品により構成されるので、打ち抜き加工が不要で、かつ複雑な立体形状とすることもできる。また、補強板は、リフロー半田付け工程に耐える耐熱性を有するので、フレキシブルプリント配線板に補強板を貼り付けた後に、各種電子部品やコネクタなどをリフロー半田付けにより取り付けても支障を来してしまうこともない。
【0010】
前記補強板における前記フレキシブルプリント配線板に対する貼り合わせ面の算術平均粗さRaが5(μm)以上であるとよい。
(【0011】以降は省略されています)
この特許をJ-PlatPat(特許庁公式サイト)で参照する
関連特許
個人
電子部品の実装方法
2か月前
愛知電機株式会社
装柱金具
2か月前
個人
電気式バーナー
1か月前
日本精機株式会社
回路基板
3か月前
個人
非衝突型ガウス加速器
3か月前
日星電気株式会社
面状ヒータ
24日前
キヤノン株式会社
電子機器
2か月前
アイホン株式会社
電気機器
2か月前
イビデン株式会社
配線基板
2か月前
日本放送協会
基板固定装置
2か月前
アイホン株式会社
電気機器
3か月前
メクテック株式会社
配線基板
3か月前
個人
静電気中和除去装置
1か月前
東レ株式会社
霧化状活性液体供給装置
3か月前
シャープ株式会社
加熱機器
1か月前
イビデン株式会社
プリント配線板
2か月前
株式会社デンソー
電子装置
10日前
株式会社デンソー
電子装置
1か月前
イビデン株式会社
配線基板
3か月前
サクサ株式会社
筐体の壁掛け構造
3か月前
株式会社デンソー
電子装置
2か月前
サクサ株式会社
開き角度規制構造
1か月前
株式会社レクザム
剥離装置
2か月前
イビデン株式会社
配線基板
3か月前
FDK株式会社
基板
2か月前
日産自動車株式会社
電子機器
18日前
新電元工業株式会社
電子装置
2か月前
オムロン株式会社
端子折り曲げ治具
2か月前
株式会社レゾナック
冷却装置
2か月前
日産自動車株式会社
電子部品
2か月前
日本精機株式会社
車両表示装置用回路基板
3日前
富士フイルム株式会社
積層体
2か月前
日本特殊陶業株式会社
配線基板
3か月前
富士電子工業株式会社
誘導加熱コイル
2か月前
日本無線株式会社
電子機器用密閉構造
3か月前
TDK株式会社
接合構造
10日前
続きを見る
他の特許を見る