TOP
|
特許
|
意匠
|
商標
特許ウォッチ
Twitter
他の特許を見る
10個以上の画像は省略されています。
公開番号
2025176527
公報種別
公開特許公報(A)
公開日
2025-12-04
出願番号
2024082743
出願日
2024-05-21
発明の名称
車両充電システム
出願人
中部電力株式会社
代理人
弁理士法人コスモス国際特許商標事務所
主分類
H02J
7/00 20060101AFI20251127BHJP(電力の発電,変換,配電)
要約
【課題】簡易な構成で、汎用的に用いることができる車両充電システムを提供すること。
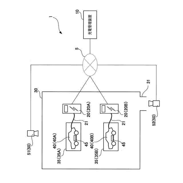
【解決手段】車両充電システム1の追跡部112は、車両識別情報画像、駐車完了画像、追跡画像を取得する。また、車両識別情報画像に基づいて車両40の車両識別情報を取得する車両識別情報取得処理を行う。さらに、駐車完了画像に基づいて車両40が駐車された駐車区画35の区画識別情報を取得する区画識別情報取得処理を行う。加えて、取得した各画像のそれぞれの車両40を時系列に沿って同定することで、車両40を追跡する追跡処理を行い、車両識別情報および区画識別情報を、車両40の追跡結果に基づいて関連付ける関連付け処理を行う。そして、車両充電システム1の充電制御部111は、車両識別情報に基づいて、当該車両識別情報と関連付けられた区画識別情報に対応する充電装置20による充電を制御する。
【選択図】図1
特許請求の範囲
【請求項1】
駐車場の駐車区画に駐車された車両のバッテリーを充電可能な充電部と、
前記充電部による車両の充電を制御可能な充電制御部と、
前記駐車区画を含む画像を撮影可能なカメラと、
前記カメラの撮影画像に基づいて車両を追跡可能な追跡部と、を備え、
前記追跡部は、
前記駐車区画に車両が駐車される前に撮影され、車両ごとの識別情報が含まれる車両識別情報画像と、
前記車両識別情報画像の後に撮影され、前記駐車区画に駐車された車両が含まれる駐車完了画像と、
前記車両識別情報画像よりも後であって前記駐車完了画像の前に撮影され、車両が含まれる追跡画像と、を取得し、
前記車両識別情報画像に基づいて、車両の識別情報に応じた車両識別情報を取得する車両識別情報取得処理と、
前記駐車完了画像に基づいて、車両が駐車された前記駐車区画に応じた識別情報である区画識別情報を取得する区画識別情報取得処理と、
前記車両識別情報画像、前記追跡画像、前記駐車完了画像のそれぞれに含まれる車両を、時系列に沿って同定することで、車両を追跡する追跡処理と、
前記車両識別情報および前記区画識別情報を、前記追跡処理によって前記車両識別情報画像から前記駐車完了画像まで追跡した結果に基づいて関連付ける関連付け処理と、を行い、
前記充電制御部は、
前記車両識別情報に基づいて、当該車両識別情報と関連付けられた前記区画識別情報が示す前記駐車区画に駐車された車両についての前記充電部による充電を制御可能である車両充電システム。
続きを表示(約 410 文字)
【請求項2】
請求項1に記載の車両充電システムであって、
前記駐車場には、駐車された車両への前記充電部による充電が可能な前記駐車区画が複数、設けられている車両充電システム。
【請求項3】
請求項1または請求項2に記載の車両充電システムであって、
前記カメラとして、
前記車両識別情報画像を撮影可能な車両識別カメラと、
前記駐車完了画像を撮影可能な駐車完了カメラと、を有する車両充電システム。
【請求項4】
請求項3に記載の車両充電システムであって、
前記車両識別カメラは、前記駐車場の外から内へ進入する車両の経路を撮影範囲に含むものである車両充電システム。
【請求項5】
請求項3に記載の車両充電システムであって、
前記追跡部は、
前記追跡画像として、前記駐車完了カメラの撮影画像を用いる車両充電システム。
発明の詳細な説明
【技術分野】
【0001】
本開示技術は、駐車場の駐車区画に駐車された車両のバッテリーをそれぞれ充電可能な充電部を備えた車両充電システムに関する。
続きを表示(約 2,000 文字)
【背景技術】
【0002】
従来より、バッテリーを搭載した車両について充電可能なシステムがある。例えば、特許文献1には、複数の車両を、駐車場内における複数の駐車区画のうち、一部に設けられている充電用の駐車区画へと入れ替えつつ、充電に係る全体の消費電力が許容電力以下に抑制されるように管理するシステムが記載されている。
【先行技術文献】
【特許文献】
【0003】
国際公開第2021/261073号
【発明の概要】
【発明が解決しようとする課題】
【0004】
上記のシステムでは、駐車区画の充電装置が車両の情報を認識できず、車両の情報を、車両とその充電を管理する管理装置との間で通信を行うことで送受信している。このため、充電対象である車両には、管理装置との通信が可能な通信機器を搭載しなければならない。すなわち、前記した従来技術のようなシステムでは、構成が複雑であり、汎用的に用いることも困難であるという問題があった。
【0005】
本開示技術の課題とするところは、簡易な構成で、汎用的に用いることができる車両充電システムを提供することを目的とする。
【課題を解決するための手段】
【0006】
本開示技術の一態様は、駐車場の駐車区画に駐車された車両のバッテリーを充電可能な充電部と、充電部による車両の充電を制御可能な充電制御部と、
駐車区画を含む画像を撮影可能なカメラと、カメラの撮影画像に基づいて車両を追跡可能な追跡部と、を備え、追跡部は、駐車区画に車両が駐車される前に撮影され、車両ごとの識別情報が含まれる車両識別情報画像と、車両識別情報画像の後に撮影され、駐車区画に駐車された車両が含まれる駐車完了画像と、車両識別情報画像よりも後であって駐車完了画像の前に撮影され、車両が含まれる追跡画像と、を取得し、車両識別情報画像に基づいて、車両の識別情報に応じた車両識別情報を取得する車両識別情報取得処理と、駐車完了画像に基づいて、車両が駐車された駐車区画に応じた識別情報である区画識別情報を取得する区画識別情報取得処理と、車両識別情報画像、追跡画像、駐車完了画像のそれぞれに含まれる車両を、時系列に沿って同定することで、車両を追跡する追跡処理と、車両識別情報および区画識別情報を、追跡処理によって車両識別情報画像から駐車完了画像まで追跡した結果に基づいて関連付ける関連付け処理と、を行い、充電制御部は、車両識別情報に基づいて、当該車両識別情報と関連付けられた区画識別情報が示す駐車区画に駐車された車両についての充電部による充電を制御可能である車両充電システムである。
【0007】
この車両充電システムでは、充電部により充電する車両を特定するための、他の特段の情報や機器等は不要である。よって、この車両充電システムは、簡易な構成であり、汎用的に用いることができる。
【発明の効果】
【0008】
本開示技術によれば、簡易な構成で、汎用的に用いることができる車両充電システムが提供されている。
【図面の簡単な説明】
【0009】
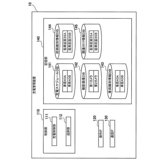
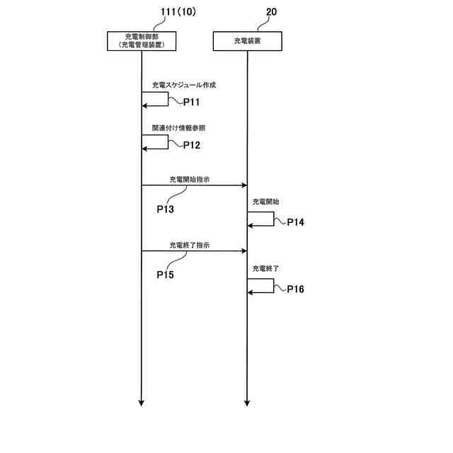
実施の形態に係る車両充電システムの全体構成を示す図である。
実施の形態に係る車両充電システムの充電管理装置の構成を示す図である。
実施の形態に係る車両充電システムにおける車両の充電時の概要を示す図である。
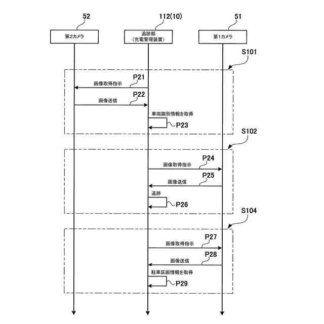
実施の形態に係る車両充電システムにおける駐車区画特定処理のフローチャートである。
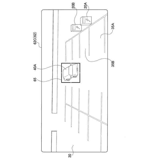
実施の形態に係る車両充電システムにおける駐車区画特定処理の概要を示す図である。
実施の形態に係る車両識別情報画像の例を示す図である。
実施の形態に係る追跡画像の例を示す図である。
実施の形態に係る図7よりも後の追跡画像の例を示す図である。
実施の形態に係る図8よりも後の追跡画像の例を示す図である。
実施の形態に係る図9よりも後の追跡画像の例、および、駐車完了画像の例を示す図である。
【発明を実施するための形態】
【0010】
以下、本開示技術を具体化した実施の形態について、添付図面を参照しつつ詳細に説明する。図1に、本形態に係る車両充電システム1を示す。車両充電システム1は、車両40に搭載されたバッテリー45を充電する充電機能を有する。バッテリー45は、車両40の動力源である。バッテリー45は、車両40が走行等によって使用されることに応じて、車両40の各部に電力を供給する。このため、バッテリー45の残電池容量は、車両40が使用されることに応じて減少する。
(【0011】以降は省略されています)
この特許をJ-PlatPat(特許庁公式サイト)で参照する
関連特許
中部電力株式会社
車両充電システム
今日
中部電力株式会社
バッテリー交換料金決定システム
7日前
中部電力株式会社
車両充電システムおよび車両充電方法
27日前
国立大学法人東海国立大学機構
気体分離装置
14日前
中部電力ミライズ株式会社
車両充電システム
1か月前
中部電力株式会社
鳥類の飛来を抑制する抑制具、鳥類の飛来を抑制する方法
27日前
中部電力ミライズ株式会社
状態判定装置および状態判定プログラム
1か月前
株式会社センシンロボティクス
情報処理方法、情報処理システム及びプログラム
1か月前
株式会社センシンロボティクス
情報処理システム、情報処理方法及びプログラム
1か月前
株式会社センシンロボティクス
情報処理システム、情報処理方法及びプログラム
1か月前
個人
単極モータ
1か月前
個人
高圧電気機器の開閉器
15日前
個人
電気を重力で発電装置
28日前
キヤノン電子株式会社
モータ
27日前
キヤノン電子株式会社
モータ
1か月前
株式会社アイシン
ロータ
1か月前
株式会社アイシン
ロータ
1か月前
日星電気株式会社
ケーブル組立体
1か月前
コーセル株式会社
電源装置
1か月前
トヨタ自動車株式会社
モータ
27日前
株式会社アイドゥス企画
減反モータ
15日前
株式会社デンソー
回転機
1か月前
株式会社デンソー
端子台
8日前
個人
二次電池繰返パルス放電器用印刷基板
1か月前
株式会社kaisei
発電システム
1か月前
株式会社ミツバ
回転電機
1か月前
本田技研工業株式会社
回転電機
1日前
ローム株式会社
半導体集積回路
6日前
株式会社デンソー
電力変換装置
1か月前
株式会社デンソー
電力変換装置
1か月前
株式会社TMEIC
制御装置
7日前
矢崎総業株式会社
電源回路
14日前
株式会社日立製作所
回転電機
6日前
株式会社ダイヘン
インバータ装置
1か月前
トヨタ自動車株式会社
固定子の加熱装置
1か月前
矢崎総業株式会社
給電装置
7日前
続きを見る
他の特許を見る