TOP
|
特許
|
意匠
|
商標
特許ウォッチ
Twitter
他の特許を見る
公開番号
2025176464
公報種別
公開特許公報(A)
公開日
2025-12-04
出願番号
2024082640
出願日
2024-05-21
発明の名称
シール部材、コネクタ、およびワイヤハーネス
出願人
矢崎総業株式会社
代理人
弁理士法人虎ノ門知的財産事務所
主分類
H02G
3/22 20060101AFI20251127BHJP(電力の発電,変換,配電)
要約
【課題】複数の配索材に対する止水性を向上することができるシール部材、コネクタ、およびワイヤハーネスを提供することを目的とする。
【解決手段】シール部材30は、複数の配索材Wのそれぞれが軸線方向Xに沿って挿入される複数の挿入孔32が設けられ、当該複数の挿入孔32に挿入された複数の配索材Wの外周面をシールする本体部31と、本体部31における複数の挿入孔32の回りを個別に取り囲むように設けられ、当該複数の挿入孔32のそれぞれの周囲を保持する保持部34と、を含んで構成され、本体部31は、保持部34より相対的に高い弾性を有し、保持部34は、本体部31より相対的に高い剛性を有する。
【選択図】図4
特許請求の範囲
【請求項1】
複数の配索材のそれぞれが軸線方向に沿って挿入される複数の挿入孔が設けられ、当該複数の挿入孔に挿入された前記複数の配索材の外周面をシールする本体部と、
前記本体部における前記複数の挿入孔の回りを個別に取り囲むように設けられ、当該複数の挿入孔のそれぞれの周囲を保持する保持部と、を含んで構成され、
前記本体部は、前記保持部より相対的に高い弾性を有し、
前記保持部は、前記本体部より相対的に高い剛性を有する、
シール部材。
続きを表示(約 1,200 文字)
【請求項2】
前記本体部は、前記軸線方向に沿って延在し、それぞれの内部に一つの前記挿入孔が設けられた複数の筒部を有し、
前記保持部は、前記複数の筒部のそれぞれの周囲を保持する、
請求項1に記載のシール部材。
【請求項3】
前記複数の筒部は、前記複数の配索材のうち第1配索材が内部に挿入される第1筒部と、前記複数の配索材のうち前記第1配索材より小径の第2配索材が内部に挿入される第2筒部と、を含んで構成され、
前記保持部には、前記第1筒部が前記軸線方向に沿って挿通される第1挿通孔と、前記第2筒部が前記軸線方向に沿って挿通される第2挿通孔と、を含む複数の挿通孔が設けられ、当該複数の挿通孔によって前記第1筒部の周囲および前記第2筒部の周囲を一体に保持する、
請求項2に記載のシール部材。
【請求項4】
前記本体部は、当該本体部の外周面から径方向外方に向けて突出し、当該本体部の外周側に設けられる部材の内周面との間をシールする外周リップ部を有する、
請求項1または2に記載のシール部材。
【請求項5】
複数の配索材のそれぞれの端末に設けられた端子を保持するハウジングと、
前記複数の配索材のそれぞれの周囲をシールするシール部材と、を備え、
前記シール部材は、
前記複数の配索材のそれぞれが軸線方向に沿って挿入される複数の挿入孔が設けられ、当該複数の挿入孔に挿入された前記複数の配索材の外周面をシールする本体部と、
前記本体部における前記複数の挿入孔の回りを個別に取り囲むように設けられ、当該複数の挿入孔のそれぞれの周囲を保持する保持部と、を含んで構成され、
前記本体部は、前記保持部より相対的に高い弾性を有し、
前記保持部は、前記本体部より相対的に高い剛性を有する、
コネクタ。
【請求項6】
導電性を有する複数の配索材と、
前記複数の配索材の端末に設けられるコネクタと、を備え、
前記コネクタは、
前記複数の配索材のそれぞれの端末に設けられた端子を保持するハウジングと、
前記複数の配索材のそれぞれの周囲をシールするシール部材と、を有し、
前記シール部材は、
前記複数の配索材のそれぞれが軸線方向に沿って挿入される複数の挿入孔が設けられ、当該複数の挿入孔に挿入された前記複数の配索材の外周面をシールする本体部と、
前記本体部における前記複数の挿入孔の回りを個別に取り囲むように設けられ、当該複数の挿入孔のそれぞれの周囲を保持する保持部と、を含んで構成され、
前記本体部は、前記保持部より相対的に高い弾性を有し、
前記保持部は、前記本体部より相対的に高い剛性を有する、
ワイヤハーネス。
発明の詳細な説明
【技術分野】
【0001】
本発明は、シール部材、コネクタ、およびワイヤハーネスに関する。
続きを表示(約 1,700 文字)
【背景技術】
【0002】
従来のコネクタのシール部材に関する技術として、例えば、特許文献1には、配索材が軸線方向に沿って挿入される挿入孔が設けられた本体部と、本体部における挿入孔の周囲を保持する保持部と、を含んで構成されたシール部材が開示されている。
【先行技術文献】
【特許文献】
【0003】
特開2022-190971号公報
【発明の概要】
【発明が解決しようとする課題】
【0004】
ところで、上述した特許文献1に記載のシール部材では、例えば、複数の配索材に対する止水性向上の点で更なる改善の余地があった。
【0005】
本発明は、上記の事情に鑑みてなされたものであって、複数の配索材に対する止水性を向上することができるシール部材、コネクタ、およびワイヤハーネスを提供することを目的とする。
【課題を解決するための手段】
【0006】
上記目的を達成するために、本発明に係るシール部材は、複数の配索材のそれぞれが軸線方向に沿って挿入される複数の挿入孔が設けられ、当該複数の挿入孔に挿入された前記複数の配索材の外周面をシールする本体部と、前記本体部における前記複数の挿入孔の回りを個別に取り囲むように設けられ、当該複数の挿入孔のそれぞれの周囲を保持する保持部と、を含んで構成され、前記本体部は、前記保持部より相対的に高い弾性を有し、前記保持部は、前記本体部より相対的に高い剛性を有する。
【発明の効果】
【0007】
本発明に係るシール部材、コネクタ、およびワイヤハーネスでは、例えば、本体部における複数の挿入孔のそれぞれに配索材が挿入(圧入)された場合に、保持部によって複数の挿入孔のそれぞれの周囲を全周に渡って略均一に圧縮させることができる。この結果、シール部材、コネクタ、およびワイヤハーネスは、複数の配索材に対する止水性を向上することができる、という効果を奏する。
【図面の簡単な説明】
【0008】
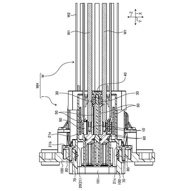
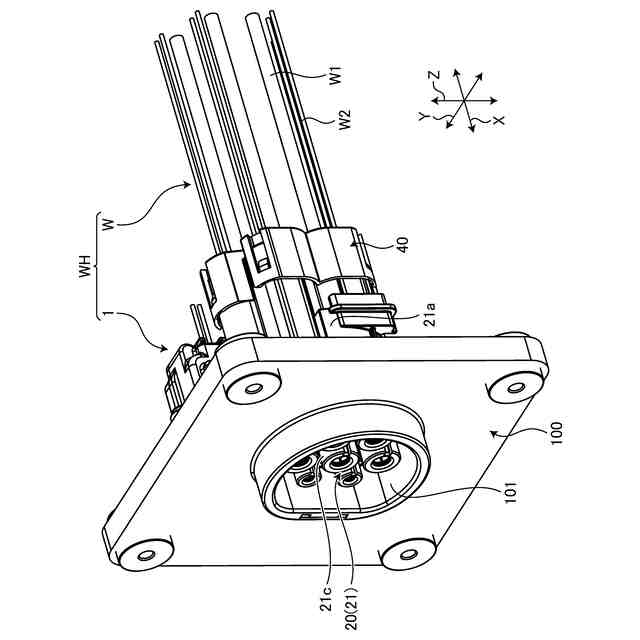
図1は、実施形態に係るワイヤハーネスに適用されるコネクタの例示的な斜視図である。
図2は、実施形態に係るコネクタの例示的な分解斜視図である。
図3は、実施形態に係るコネクタの例示的な断面図である。
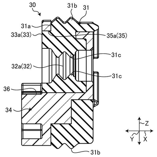
図4は、実施形態に係るコネクタの複数の配索材およびシール部材の例示的な斜視図である。
図5は、実施形態に係るシール部材の例示的な正面図である。
図6は、実施形態に係るシール部材の第1筒部の例示的な断面図である。
図7は、実施形態に係るシール部材の第2筒部の例示的な断面図である。
【発明を実施するための形態】
【0009】
以下、本発明に係る実施形態を図面に基づいて詳細に説明する。なお、下記実施形態によりこの発明が限定されるものではない。また、下記実施形態における構成要素には、当業者が置換可能かつ容易なもの、あるいは実質的に同一のものが含まれる。なお、本明細書では、序数は、部品や、部材、部位、位置、方向等を区別するためだけに用いられており、順番や優先度を示すものではない。
【0010】
[実施形態]
図1は、実施形態に係るワイヤハーネスWHに適用されるコネクタ1の斜視図である。図1に示される本実施形態のコネクタ1は、自動車等の車両に配索されるワイヤハーネスWHに組み込まれるものである。ここで、ワイヤハーネスWHは、例えば、車両に搭載される各装置間の接続のために、電源供給や信号通信に用いられる複数の配索材Wを束にして集合部品とし、コネクタ1等で当該複数の配索材Wを各装置に接続するようにしたものである。本実施形態のワイヤハーネスWHは、例えば、導電性を有する複数の配索材Wと、複数の配索材Wの端末に設けられ、取付対象物100に取り付けられるコネクタ1と、を備えている。なお、ワイヤハーネスWHは、この他、さらに、プロテクタや、グロメット等を含んで構成されてもよい。
(【0011】以降は省略されています)
この特許をJ-PlatPat(特許庁公式サイト)で参照する
関連特許
矢崎総業株式会社
端子
6日前
矢崎総業株式会社
端子
1か月前
矢崎総業株式会社
端子台
1日前
矢崎総業株式会社
箱状体
1か月前
矢崎総業株式会社
箱状体
1か月前
矢崎総業株式会社
端子台
1日前
矢崎総業株式会社
端子台
1日前
矢崎総業株式会社
端子台
1日前
矢崎総業株式会社
箱状体
1か月前
矢崎総業株式会社
箱状体
1か月前
矢崎総業株式会社
照明灯
2か月前
矢崎総業株式会社
箱状体
1か月前
矢崎総業株式会社
コネクタ
2か月前
矢崎総業株式会社
接続構造
1か月前
矢崎総業株式会社
照明装置
1か月前
矢崎総業株式会社
コネクタ
7日前
矢崎総業株式会社
照明装置
1か月前
矢崎総業株式会社
照明装置
1か月前
矢崎総業株式会社
コネクタ
2か月前
矢崎総業株式会社
コネクタ
2か月前
矢崎総業株式会社
コネクタ
2か月前
矢崎総業株式会社
コネクタ
14日前
矢崎総業株式会社
コネクタ
2か月前
矢崎総業株式会社
電源回路
14日前
矢崎総業株式会社
コネクタ
14日前
矢崎総業株式会社
コネクタ
2か月前
矢崎総業株式会社
コネクタ
2か月前
矢崎総業株式会社
コネクタ
2か月前
矢崎総業株式会社
コネクタ
15日前
矢崎総業株式会社
コネクタ
2か月前
矢崎総業株式会社
コネクタ
29日前
矢崎総業株式会社
コネクタ
2か月前
矢崎総業株式会社
照明装置
1か月前
矢崎総業株式会社
止水部材
2か月前
矢崎総業株式会社
報知装置
1か月前
矢崎総業株式会社
給電装置
7日前
続きを見る
他の特許を見る