TOP
|
特許
|
意匠
|
商標
特許ウォッチ
Twitter
他の特許を見る
10個以上の画像は省略されています。
公開番号
2025176165
公報種別
公開特許公報(A)
公開日
2025-12-03
出願番号
2025154086,2024034658
出願日
2025-09-17,2018-02-14
発明の名称
記録装置
出願人
キヤノン株式会社
代理人
弁理士法人谷・阿部特許事務所
主分類
B41J
2/165 20060101AFI20251126BHJP(印刷;線画機;タイプライター;スタンプ)
要約
【課題】記録ヘッドの移動を、より簡易な構成で短時間に実行することが可能な記録装置を提供する。
【解決手段】
記録装置1は、液体を吐出する複数の吐出口が設けられた吐出口面8aを有する記録ヘッド8と、記録動作を行う記録位置と、記録動作を行わない待機位置と、の間で、回転軸の周りに記録ヘッド8を回転させながら移動させる移動部と、を備える。移動部は、記録ヘッド8をガイドする固定された第1ガイド部材501と、第1ガイド部材と異なり記録ヘッド8をガイドする第2ガイド部材502と、を有する。吐出口面8aは、記録ヘッド8が記録位置に位置する場合よりも待機位置に位置する場合のほうが水平に近い。
【選択図】図10
特許請求の範囲
【請求項1】
液体を吐出する複数の吐出口が記録媒体の幅に対応する領域に第1の方向に配列されたフルラインタイプの記録ヘッドの吐出口面をワイピング可能なワイピング位置と、前記吐出口面から退避したワイピング退避位置と、に移動可能であり、バキュームワイパを有するワイパユニットと、
前記吐出口面をキャッピング可能なキャッピング位置と、前記吐出口面から退避したキャッピング退避位置と、に移動可能なキャップと、
前記ワイパユニットは、前記バキュームワイパを前記第1の方向に移動させながら、前記吐出口面の吸引とワイピングを行う、
ことを特徴とする記録装置。
続きを表示(約 1,000 文字)
【請求項2】
前記ワイパユニットは、ブレードワイパを有し、
前記ブレードワイパによって前記吐出口面をワイピングすることが可能なことを特徴とする請求項1に記載の記録装置。
【請求項3】
前記ブレードワイパにインクとは異なるウェット液を付与可能な付与部と、を備え、
前記ブレードワイパによるワイピングは、前記ブレードワイパに前記ウェット液が付与された状態で行われることを特徴とする請求項2に記載の記録装置。
【請求項4】
前記ワイパユニットが移動することにより前記付与部から前記ブレードワイパに前記ウェット液が付与されることを特徴とする請求項3に記載の記録装置。
【請求項5】
前記ウェット液は、前記ブレードワイパが前記吐出口面をワイピングする際に前記吐出口面に転写されることを特徴とする請求項3または4に記載の記録装置。
【請求項6】
前記ワイパユニットは、前記第1の方向に並んだ複数のブレードワイパを有し、
前記第1の方向と交差する方向に移動して前記ブレードワイパによる前記吐出口面のワイピングを行うことを特徴とする請求項2から5のいずれか1項に記載の記録装置。
【請求項7】
前記記録ヘッドの第1の色を吐出する複数の吐出口を払拭する際に、前記複数のブレードワイパによってワイピングを行うことを特徴とする請求項6に記載の記録装置。
【請求項8】
複数の前記ブレードワイパが一体的に、鉛直方向と前記第1の方向とに交差する方向に移動することを特徴とする請求項6または7に記載の記録装置。
【請求項9】
前記ブレードワイパによるワイピングを行い、前記バキュームワイパによるワイピングを行わない第1のワイピング処理と、
前記ブレードワイパによるワイピングと前記バキュームワイパによるワイピングを両方行う第2のワイピング処理と、を選択的に行うことが可能な請求項2から8のいずれか1項に記載の記録装置。
【請求項10】
前記ブレードワイパは、前記ワイピング退避位置から前記ワイピング位置へ移動する場合に水平方向に移動し、移動しながら前記吐出口面をワイピングし、
前記キャップは、前記キャッピング退避位置から前記キャッピング位置へ移動する場合に水平方向および鉛直方向に移動することを特徴とする請求項2から9のいずれか1項に記載の記録装置。
(【請求項11】以降は省略されています)
発明の詳細な説明
【技術分野】
【0001】
本発明は、インクを吐出して画像を記録する記録ヘッドを備える記録装置に関する。
続きを表示(約 1,900 文字)
【背景技術】
【0002】
特許文献1には、インクジェットヘッドを用いる記録装置において、記録動作時には水平方向にインクが吐出するように、維持(メンテナンス)動作時には鉛直下方にインクが吐出するように、記録ヘッドの向きと位置を変更する構成が開示されている。特許文献1によれば、記録動作のための位置から維持動作のための位置に記録ヘッドを移す際、まず記録ヘッドを記録媒体から離れる方向へ直線移動させた後、回転軸を中心に回転移動させている。
【先行技術文献】
【特許文献】
【0003】
特開2009-72925号公報
【発明の概要】
【発明が解決しようとする課題】
【0004】
しかしながら特許文献1によれば、記録ヘッドを直線移動させるための機構と記録ヘッドを回転移動させるための機構とが個別に用意され、これらを順番に作動させている。このため、記録ヘッドの移動に係る機構や制御が複雑になり、移動に係る時間も長くなってしまう。
【課題を解決するための手段】
【0005】
そのために本発明は、液体を吐出する複数の吐出口が記録媒体の幅に対応する領域に第1の方向に配列されたフルラインタイプの記録ヘッドの吐出口面をワイピング可能なワイピング位置と、前記吐出口面から退避したワイピング退避位置と、に移動可能であり、バキュームワイパを有するワイパユニットと、前記吐出口面をキャッピング可能なキャッピング位置と、前記吐出口面から退避したキャッピング退避位置と、に移動可能なキャップと、前記ワイパユニットは、前記バキュームワイパを前記第1の方向に移動させながら、前記吐出口面の吸引とワイピングを行う、ことを特徴とする。
【発明の効果】
【0006】
本発明によれば、ワイピングを実行することが可能となる。
【図面の簡単な説明】
【0007】
記録装置が待機状態にあるときの図である。
記録装置の制御構成図である。
記録装置が記録状態にあるときの図である。
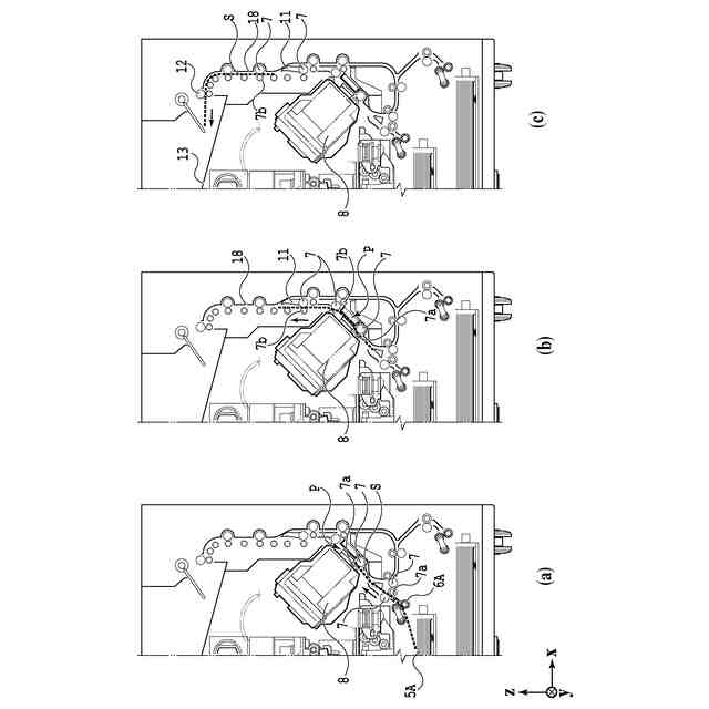
第1カセットから給送された記録媒体の搬送経路図である。
第2カセットから給送された記録媒体の搬送経路図である。
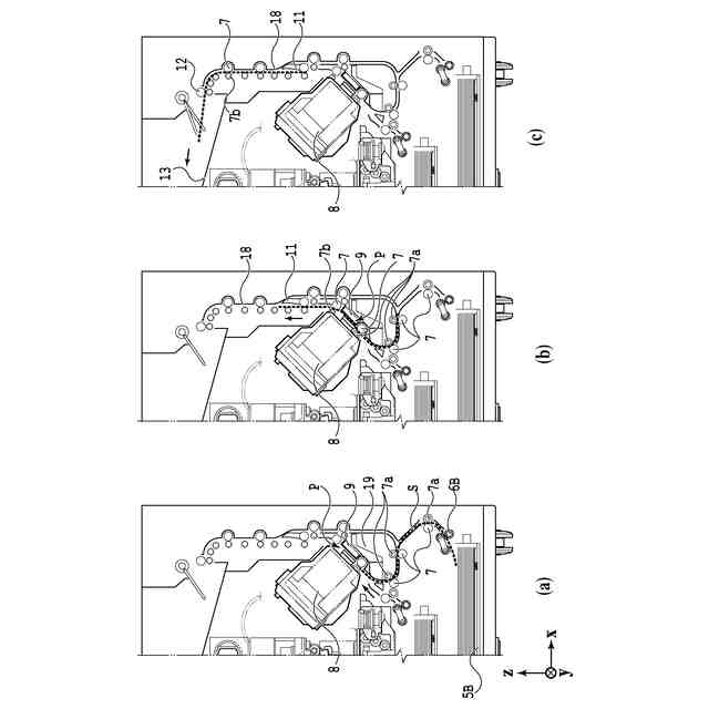
記録媒体の裏面に記録動作を行う場合の搬送経路図である。
記録装置がメンテナンス状態にあるときの図である。
メンテナンスユニットの構成を示す斜視図である。
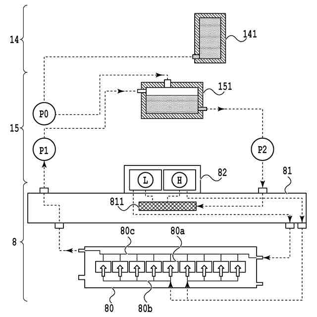
循環型インク供給システムを示す図である。
記録ヘッドを移動させる機構を説明する図である。
記録ヘッドを移動させる機構を説明する図である。
【発明を実施するための形態】
【0008】
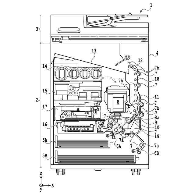
図1は、本実施形態で使用するインクジェット記録装置1(以下、記録装置1)の内部構成図である。図において、x方向は水平方向、y方向(紙面垂直方向)は後述する記録ヘッド8において吐出口が配列する方向、z方向は鉛直方向をそれぞれ示す。
【0009】
記録装置1は、プリント部2とスキャナ部3を備える複合機であり、記録動作と読取動作に関する様々な処理を、プリント部2とスキャナ部3で個別にあるいは連動して実行することができる。スキャナ部3は、ADF(オートドキュメントフィーダ)とFBS(フラットベッドスキャナ)を備えており、ADFで自動給紙される原稿の読み取りと、ユーザによってFBSの原稿台に置かれた原稿の読み取り(スキャン)を行うことができる。なお、本実施形態はプリント部2とスキャナ部3を併せ持った複合機であるが、スキャナ部3を備えない形態であってもよい。図1は、記録装置1が記録動作も読取動作も行っていない待機状態にあるときを示す。
【0010】
プリント部2において、筐体4の鉛直方向下方の底部には、記録媒体(カットシート)Sを収容するための第1カセット5Aと第2カセット5Bが着脱可能に設置されている。第1カセット5AにはA4サイズまでの比較的小さな記録媒体が、第2カセット5BにはA3サイズまでの比較的大きな記録媒体が、平積みに収容されている。第1カセット5A近傍には、収容されている記録媒体を1枚ずつ分離して給送するための第1給送ユニット6Aが設けられている。同様に、第2カセット5B近傍には、第2給送ユニット6Bが設けられている。記録動作が行われる際にはいずれか一方のカセットから選択的に記録媒体Sが給送される。
(【0011】以降は省略されています)
この特許をJ-PlatPat(特許庁公式サイト)で参照する
関連特許
キヤノン株式会社
容器
1か月前
キヤノン株式会社
容器
1か月前
キヤノン株式会社
トナー
2か月前
キヤノン株式会社
トナー
1か月前
キヤノン株式会社
トナー
2か月前
キヤノン株式会社
トナー
2か月前
キヤノン株式会社
トナー
1か月前
キヤノン株式会社
トナー
2か月前
キヤノン株式会社
撮像装置
10日前
キヤノン株式会社
表示装置
10日前
キヤノン株式会社
測距装置
1か月前
キヤノン株式会社
定着装置
2か月前
キヤノン株式会社
撮像装置
12日前
キヤノン株式会社
撮影装置
1か月前
キヤノン株式会社
定着装置
18日前
キヤノン株式会社
撮像装置
18日前
キヤノン株式会社
記録装置
1か月前
キヤノン株式会社
撮像装置
10日前
キヤノン株式会社
定着装置
18日前
キヤノン株式会社
表示装置
10日前
キヤノン株式会社
表示装置
10日前
キヤノン株式会社
発光装置
10日前
キヤノン株式会社
二次電池
5日前
キヤノン株式会社
撮像装置
2か月前
キヤノン株式会社
記録装置
4日前
キヤノン株式会社
記録装置
4日前
キヤノン株式会社
撮像装置
3日前
キヤノン株式会社
撮像装置
18日前
キヤノン株式会社
現像容器
1か月前
キヤノン株式会社
現像容器
1か月前
キヤノン株式会社
記録装置
1か月前
キヤノン株式会社
表示装置
1か月前
キヤノン株式会社
撮像装置
1か月前
キヤノン株式会社
記録装置
1か月前
キヤノン株式会社
撮像装置
1か月前
キヤノン株式会社
撮像装置
1か月前
続きを見る
他の特許を見る