TOP
|
特許
|
意匠
|
商標
特許ウォッチ
Twitter
他の特許を見る
10個以上の画像は省略されています。
公開番号
2025175810
公報種別
公開特許公報(A)
公開日
2025-12-03
出願番号
2024082085
出願日
2024-05-20
発明の名称
自動倉庫
出願人
株式会社都築産業
代理人
個人
,
個人
主分類
B65G
1/04 20060101AFI20251126BHJP(運搬;包装;貯蔵;薄板状または線条材料の取扱い)
要約
【課題】効率の良い物品の移動を可能とした自動倉庫を提供すること。
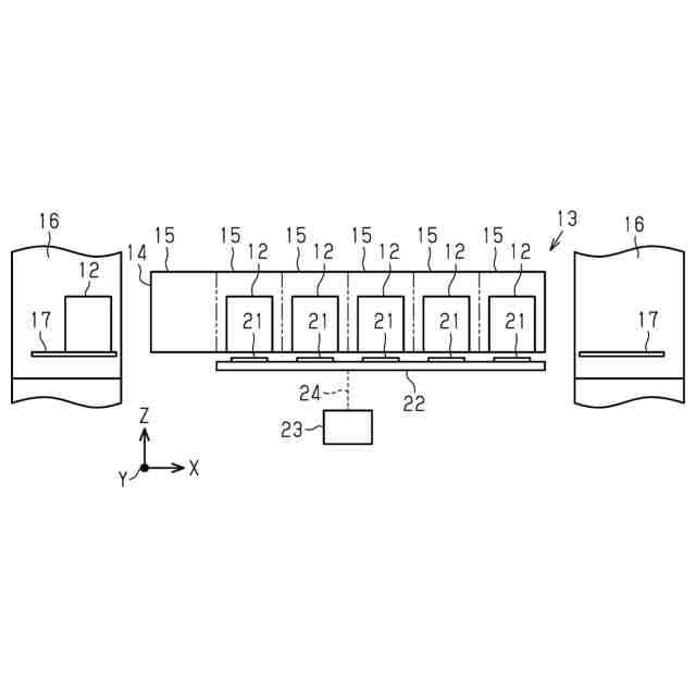
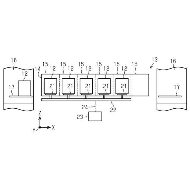
【解決手段】自動倉庫は、物品12の出し入れ方向に沿った列方向Xに3つ以上の物品収容部15が並設された列収容部14を含む棚13と、列方向Xに移動可能に構成され、物品収容部15に配置された物品12を列方向Xに搬送可能な搬送部材21とを備える。搬送部材21は、列方向Xに並設された物品収容部15の数よりも少ない数で、且つ2つ以上設けられる。
【選択図】図2
特許請求の範囲
【請求項1】
物品の出し入れ方向に沿った列方向に3つ以上の物品収容部が並設された列収容部を含む棚と、
前記列方向に移動可能に構成され、前記物品収容部に配置された前記物品を前記列方向に搬送可能な搬送部材と
を備えた自動倉庫であって、
前記搬送部材は、前記列方向に並設された前記物品収容部の数よりも少ない数で、且つ2つ以上設けられた自動倉庫。
続きを表示(約 340 文字)
【請求項2】
複数の前記搬送部材は、前記列方向に一体的に移動するように構成された請求項1に記載の自動倉庫。
【請求項3】
前記搬送部材は、前記物品を持ち上げた状態で前記列方向に移動することで前記物品を搬送するものであって、
複数の前記搬送部材は、それぞれ個別に前記物品を持ち上げ可能に構成された請求項2に記載の自動倉庫。
【請求項4】
前記搬送部材は、前記列方向に並設された前記物品収容部の数よりも1つ少ない数だけ設けられた請求項1に記載の自動倉庫。
【請求項5】
前記列収容部における前記列方向の両端の前記物品収容部は、それぞれ前記物品の出し入れが可能に構成された請求項1から請求項4のいずれか1項に記載の自動倉庫。
発明の詳細な説明
【技術分野】
【0001】
本開示は、自動倉庫に関するものである。
続きを表示(約 1,300 文字)
【背景技術】
【0002】
従来の自動倉庫としては、物品の出し入れ方向に沿った列方向に3つ以上の物品収容部が並設された棚と、列方向に移動可能に設けられ、物品収容部に配置された物品を列方向に搬送可能な搬送台車とを備えたものがある(例えば、特許文献1参照)。このような自動倉庫では、搬送台車によって物品を列方向に自在に移動させることができる。
【先行技術文献】
【特許文献】
【0003】
特開2017-160040号公報
【発明の概要】
【発明が解決しようとする課題】
【0004】
しかしながら、上記したような自動倉庫は、物品収容部の列に1台の搬送台車が配備されたものであって、例えば、列方向に並んだ複数の物品を同時に移動させるといったことができなかった。そのような場合では搬送台車が複数往復することになる等、搬送の効率が悪いという問題があった。
【0005】
本開示は、上記課題を解決するためになされたものであって、その目的は、効率の良い物品の移動を可能とした自動倉庫を提供することにある。
【課題を解決するための手段】
【0006】
本開示の自動倉庫は、物品の出し入れ方向に沿った列方向に3つ以上の物品収容部が並設された列収容部を含む棚と、前記列方向に移動可能に構成され、前記物品収容部に配置された前記物品を前記列方向に搬送可能な搬送部材とを備えた自動倉庫であって、前記搬送部材は、前記列方向に並設された前記物品収容部の数よりも少ない数で、且つ2つ以上設けられる。
【0007】
同構成によれば、搬送部材は、列方向に並設された物品収容部の数よりも少ない数で、且つ2つ以上設けられるため、例えば、列収容部に収納された2つ以上の物品を同時に列方向に搬送することが可能となる。よって、効率良く物品を移動させることが可能となる。
【発明の効果】
【0008】
本開示の自動倉庫によれば、効率の良い物品の移動が可能となる。
【図面の簡単な説明】
【0009】
一実施形態における自動倉庫の模式斜視図である。
一実施形態における自動倉庫の一部模式図である。
一実施形態における自動倉庫の動作を説明するための模式図である。
一実施形態における自動倉庫の動作を説明するための模式図である。
一実施形態における自動倉庫の動作を説明するための模式図である。
一実施形態における自動倉庫の動作を説明するための模式図である。
一実施形態における自動倉庫の動作を説明するための模式図である。
一実施形態における自動倉庫の動作を説明するための模式図である。
一実施形態における自動倉庫の動作を説明するための模式図である。
【発明を実施するための形態】
【0010】
以下、自動倉庫の一実施形態を図1~図9に従って説明する。なお、以下の説明では、互いに直交する三方(図中、X,Y,Z)をそれぞれ、自動倉庫11の列方向X、行方向Y、高さ方向Zとして説明する。
(【0011】以降は省略されています)
この特許をJ-PlatPat(特許庁公式サイト)で参照する
関連特許
株式会社都築産業
自動倉庫
8日前
個人
収容箱
4か月前
個人
束ね具
1か月前
個人
コンベア
6か月前
個人
ゴミ収集器
8か月前
個人
段ボール箱
8か月前
個人
段ボール箱
8か月前
個人
容器
10か月前
個人
バンド
3か月前
個人
テープ引出機
1か月前
個人
楽ちんハンド
6か月前
個人
土嚢運搬器具
10か月前
個人
宅配システム
8か月前
個人
角筒状構造体
7か月前
個人
コード類収納具
9か月前
個人
閉塞装置
11か月前
個人
棒状体収容容器
1か月前
個人
お薬の締結装置
7か月前
個人
包装容器
2か月前
個人
廃棄物収容容器
4か月前
個人
ゴミ処理機
10か月前
株式会社バンダイ
物品
2か月前
個人
蓋閉止構造
5か月前
株式会社和気
包装用箱
10か月前
個人
蓋閉止構造
5か月前
個人
把手付米袋
6か月前
個人
積み重ね用補助具
4か月前
株式会社和気
包装用箱
1か月前
株式会社コロナ
梱包材
7か月前
個人
貯蔵サイロ
8か月前
三甲株式会社
蓋体
9か月前
個人
袋入り即席麺
8か月前
株式会社KY7
封止装置
4か月前
三甲株式会社
蓋体
11か月前
三甲株式会社
容器
7か月前
三甲株式会社
容器
3か月前
続きを見る
他の特許を見る