TOP
|
特許
|
意匠
|
商標
特許ウォッチ
Twitter
他の特許を見る
10個以上の画像は省略されています。
公開番号
2025174858
公報種別
公開特許公報(A)
公開日
2025-11-28
出願番号
2025037466
出願日
2025-03-10
発明の名称
移動体識別システム
出願人
株式会社ハイパーデジタルツイン
代理人
個人
,
個人
主分類
G01S
17/89 20200101AFI20251120BHJP(測定;試験)
要約
【課題】本発明は、実空間を移動する移動体を精度良く識別することができる移動体識別システムを提供することを目的とする。
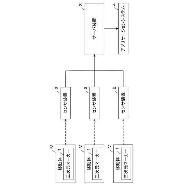
【解決手段】実空間に配置された三次元マーカー1と、実空間に配置された複数のセンサ装置2と、センサ装置2に通信可能な状態で接続されたサーバ装置3とを備える。三次元マーカー1は、実空間を移動する移動体Mの表面側において個別に配置された立体的な形状を有する標識である。センサ装置2は、三次元マーカー1を含む実空間における点群からなるイメージセンサデータを取得し、サーバ装置3に送信する。サーバ装置3は、各センサ装置2から送信されてきた実空間における点群からなるイメージセンサデータを集約したあと、実空間における三次元マーカー1を検出し、三次元マーカー1が配置された移動体Mを識別する。
【選択図】図1
特許請求の範囲
【請求項1】
実空間に配置された三次元マーカーと、実空間に配置された複数のセンサ装置と、前記センサ装置に通信可能な状態で接続されたサーバ装置とを備え、
前記三次元マーカーは、実空間を移動する移動体の表面側において個別に配置された立体的な形状を有する標識であって、
前記センサ装置は、
前記三次元マーカーを含む実空間における点群からなるイメージセンサデータを取得するセンサ部と、
前記センサ部により取得された実空間における点群からなるイメージセンサデータを前記サーバ装置に送信するセンサ側送信部とを備え、
前記サーバ装置は、
前記各センサ装置から送信されてきた実空間における点群からなるイメージセンサデータを受信するサーバ側受信部と、
前記サーバ側受信部により受信された実空間における点群からなるイメージセンサデータを集約する集約部と、
前記集約部により集約された実空間における点群からなるイメージセンサデータに基いて前記三次元マーカーを検出する検出部と、
前記検出部による前記三次元マーカーの検出結果に基いて、前記三次元マーカーが配置された移動体を識別する識別部とを備えることを特徴とする移動体識別システム。
続きを表示(約 1,000 文字)
【請求項2】
前記三次元マーカーは、所定の方向の立体的形状によって位置および/又は向きが検出されるマーカー部を有する請求項1に記載の移動体識別システム。
【請求項3】
前記マーカー部は、周方向に沿って一ないし複数の突出部が形成された立体的な形状から構成される請求項2に記載の移動体識別システム。
【請求項4】
前記三次元マーカーは、所定の方向の立体的な形状によって所定の識別情報が付与されるコード部を有する請求項1に記載の移動体識別システム。
【請求項5】
前記コード部は、軸方向に沿って複数の突出部が形成された立体的な形状によって構成される請求項4に記載の移動体識別システム。
【請求項6】
前記センサ部は、実空間の静的物体に配置され、実空間における点群からなるイメージセンサデータを取得する際、実空間を移動する移動体に配置された前記三次元マーカーの点群からなるイメージセンサデータを取得する請求項1から請求項5のいずれかに記載の移動体識別システム。
【請求項7】
前記センサ部は、実空間を移動する一の動的物体に配置され、実空間における点群からなるイメージセンサデータを取得する際、実空間を移動する他の移動体に配置された前記三次元マーカーの点群からなるイメージセンサデータを取得する請求項1から請求項5のいずれかに記載の移動体識別システム。
【請求項8】
前記集約部は、前記検出部による前記三次元マーカーの検出結果に基いて、各センサ部により取得された実空間における点群からなるイメージセンサデータの各空間座標軸の位置合わせを行う求項1から請求項5のいずれかに記載の移動体識別システム。
【請求項9】
前記検出部は、実空間に配置されている前記三次元マーカーの立体的形状を機械学習した機械学習モデルを用いることによって、前記集約部により集約された実空間における点群からなるイメージセンサデータに基いて、実空間に配置されている前記三次元マーカーを検出する請求項1から請求項5のいずれかに記載の移動体識別システム。
【請求項10】
前記サーバ装置は、アプリケーションシステムが通信可能な状態で接続され、
前記識別部により識別された移動体に関する情報を前記アプリケーションシステムに送信するサーバ側送信部を備える請求項1から請求項5のいずれかに記載の移動体識別システム。
発明の詳細な説明
【技術分野】
【0001】
本発明は、三次元マーカーを用いて実空間を移動する移動体を識別する移動体識別システムに関するものである。
続きを表示(約 1,700 文字)
【背景技術】
【0002】
近年、急速な都市化に向けた世界的な傾向として、自動車、マイクロモビリティ、搬送ロボットなどの各移動体の自動運転の市場の大幅な成長が予測されており、実空間に配置された複数のLiDARからなるセンサを備えたセンサネットワークを活用して、移動体を追跡する研究が行われている(例えば、非特許文献1、2参照)
【0003】
ところが、従来の研究では、実空間に配置された複数のLiDARからなるセンサを備えたセンサネットワークを活用して、移動体を追跡することが十分に行われていないのが現状であり、依然として様々な問題があった。例えば、複数の移動体が互いに接近すると、移動体の検出結果が入れ替わることがある。また、同種の移動体はLiDARの点群では形状が同じであるため区別することができない。また、移動体を検知できたとしても、せいぜい移動体の瞬間の位置がわかるだけであり、移動体の一台一台を識別できないと移動体の軌道を追従して予測を行うことは困難である。また、カメラであれば同種の車両でも色が異なれば個体識別することができるが、色が同じ同種の車両ではカメラによっても個体識別することができない。
【先行技術文献】
【非特許文献】
【0004】
K. Akiyama et al., “Edge computing system with multi-lidar sensor network for robustness of autonomous personal-mobility,” pp. 290-295, 2022.
T. Kudo et al., “Edge system with multi-lidar sensor network for tracking micro-mobility vehicles,” pp. 983-984, 2023.
【発明の概要】
【発明が解決しようとする課題】
【0005】
本発明は、上述の問題に鑑みてなされたものであり、実空間を移動する移動体を精度良く識別することができる移動体識別システムを提供することを目的とする。
【課題を解決するための手段】
【0006】
本発明は、上記目的を達成するために、実空間に配置された三次元マーカーと、実空間に配置された複数のセンサ装置と、前記センサ装置に通信可能な状態で接続されたサーバ装置とを備え、前記三次元マーカーは、実空間を移動する移動体の表面側において個別に配置された立体的な形状を有する標識であって、前記センサ装置は、前記三次元マーカーを含む実空間における点群からなるイメージセンサデータを取得するセンサ部と、前記センサ部により取得された実空間における点群からなるイメージセンサデータを前記サーバ装置に送信するセンサ側送信部とを備え、前記サーバ装置は、前記各センサ装置から送信されてきた実空間における点群からなるイメージセンサデータを受信するサーバ側受信部と、前記サーバ側受信部により受信された実空間における点群からなるイメージセンサデータを集約する集約部と、前記集約部により集約された実空間における点群からなるイメージセンサデータに基いて前記三次元マーカーを検出する検出部と、前記検出部による前記三次元マーカーの検出結果に基いて、前記三次元マーカーが配置された移動体を識別する識別部とを備えることを特徴とする。
【0007】
また、前記三次元マーカーは、所定の方向の立体的形状によって位置および/又は向きが検出されるマーカー部を有してもよい。
【0008】
また、前記マーカー部は、周方向に沿って一ないし複数の突出部が形成された立体的な形状から構成されてもよい。
【0009】
また、前記三次元マーカーは、所定の方向の立体的な形状によって所定の識別情報が付与されるコード部を有してもよい。
【0010】
また、前記コード部は、軸方向に沿って複数の突出部が形成された立体的な形状によって構成されてもよい。
(【0011】以降は省略されています)
この特許をJ-PlatPat(特許庁公式サイト)で参照する
関連特許
個人
視触覚センサ
4日前
日本精機株式会社
検出装置
1か月前
個人
採尿及び採便具
1か月前
個人
計量機能付き容器
29日前
株式会社ミツトヨ
測定器
1か月前
株式会社カクマル
境界杭
19日前
甲神電機株式会社
電流検出装置
1か月前
愛知電機株式会社
外観検査装置
今日
愛知電機株式会社
外観検査方法
今日
日本精機株式会社
発光表示装置
12日前
株式会社トプコン
測量装置
11日前
ユニパルス株式会社
トルク変換器
4日前
ユニパルス株式会社
トルク変換器
4日前
ユニパルス株式会社
トルク変換器
4日前
大成建設株式会社
風洞実験装置
29日前
愛知時計電機株式会社
ガスメータ
1か月前
個人
非接触による電磁パルスの測定方法
1か月前
日本特殊陶業株式会社
ガスセンサ
11日前
日本特殊陶業株式会社
ガスセンサ
27日前
日本特殊陶業株式会社
ガスセンサ
4日前
日本信号株式会社
距離画像センサ
1か月前
愛知電機株式会社
軸部材の外観検査装置
1か月前
日本特殊陶業株式会社
ガスセンサ
5日前
大和製衡株式会社
組合せ計量装置
1か月前
大和製衡株式会社
組合せ計量装置
1か月前
個人
計量具及び計量機能付き容器
29日前
双庸電子株式会社
誤配線検査装置
1か月前
日本特殊陶業株式会社
センサ
13日前
個人
液位検視及び品質監視システム
27日前
日東精工株式会社
振動波形検査装置
1か月前
日本特殊陶業株式会社
センサ
1か月前
株式会社タイガーカワシマ
揚穀装置
11日前
本陣水越株式会社
車載式計測標的物
6日前
株式会社不二越
X線測定装置
1か月前
日置電機株式会社
絶縁抵抗測定装置
4日前
キーコム株式会社
画像作成システム
19日前
続きを見る
他の特許を見る