TOP
|
特許
|
意匠
|
商標
特許ウォッチ
Twitter
他の特許を見る
公開番号
2025174837
公報種別
公開特許公報(A)
公開日
2025-11-28
出願番号
2025004600
出願日
2025-01-14
発明の名称
インクリメンタルなソフトウェア部品の試験およびリリースによるソフトウェア開発
出願人
トヨタ自動車株式会社
代理人
個人
,
個人
,
個人
,
個人
,
個人
,
個人
,
個人
主分類
G06F
8/65 20180101AFI20251120BHJP(計算;計数)
要約
【課題】ソフトウェア開発を提供する。
【解決手段】ソフトウェア開発は、ハードウェア通信仕様の更新を検出し、更新されたハードウェア通信仕様に基づいて、ソフトウェアシステム内の上流側ソフトウェア部品の新しいバージョンを構築し、上流側ソフトウェア部品の新しいバージョンを試験し、上流側ソフトウェア部品の新しいバージョンの試験が成功していることに応答して、ソフトウェアシステム内に上流側ソフトウェア部品の新しいバージョンをリリースし、上流側ソフトウェア部品の新しいバージョンに基づいて、下流側ソフトウェア部品の新しいバージョンを構築し、下流側ソフトウェア部品の新しいバージョンを試験し、下流側ソフトウェア部品の新しいバージョンの試験が成功していることに応答して、ソフトウェアシステム内に下流側ソフトウェア部品の新しいバージョンをリリースすることによって実行される。
【選択図】図1
特許請求の範囲
【請求項1】
ハードウェア通信仕様の更新を検出することと、
更新された前記ハードウェア通信仕様に基づいて、ソフトウェアシステム内の上流側ソフトウェア部品の新しいバージョンを構築することと、
前記上流側ソフトウェア部品の前記新しいバージョンを試験することと、
前記上流側ソフトウェア部品の前記新しいバージョンの前記試験が成功していることに応答して、
前記ソフトウェアシステム内に前記上流側ソフトウェア部品の前記新しいバージョンをリリースすることと、
前記上流側ソフトウェア部品の前記新しいバージョンに基づいて、下流側ソフトウェア部品の新しいバージョンを構築することと、
前記下流側ソフトウェア部品の前記新しいバージョンを試験することと、
前記下流側ソフトウェア部品の前記新しいバージョンの前記試験が成功していることに応答して、
前記ソフトウェアシステム内に前記下流側ソフトウェア部品の前記新しいバージョンをリリースすること、
を含む動作の実行を、1つ又は複数のプロセッサによる実行に応答して引き起こす命令を有するコンピュータプログラム。
続きを表示(約 990 文字)
【請求項2】
前記動作は、前記下流側ソフトウェア部品の前記新しいバージョンの前記試験が成功しなかったことに応答して、前記下流側ソフトウェア部品の前記試験が成功しなかったことを示すことをさらに含む、請求項1に記載のコンピュータプログラム。
【請求項3】
前記動作は、前記下流側ソフトウェア部品の前記新たなバージョンの前記試験が成功しなかったことに応答して、前記上流側ソフトウェア部品の前記新たなバージョンを維持することをさらに含む、請求項2に記載のコンピュータプログラム。
【請求項4】
前記動作は、前記下流側ソフトウェア部品の修正されたパッケージを受け取ることに応答して、前記下流側ソフトウェア部品を再構築することをさらに含む、請求項2に記載のコンピュータプログラム。
【請求項5】
前記上流側ソフトウェア部品の前記新しいバージョンを前記試験することは、前記上流側ソフトウェア部品に特定の機能性を試験することを含む、請求項1に記載のコンピュータプログラム。
【請求項6】
前記上流側ソフトウェア部品の前記新しいバージョンを前記試験することは、前記上流側ソフトウェア部品の1つまたは複数の機能的要件を判定することを含む、請求項5に記載のコンピュータプログラム。
【請求項7】
前記上流側ソフトウェア部品の前記新しいバージョンを前記試験することは、ハードウェアコンポーネントをシミュレートすることを含む、請求項5に記載のコンピュータプログラム。
【請求項8】
前記ハードウェア通信仕様は、前記ソフトウェアシステムによって使用可能な信号およびデータタイプのリストを含む、請求項1に記載のコンピュータプログラム。
【請求項9】
前記ハードウェア通信仕様は、車両のコントローラエリアネットワーク(CAN)のためのものである、請求項8に記載のコンピュータプログラム。
【請求項10】
前記動作は、前記下流側ソフトウェア部品の前記新しいバージョンを構築する前に、前記下流側ソフトウェア部品が前記上流側ソフトウェア部品に依存すると判定することをさらに含む、請求項1~9の何れか一項に記載のコンピュータプログラム。
(【請求項11】以降は省略されています)
発明の詳細な説明
【背景技術】
【0001】
車両用のソフトウェアシステムなどのソフトウェアシステムは、複数のソフトウェア部品を含み、いくつかのソフトウェア部品は、ビルド(構築)プロセスの一部として他のソフトウェア部品に依存する。ソフトウェアシステムのソフトウェア部品を更新するには、ソフトウェアシステムの再構築が必要である。再構築されたソフトウェアシステムは、機能性を検証するために試験される。ソフトウェアシステムが試験に合格すると、ソフトウェアシステムは新しいバージョンとしてリリースされる。ソフトウェアシステムが試験に合格しない場合、ソフトウェアシステムはリリースされない。
続きを表示(約 2,600 文字)
【発明の概要】
【0002】
本開示の態様は、添付の図面とともに読まれるとき、以下の詳細な説明から最もよく理解される。業界における標準的な慣行によれば、様々な特徴が一定の縮尺で描かれていないことに留意されたい。実際、様々な特徴の寸法は、議論を明確にするために、任意に増加または減少され得る。
【図面の簡単な説明】
【0003】
図1は、本開示の少なくともいくつかの実施形態による、インクリメンタルなソフトウェア部品の試験およびリリースによるソフトウェア開発のためのソフトウェアシステム開発の模式図である。
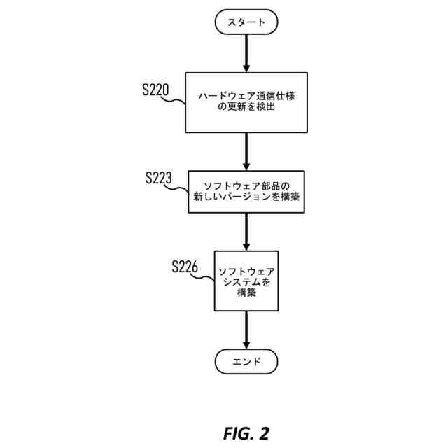
図2は、本開示の少なくともいくつかの実施形態による、インクリメンタルなソフトウェア部品の試験およびリリースによるソフトウェア開発のための動作フローである。
図3は、本開示の少なくともいくつかの実施形態による、ソフトウェア部品の新しいバージョンを構築するための動作フローである。
図4は、本開示の少なくともいくつかの実施形態による、インクリメンタルなソフトウェア部品の試験およびリリースによるソフトウェア開発のためのハードウェア構成のブロック図である。
【発明を実施するための形態】
【0004】
以下の開示は、提供される主題の異なる特徴を実装するための多くの異なる実施形態または例を提供する。以下、本開示を簡単にするために、構成要素、値、動作、材料、配置などの具体例を説明する。これらは、もちろん、単なる例であり、限定を意図するものではない。他の構成要素、値、動作、材料、配置なども考えられる。加えて、本開示は、様々な例において参照番号および/または文字を繰り返すことができる。この繰り返しは、簡単かつ明確にするためのものであり、それ自体、論じられる様々な態様および/または構成の間の関係を指示するものではない。
【0005】
本発明者に知られているソフトウェアシステムにおいて、ソフトウェアシステムを再構築することは、直接的または間接的に、最初に更新されたソフトウェア部品に依存するソフトウェア部品の再構築を含む。このようなソフトウェアシステムでは、ソフトウェアシステムの中で再構築された1つ以上のソフトウェア部品が実際には適切に機能している可能性がある。開発者は、試験の失敗の原因を判断するために各ソフトウェア部品を手動で確認し、ソフトウェアシステムが試験に合格するまで、ソフトウェアシステムを繰り返し試験する。
【0006】
本開示の少なくともいくつかの実施形態では、最初に更新されたソフトウェア部品と、最初に更新されたソフトウェア部品に依存する任意のソフトウェア部品とのうちの各ソフトウェア部品は、ローカル機能を検証するために、直接的または間接的のいずれかで、個別に試験される。少なくともいくつかの実施形態では、試験に合格するソフトウェア部品は、更新されたソフトウェア部品としてリリースされ、開発者は、試験に合格しないソフトウェア部品について通知される。
【0007】
少なくともいくつかの実施形態では、ソフトウェア部品を個別に試験することによって、問題は、構築プロセスの早期に知られ、依存するソフトウェア部品を構築する際の時間や資源を削減し、開発者は、特定のソフトウェア部品に関する問題に向けられ、分析時間を削減する。
【0008】
例えば、降雨応答のアプリケーションが考えられており、この場合、アプリケーションは、センサを介して気象を検出し、検出された気象に雨が含まれる場合、ケースの内部を水害から保護するために、車両の窓を閉じる。この例では、車両システムは、4つのソフトウェア部品、すなわち、気象、中央、窓、およびI/Oに分割される。この例では、降雨応答アプリケーションによって、これらのサブシステムが相互に通信するようになる。少なくともいくつかの実施形態では、1つのそのような通信は、気象サブシステムから中央サブシステムへの気象データである。少なくともいくつかの実施形態では、抽象化層が気象データに関連する信号またはデータタイプを現在定義していない場合、ハードウェア通信仕様は、「気象データ」のための新しい信号またはデータタイプを含むように更新される。少なくともいくつかの実施形態では、ハードウェア通信仕様の更新は、抽象化層の試験および更新をトリガし、それは、システム層を介してすべての層の試験および更新をトリガする。
【0009】
図1は、本開示の少なくともいくつかの実施形態による、インクリメンタル(incremental:徐々に増加する)なソフトウェア部品の試験およびリリースによるソフトウェア開発のためのソフトウェアシステム開発の模式図である。この図は、上流側ソフトウェア部品110と、下流側ソフトウェア部品112、113、114と、ソフトウェアシステム116とを含む。
【0010】
上流側ソフトウェア部品110は、更新されたハードウェア通信仕様に応じて、最初に更新される。少なくともいくつかの実施形態では、ハードウェア通信仕様は、ソフトウェアシステムによって使用可能な信号およびデータタイプのリストを含む。少なくともいくつかの実施形態では、ハードウェア通信仕様は、車両のコントローラエリアネットワーク(CAN)のためのものである。少なくともいくつかの実施形態では、上流側ソフトウェア部品110は、下流側ソフトウェア部品112、113、114に機能を提供するように構成される。少なくともいくつかの実施形態では、上流側ソフトウェア部品110は、データ処理やユーザインタフェース管理などのタスクを処理するように構成される。少なくともいくつかの実施形態では、上流側ソフトウェア部品110は、外部API、データベース、またはソフトウェアシステム116以外の他のソフトウェアシステムと対話(インターアクト、相互作用)するように構成される。少なくともいくつかの実施形態では、上流側ソフトウェア部品110は、デバイスドライバ、ライブラリ、またはマイクロサービスアーキテクチャ内のサービスである。
(【0011】以降は省略されています)
この特許をJ-PlatPat(特許庁公式サイト)で参照する
関連特許
個人
詐欺保険
1か月前
個人
縁伊達ポイン
1か月前
個人
職業自動販売機
16日前
個人
RFタグシート
1か月前
個人
5掛けポイント
23日前
個人
QRコードの彩色
1か月前
個人
地球保全システム
2か月前
個人
ペルソナ認証方式
1か月前
個人
自動調理装置
1か月前
個人
情報処理装置
26日前
個人
残土処理システム
1か月前
個人
農作物用途分配システム
1か月前
個人
タッチパネル操作指代替具
1か月前
個人
サービス情報提供システム
18日前
個人
知的財産出願支援システム
1か月前
個人
インターネットの利用構造
1か月前
個人
スケジュール調整プログラム
1か月前
個人
携帯端末障害問合せシステム
1か月前
株式会社キーエンス
受発注システム
1か月前
株式会社キーエンス
受発注システム
1か月前
個人
エリアガイドナビAIシステム
1か月前
個人
食品レシピ生成システム
1か月前
株式会社キーエンス
受発注システム
1か月前
キヤノン株式会社
情報処理装置
10日前
株式会社ワコム
電子ペン
25日前
キヤノン株式会社
情報処理装置
24日前
株式会社ケアコム
項目選択装置
26日前
株式会社ワコム
電子ペン
25日前
株式会社ケアコム
項目選択装置
26日前
キヤノン株式会社
印刷システム
1か月前
エッグス株式会社
情報処理装置
1か月前
キヤノン株式会社
情報処理装置
10日前
個人
帳票自動生成型SaaSシステム
1か月前
トヨタ自動車株式会社
通知装置
1か月前
個人
音声・通知・再配達UX制御構造
1か月前
キヤノン株式会社
画像認識装置
10日前
続きを見る
他の特許を見る