TOP
|
特許
|
意匠
|
商標
特許ウォッチ
Twitter
他の特許を見る
10個以上の画像は省略されています。
公開番号
2025174698
公報種別
公開特許公報(A)
公開日
2025-11-28
出願番号
2024081209
出願日
2024-05-17
発明の名称
半導体装置
出願人
ルネサスエレクトロニクス株式会社
代理人
弁理士法人筒井国際特許事務所
主分類
H10D
30/66 20250101AFI20251120BHJP()
要約
【課題】ゲート電極(トレンチ)とパンチスルーストッパ層との合わせずれに対する高いロバスト性を有するワイドバンドギャップ半導体装置を提供する。
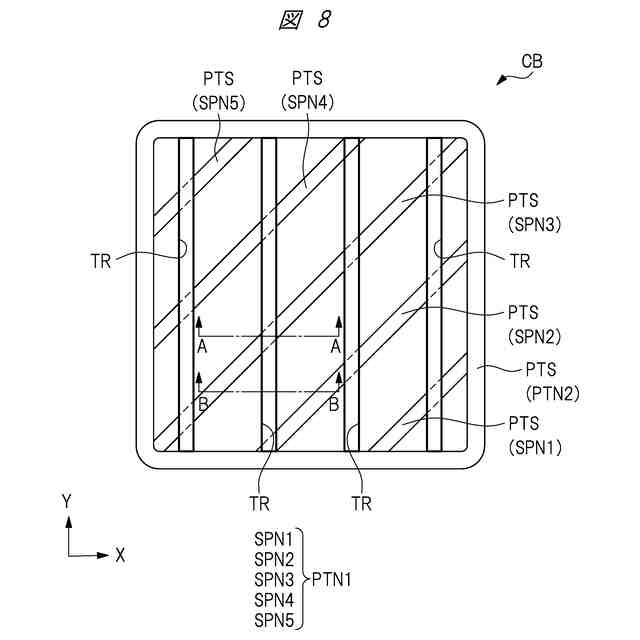
【解決手段】技術的思想は、平面を構成するX方向およびY方向のうちのY方向に延在するトレンチがX方向に所定の間隔で配置されていることを前提として、平面を構成するX方向およびY方向のそれぞれに周期性を有するパターンからパンチスルーストッパ層の平面形状を構成することである。
【選択図】図8
特許請求の範囲
【請求項1】
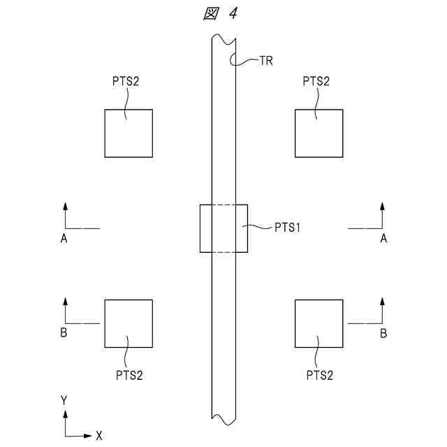
シリコンよりもバンドギャップの大きなワイドバンドギャップ半導体材料から構成される第1導電型のエピタキシャル層と、
前記エピタキシャル層内に形成された複数のトレンチと、
前記複数のトレンチ内にゲート絶縁膜を介して形成された複数のゲート電極と、
前記エピタキシャル層内に形成され、かつ、前記複数のトレンチよりも深い位置に形成され、かつ、前記第1導電型とは反対の第2導電型であるパンチスルーストッパ層と、
を備える、半導体装置であって、
平面視において、前記パンチスルーストッパ層は、互いに隣り合う第1部分および第2部分を含み、
平面視において、前記第1部分および前記第2部分のそれぞれは、平面形状が互いに同一である第1パターンを有し、
前記第1パターンは、1または複数のサブパターンからなり、
平面視において、前記第1パターンを構成する前記1または複数のサブパターンのそれぞれは、前記複数のゲート電極のいずれかと部分的に重なっている、半導体装置。
続きを表示(約 930 文字)
【請求項2】
請求項1に記載の半導体装置において、
前記パンチスルーストッパ層の平面形状は、前記第1パターンを単位パターンとする繰り返しからなる幾何学模様を構成する。
【請求項3】
請求項1に記載の半導体装置において、
前記第1パターンは、直線、矩形、円形あるいは曲線のいずれかを含む前記1または複数のサブパターンから構成されている。
【請求項4】
請求項1に記載の半導体装置において、
前記第1パターンは、平面充填可能なパターンから構成され、
前記平面充填可能なパターンとは、有限種類の平面図形を使用して、重なることなく、かつ、隙間なく面を敷き詰めることが可能なパターンである。
【請求項5】
請求項4に記載の半導体装置において、
前記第1パターンは、複数のサブパターンから構成され、
前記複数のサブパターンは、複数の単一図形の組み合わせから構成される。
【請求項6】
請求項4に記載の半導体装置において、
前記第1パターンは、複数のサブパターンから構成され、
前記複数のサブパターンは、複数種類の図形の組み合わせから構成される。
【請求項7】
請求項1に記載の半導体装置において、
前記複数のゲート電極のそれぞれは、第1方向に延在し、
平面視において、前記第1パターンを構成する前記1または複数のサブパターンのそれぞれは、前記第1方向と交差する第2方向に延在する。
【請求項8】
請求項1に記載の半導体装置において、
前記第1部分および前記第2部分のそれぞれは、平面視において前記第1パターンを囲むリング形状の第2パターンを有する。
【請求項9】
請求項8に記載の半導体装置において、
前記第1パターンは、前記第2パターンと接続されている。
【請求項10】
請求項9に記載の半導体装置において、
前記第1パターンおよび前記第2パターンには、グランド電位が供給される。
(【請求項11】以降は省略されています)
発明の詳細な説明
【技術分野】
【0001】
本発明は、半導体装置に関し、例えば、シリコンよりもバンドギャップの大きなワイドバンドギャップ半導体材料を使用した半導体装置に適用して有効な技術に関する。
続きを表示(約 1,200 文字)
【背景技術】
【0002】
特開2019-117859号公報(特許文献1)は、ドリフト層とは逆導電型の半導体領域をトレンチよりも深いドリフト層内に形成する技術を記載している。
【先行技術文献】
【特許文献】
【0003】
特開2019-117859号公報
【発明の概要】
【発明が解決しようとする課題】
【0004】
シリコンよりもバンドギャップの大きなワイドバンドギャップ半導体材料をエピタキシャル層に使用した半導体装置がある。このワイドバンドギャップ半導体装置では、バンドギャップが大きいことに起因して、エピタキシャル層の厚さを薄くしても、エピタキシャル層の耐圧を高くできる。すなわち、ワイドバンドギャップ半導体装置は、互いにトレードオフの関係にあるオン抵抗の低減と耐圧の向上を両立できる。
【0005】
したがって、ワイドバンドギャップ半導体装置は、動作電圧を高くできる。ただし、例えば、エピタキシャル層内に形成されたトレンチにゲート絶縁膜を介してゲート電極を充填する構造の電界効果トランジスタを含むワイドバンドギャップ半導体装置では、動作電圧を高くするにしたがって、トレンチ底部の角部近傍における電界強度が高くなる。この結果、トレンチ内に形成されたゲート絶縁膜の絶縁破壊が生じるおそれがある。
【0006】
このことから、ワイドバンドギャップ半導体装置では、トレンチ底部近傍における電界集中を抑制する必要がある。このため、エピタキシャル層とは逆導電型のパンチスルーストッパ層をトレンチよりも深いエピタキシャル層内に形成することが検討されている。
【0007】
この点に関し、本発明者は、トレンチ内に形成されたゲート電極と、エピタキシャル層内に形成されたパンチスルーストッパ層との合わせずれが、ワイドバンドギャップ半導体装置の特性変動を引き起こす要因となることを新規に見出した。
【0008】
このことから、ゲート電極とパンチスルーストッパ層との合わせずれに対する高いロバスト性(堅牢性とも呼ぶ)を有する半導体装置が望まれている。
【0009】
その他の課題と新規な特徴は、本明細書の記述および添付図面から明らかになる。
【課題を解決するための手段】
【0010】
一実施の形態における半導体装置は、平面を構成するX方向およびY方向のうちのY方向に延在するトレンチがX方向に所定の間隔で配置されていることを前提として、平面を構成するX方向およびY方向のそれぞれに周期性を有するパターンから平面形状が構成されているパンチスルーストッパ層を含む。
【発明の効果】
(【0011】以降は省略されています)
この特許をJ-PlatPat(特許庁公式サイト)で参照する
関連特許
個人
積和演算用集積回路
1か月前
サンケン電気株式会社
半導体装置
1か月前
日機装株式会社
半導体発光装置
25日前
旭化成株式会社
発光素子
1か月前
ローム株式会社
抵抗チップ
1か月前
ローム株式会社
半導体装置
9日前
株式会社半導体エネルギー研究所
表示装置
9日前
三菱電機株式会社
半導体装置
1か月前
株式会社東芝
半導体装置
17日前
三菱電機株式会社
半導体装置
17日前
三菱電機株式会社
半導体装置
4日前
ローム株式会社
半導体集積回路
1か月前
日亜化学工業株式会社
発光装置
1か月前
サンケン電気株式会社
半導体装置
17日前
ローム株式会社
半導体装置
1か月前
ローム株式会社
半導体装置
1か月前
ローム株式会社
窒化物半導体装置
1か月前
ローム株式会社
半導体装置
2日前
株式会社半導体エネルギー研究所
発光デバイス
1か月前
ローム株式会社
半導体装置
1か月前
株式会社半導体エネルギー研究所
発光デバイス
25日前
日亜化学工業株式会社
発光素子
1か月前
大日本印刷株式会社
太陽電池
1か月前
新電元工業株式会社
半導体素子
2日前
新電元工業株式会社
半導体素子
2日前
新電元工業株式会社
半導体素子
2日前
日亜化学工業株式会社
発光装置
2日前
ローム株式会社
半導体装置
17日前
日亜化学工業株式会社
発光装置
1か月前
日亜化学工業株式会社
発光素子
1か月前
日本ゼオン株式会社
構造体
1か月前
日亜化学工業株式会社
発光装置
1か月前
今泉工業株式会社
光発電装置及びその製造方法
1か月前
株式会社東芝
ウエーハ及び半導体装置
10日前
住友電気工業株式会社
炭化珪素半導体装置
1か月前
株式会社東芝
半導体装置及びウエーハ
1か月前
続きを見る
他の特許を見る