TOP
|
特許
|
意匠
|
商標
特許ウォッチ
Twitter
他の特許を見る
10個以上の画像は省略されています。
公開番号
2025173363
公報種別
公開特許公報(A)
公開日
2025-11-27
出願番号
2024078918
出願日
2024-05-14
発明の名称
撮像装置
出願人
パナソニックIPマネジメント株式会社
代理人
個人
,
個人
,
個人
主分類
G02B
7/28 20210101AFI20251119BHJP(光学)
要約
【課題】所望の領域から被写体を追従する合焦動作を実現し易くすることができる撮像装置を提供する。
【解決手段】撮像装置(100)は、光学系(110)を介して形成される被写体像を撮像して、画像データを生成する撮像部(115)と、光学系による合焦動作を制御する制御部(135)とを備える。制御部は、画像データが示す撮像画像において予め配置された合焦領域(61)において被写体を検知する前は、配置された合焦領域に基づき光学系に合焦動作を行わせ、配置された合焦領域において被写体を検知した後は、配置された合焦領域から離れた範囲にわたって被写体を追従するように光学系に合焦動作を行わせる。
【選択図】図3
特許請求の範囲
【請求項1】
光学系を介して形成される被写体像を撮像して、画像データを生成する撮像部と、
前記光学系による合焦動作を制御する制御部と
を備え、
前記制御部は、
前記画像データが示す撮像画像において予め配置された第1の合焦領域において被写体を検知する前は、前記配置された合焦領域に基づき前記光学系に前記合焦動作を行わせ、
前記第1の合焦領域において前記被写体を検知した後は、前記配置された合焦領域から離れた範囲にわたって前記被写体を追従するように前記光学系に前記合焦動作を行わせる
撮像装置。
続きを表示(約 1,200 文字)
【請求項2】
前記画像データに基づき、前記撮像画像において前記被写体が位置する被写体領域を認識する画像認識部をさらに備え、
前記制御部は、前記画像認識部の認識結果に基づいて、
前記被写体領域が前記第1の合焦領域から所定範囲内にないときに前記被写体を検知せず、
前記被写体領域が前記第1の合焦領域から前記所定範囲内にあるときに前記被写体を検知する
請求項1に記載の撮像装置。
【請求項3】
前記制御部は、
前記画像データが示す撮像画像を表示する表示部に、前記撮像画像において予め配置された第1の合焦領域を表示させ、
前記第1の合焦領域において被写体を検知する前は、前記第1の合焦領域に基づき前記光学系に合焦動作を行わせ、
前記第1の合焦領域において前記被写体を検知した後は、前記第1の合焦領域から離れた範囲にわたって前記被写体を追従する第2の合焦領域を前記表示部に表示させる
請求項1に記載の撮像装置。
【請求項4】
前記画像データに基づき、前記撮像画像において前記被写体が位置する被写体領域を認識する画像認識部をさらに備え、
前記制御部は、前記画像認識部の認識結果に基づいて、
前記被写体領域が前記第1の合焦領域から所定範囲内にないときに前記被写体を検知せず、
前記被写体領域が前記第1の合焦領域から前記所定範囲内にあるときに前記被写体を検知する
前記制御部は、前記被写体を検知した後に、
前記画像認識部が前記被写体領域を認識しているとき、認識された被写体領域に基づいて前記被写体を追従するように前記第2の合焦領域を表示させ、
前記画像認識部が前記被写体領域を認識していないとき、前記撮像画像における所定の特徴量に基づいて前記被写体を追従するように前記第2の合焦領域を表示させる
請求項3に記載の撮像装置。
【請求項5】
前記制御部は、前記合焦動作をそれぞれ制御する複数の動作モードを有し、
前記複数の動作モードのうちの特定の動作モードに設定されたとき、前記制御部は、前記第1の合焦領域を表示させて、前記第1の合焦領域において前記被写体を検知した後は前記第2の合焦領域を表示させる
請求項3に記載の撮像装置。
【請求項6】
ユーザの指示を入力する入力部をさらに備え、
前記制御部は、前記入力部におけるユーザ指示に応じて、前記第2の合焦領域により追従する被写体を変更する
請求項3に記載の撮像装置。
【請求項7】
前記画像データが示す撮像画像と各合焦領域とを表示する表示部をさらに備える
請求項3に記載の撮像装置。
【請求項8】
ユーザの操作に応じて、前記撮像画像における前記第1の合焦領域の配置と、前記検知の対象とする被写体との少なくとも一方を設定する設定部をさらに備える
請求項1に記載の撮像装置。
発明の詳細な説明
【技術分野】
【0001】
本開示は、合焦動作を行う撮像装置に関する。
続きを表示(約 1,600 文字)
【背景技術】
【0002】
特許文献1は、任意に設定可能な被写体にフォーカス調整を行うことができる撮像装置を開示する。この撮像装置は、撮像光学系と、画像信号から複数のエリアのうちのエリア毎に色情報をそれぞれ算出する色情報算出部とを備える。この撮像装置は、予め設定された参照色情報と、色情報算出部により逐次算出された各色情報とを比較した結果に基づいて、少なくとも1つのエリアを選択して、選択されたエリアに対し、撮像光学系の合焦情報を算出する。参照色情報は、予め撮像された画像信号から、ユーザの所望のエリアに対して、色情報算出部が算出した色情報である。
【先行技術文献】
【特許文献】
【0003】
特開2006-72332号公報
【発明の概要】
【発明が解決しようとする課題】
【0004】
本開示は、所望の領域から被写体を追従する合焦動作を実現し易くすることができる撮像装置を提供する。
【課題を解決するための手段】
【0005】
本開示における撮像装置は、光学系を介して形成される被写体像を撮像して、画像データを生成する撮像部と、光学系による合焦動作を制御する制御部とを備える。制御部は、画像データが示す撮像画像において予め配置された合焦領域において被写体を検知する前は、配置された合焦領域に基づき光学系に合焦動作を行わせ、配置された合焦領域において被写体を検知した後は、配置された合焦領域から離れた範囲にわたって被写体を追従するように光学系に合焦動作を行わせる。
【発明の効果】
【0006】
本開示における撮像装置によると、所望の領域から被写体を追従する合焦動作を実現し易くすることができる。
【図面の簡単な説明】
【0007】
本開示の実施形態1に係るデジタルカメラの構成を示す図
デジタルカメラにおけるAFモードの設定メニューの表示例を示す図
デジタルカメラにおける待ち構え追従モードの動作を説明するための図
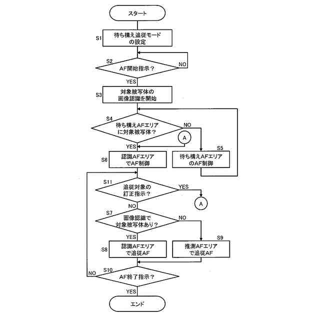
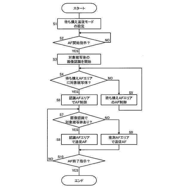
実施形態に1のデジタルカメラにおける待ち構え追従モードの動作を例示するフローチャート
デジタルカメラにおける対象被写体の検知処理を説明するための図
デジタルカメラにおける画像認識での対象被写体のロスト時のAF追従を説明するための図
デジタルカメラにおける待ち構えAFエリアの設定画面の表示例を示す図
デジタルカメラにおける対象被写体の設定画面の表示例を示す図
実施形態2のデジタルカメラにおける待ち構え追従モードの動作を例示するフローチャート
実施形態2のデジタルカメラにおける待ち構え追従モードの動作例を説明するための図
デジタルカメラにおける対象被写体の設定の変形例を説明するための図
【発明を実施するための形態】
【0008】
以下、適宜図面を参照しながら、実施の形態を詳細に説明する。但し、必要以上に詳細な説明は省略する場合がある。例えば、既によく知られた事項の詳細説明や実質的に同一の構成に対する重複説明を省略する場合がある。これは、以下の説明が不必要に冗長になるのを避け、当業者の理解を容易にするためである。なお、発明者(ら)は、当業者が本開示を十分に理解するために添付図面および以下の説明を提供するのであって、これらによって特許請求の範囲に記載の主題を限定することを意図するものではない。
【0009】
(実施形態1)
実施形態1では、本開示に係る撮像装置の一例のデジタルカメラについて説明する。
【0010】
1.構成
実施形態1に係るデジタルカメラの構成について、図1を用いて説明する。
(【0011】以降は省略されています)
この特許をJ-PlatPat(特許庁公式サイト)で参照する
関連特許
アイカ工業株式会社
反射防止フィルム
7日前
東京応化工業株式会社
光学製品
今日
豊田合成株式会社
調光装置
20日前
株式会社コシナ
投射ズームレンズ
26日前
新光電気工業株式会社
光導波路部品
今日
キヤノン株式会社
表示装置
12日前
キヤノン株式会社
表示装置
5日前
住友化学株式会社
複合偏光板
5日前
古河電気工業株式会社
光ファイバケーブル
5日前
矢崎総業株式会社
光ケーブル
1日前
マクセル株式会社
映像表示装置
26日前
古河電気工業株式会社
光ファイバケーブル
5日前
京セラ株式会社
アイソレータ
12日前
株式会社タムロン
ズームレンズ及び撮像装置
5日前
古河電気工業株式会社
融着機、ピッチ変換部材
5日前
住友ベークライト株式会社
光学部品の製造方法
5日前
ウシオ電機株式会社
反射型位相差構造体
1日前
株式会社小糸製作所
画像生成装置
14日前
マクセル株式会社
空中浮遊映像表示装置
20日前
日東電工株式会社
光学積層体
5日前
株式会社小糸製作所
画像投影装置
20日前
日東電工株式会社
光学積層体
5日前
日東電工株式会社
光学積層体
5日前
吉祥園株式会社
近くの物体を遠くに鏡像させて見る光学器具
6日前
キヤノン株式会社
光学系および観察装置
1日前
キヤノン株式会社
光学系および撮像装置
20日前
日本精機株式会社
表示装置及びヘッドアップディスプレイ装置
1日前
個人
双眼ルーペ
7日前
キヤノン株式会社
走査光学装置及び画像形成装置
14日前
キヤノン株式会社
光学素子および光学装置
21日前
TOPPANホールディングス株式会社
調光装置
12日前
東芝テック株式会社
光学装置
5日前
キヤノン株式会社
走査光学装置及び画像形成装置
12日前
キヤノン株式会社
表示光学系および表示装置
5日前
キヤノン株式会社
表示光学系および表示装置
5日前
TOPPANホールディングス株式会社
調光シート
5日前
続きを見る
他の特許を見る