TOP
|
特許
|
意匠
|
商標
特許ウォッチ
Twitter
他の特許を見る
10個以上の画像は省略されています。
公開番号
2025173028
公報種別
公開特許公報(A)
公開日
2025-11-27
出願番号
2024078346
出願日
2024-05-14
発明の名称
温度差センサ
出願人
三洋化成工業株式会社
,
ホシデン株式会社
代理人
弁理士法人 HARAKENZO WORLD PATENT & TRADEMARK
主分類
H10N
10/17 20230101AFI20251119BHJP()
要約
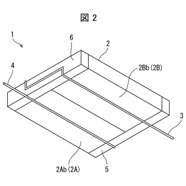
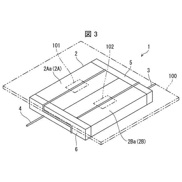
【課題】熱電変換素子を利用して発熱箇所を特定し得る温度差センサを実現する。
【解決手段】温度差センサ(1)は、熱電変換可能なレドックス種を含むイオン伝導体を含むシート体(2)と、シート体と接触し、かつ、シート体の面方向において分けて配置された一対の電極(3),(4)と、を備える。
【選択図】図1
特許請求の範囲
【請求項1】
熱電変換可能なレドックス種を含むイオン伝導体を含むシート体と、
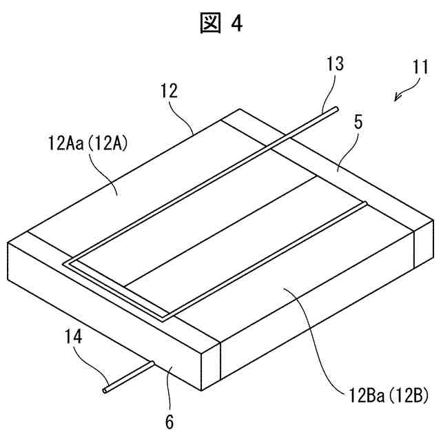
前記シート体と接触し、かつ、前記シート体の面方向において分けて配置された一対の電極と、を備える温度差センサ。
続きを表示(約 840 文字)
【請求項2】
前記シート体は、前記面方向に並ぶ第1領域と第2領域とを含み、
前記第1領域に含まれる前記イオン伝導体および前記第2領域に含まれる前記イオン伝導体のゼーベック係数の符号が同じであり、
前記一対の電極の中の一方の電極は、前記第1領域の表面および前記第2領域の裏面を通るように配置され、
前記一対の電極の中の他方の電極は、前記第2領域の表面および前記第1領域の裏面を通るように配置されている請求項1に記載の温度差センサ。
【請求項3】
前記シート体において、前記第1領域と第2領域との間が絶縁されている請求項2に記載の温度差センサ。
【請求項4】
前記シート体は、面方向に並ぶ第1領域と第2領域とを含み、
前記第1領域に含まれる前記イオン伝導体と前記第2領域に含まれる前記イオン伝導体のゼーベック係数の符号が異なり、
前記一対の電極の中の一方の電極は、前記第1領域の表面および前記第2領域の表面を通るように配置され、
前記一対の電極の中の他方の電極は、前記第1領域の裏面および前記第2領域の裏面を通るように配置されている請求項1に記載の温度差センサ。
【請求項5】
前記シート体は、一方向に長い長尺状をなし、
前記一対の電極の中の一方の電極は、前記シート体の長手方向の一端部側の表面あるいは裏面に配置され、
前記一対の電極の中の他方の電極は、前記シート体の長手方向の他端部側の表面あるいは裏面に配置されている請求項1に記載の温度差センサ。
【請求項6】
前記一対の電極は、前記イオン伝導体の反応に対して測定可能な電位窓を有する金属あるいは非金属にて構成されている請求項1に記載の温度差センサ。
【請求項7】
前記シート体において、前記イオン伝導体は、絶縁された真空封止材料で覆われている請求項1に記載の温度差センサ。
発明の詳細な説明
【技術分野】
【0001】
本発明は、温度差センサに関する。
続きを表示(約 1,200 文字)
【背景技術】
【0002】
廃熱などの微少なエネルギーを電力に変換するため、熱電変換材料が近年注目を集めている。中でもモバイル機器などへのエネルギー源として、薄くて効率の良い熱電変換材料に期待が集まっている。しかし、従来の合金系熱電変換材料は、熱伝導性が高いが、ゼーベック係数(Se)が低いという問題がある。
【0003】
そこで、酸化還元可能なイオンの溶液を用いた熱化学電池が、注目を集めている(例えば、非特許文献1)。従来の固体の熱電合金のゼーベック係数(Se)が約0.2mV/Kであるのに対して、上記熱化学電池では、ゼーベック係数(Se)を一桁大きい値とすることができる。
【0004】
また、特許文献1,2には、レドックス対を含む溶液(イオン伝導体に相当)と該溶液に接触した一対の電極とを備える熱電変換素子を利用して、電極間の温度差を感知する熱電センサが開示されている。
【先行技術文献】
【特許文献】
【0005】
特許6511708号公報
特開2023-54907号公報
【非特許文献】
【0006】
シーオドー・ジェー・エーブラハム(TheodoreJ.Abraham)等、「ハイ・シーベック・コーイフィッシエント・レドックス・アイオニック・リクィッド・イレクトロライツ・フォー・サーマル・エナジー・ハービスティング(High Seebeck coefficient redox ionic liquid electrolytes for thermal energy harvesting)」、エナジー・アンド・インバイオレンメンタル・サイエンス(Energy & Environmental Science)、(英国)、2013年、第6巻、p.2639-2645
【発明の概要】
【発明が解決しようとする課題】
【0007】
しかしながら、上述のような従来技術は、熱電変換素子を利用した熱電センサについて何ら具体的に記載されておらず、実用化には至っていない。そして、発熱箇所を特定するといった用途に用いることはできない。
【0008】
本発明の一態様は、熱電変換素子を利用して発熱箇所を特定し得る温度差センサを実現することを目的とする。
【課題を解決するための手段】
【0009】
上記の課題を解決するために、本発明の一態様に係る温度差センサは、熱電変換可能なレドックス種を含むイオン伝導体を含むシート体と、前記シート体と接触し、かつ、前記シート体の面方向において分けて配置された一対の電極と、を備える。
【発明の効果】
【0010】
本発明の一態様によれば、熱電変換素子を利用して発熱箇所を特定し得る温度差センサを実現することができる。
【図面の簡単な説明】
(【0011】以降は省略されています)
この特許をJ-PlatPat(特許庁公式サイト)で参照する
関連特許
三洋化成工業株式会社
温度差センサ
1日前
三洋化成工業株式会社
導電剤及び潤滑剤組成物
1か月前
三洋化成工業株式会社
画像形成材料用バインダー
1か月前
三洋化成工業株式会社
角栓除去用組成物及び洗浄料
1か月前
ホシデン株式会社
温度センサ
1日前
三洋化成工業株式会社
センサ評価方法及びセンサ評価装置
1か月前
三洋化成工業株式会社
画像形成材料用バインダーの製造方法
1か月前
三洋化成工業株式会社
導電性接着剤、二次電池用電極及び二次電池
1か月前
三洋化成工業株式会社
粒状農業資材コーティング用ポリウレタン樹脂組成物及び複合粒子型農業用資材
21日前
三洋化成工業株式会社
匂い物質受容層を形成するための樹脂組成物、それを用いたセンサ素子、匂いセンサおよび匂い測定装置
1日前
個人
半導体装置
1か月前
個人
積和演算用集積回路
22日前
サンケン電気株式会社
半導体装置
21日前
旭化成株式会社
発光素子
1か月前
日機装株式会社
半導体発光装置
16日前
エイブリック株式会社
縦型ホール素子
1か月前
エイブリック株式会社
縦型ホール素子
1か月前
富士通株式会社
半導体装置
1か月前
ローム株式会社
抵抗チップ
1か月前
三菱電機株式会社
半導体装置
8日前
三菱電機株式会社
半導体装置
1か月前
株式会社半導体エネルギー研究所
表示装置
1か月前
三菱電機株式会社
半導体装置
1か月前
富士電機株式会社
半導体装置
1か月前
株式会社東芝
半導体装置
8日前
ローム株式会社
半導体集積回路
1か月前
日亜化学工業株式会社
発光装置
1か月前
日亜化学工業株式会社
発光装置
1か月前
日亜化学工業株式会社
発光素子
1か月前
TDK株式会社
圧電素子
1か月前
株式会社半導体エネルギー研究所
発光デバイス
16日前
ローム株式会社
半導体装置
21日前
サンケン電気株式会社
半導体装置
8日前
ローム株式会社
半導体装置
1か月前
ローム株式会社
窒化物半導体装置
1か月前
ローム株式会社
窒化物半導体装置
1か月前
続きを見る
他の特許を見る