TOP
|
特許
|
意匠
|
商標
特許ウォッチ
Twitter
他の特許を見る
10個以上の画像は省略されています。
公開番号
2025172321
公報種別
公開特許公報(A)
公開日
2025-11-26
出願番号
2024077767
出願日
2024-05-13
発明の名称
動物用体温検出システム
出願人
国立大学法人 宮崎大学
,
宮崎県
代理人
個人
,
個人
,
個人
,
個人
主分類
A01K
29/00 20060101AFI20251118BHJP(農業;林業;畜産;狩猟;捕獲;漁業)
要約
【課題】精度の高い温度情報を検出することができる動物用体温検出システムを提供する。
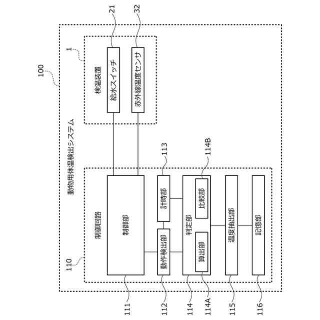
【解決手段】水が供給される給水手段20と、給水手段20の近傍に配置され飲水時に動物の口内温度を検出する温度検出手段30と、を備える検温装置1を用いて動物の口内温度を時系列的に管理する動物用体温管理システム100であって、動物の飲水開始および飲水終了を検出する飲水動作検出手段112と、飲水動作検出手段112により検出された飲水開始および飲水終了の情報から有効飲水動作情報であるかを判定する判定手段114と、有効飲水動作情報から口内温度を抽出する温度抽出手段115と、を備える。
【選択図】図5
特許請求の範囲
【請求項1】
水が供給される給水手段と、前記給水手段の近傍に配置され飲水時に動物の口内温度を検出する温度検出手段と、を備える検温装置を用いて前記動物の口内温度を時系列的に管理する動物用体温検出システムであって、
動物の飲水開始および飲水終了を検出する飲水動作検出手段と、
前記飲水動作検出手段により検出された飲水開始および飲水終了の情報から有効飲水動作情報であるかを判定する判定手段と、
前記有効飲水動作情報から口内温度を抽出する温度抽出手段と、
を備えることを特徴とする動物用体温管理システム。
続きを表示(約 630 文字)
【請求項2】
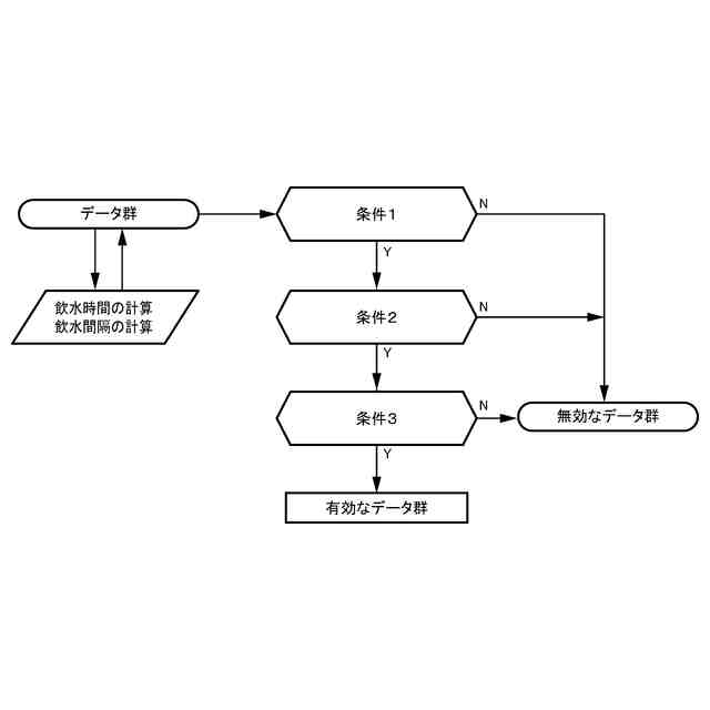
前記判定手段は、前記飲水開始および飲水終了の情報と、前記飲水開始および前記飲水終了に対応する時刻情報とに基づいて前記飲水開始から前記飲水終了までの飲水時間を算出し、前記飲水時間が所定時間α以上である場合に、前記有効飲水動作情報と判定することを特徴とする請求項1に記載の動物用体温管理システム。
【請求項3】
前記飲水開始から前記飲水終了までの飲水区間と、前記飲水終了から次の飲水開始までの非飲水区間とが交互に連続する飲水行動において、
前記判定手段は、(n-1)回目の飲水区間における飲水時間と、(n-2)回目の飲水区間における飲水時間と、の合計時間を算出し、前記合計時間が前記所定時間αとは異なる所定時間β以上である場合に、n回目の飲水区間を前記有効飲水動作情報と判定することを特徴とする請求項2に記載の動物用体温管理システム。
【請求項4】
前記判定手段は、前記n回目の飲水区間と、(n+1)回目の飲水区間との間の非飲水区間における飲水間隔を算出し、前記飲水間隔が前記所定時間α,βとは異なる所定時間γ以上である場合に、前記n回目の飲水区間を前記有効飲水動作情報と判定することを特徴とする請求項2または3に記載の動物用体温管理システム。
【請求項5】
前記温度抽出手段は、前記有効飲水動作情報から最も高い動物の口内温度を抽出することを特徴とする請求項1に記載の動物用体温管理システム。
発明の詳細な説明
【技術分野】
【0001】
本発明は、家畜や実験動物等の動物の体調管理を行うための動物用体温検出システムに関する。
続きを表示(約 2,400 文字)
【背景技術】
【0002】
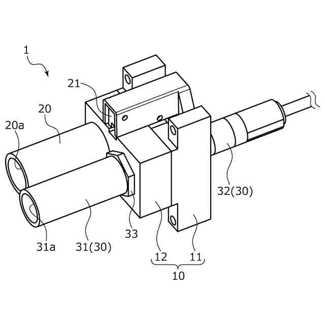
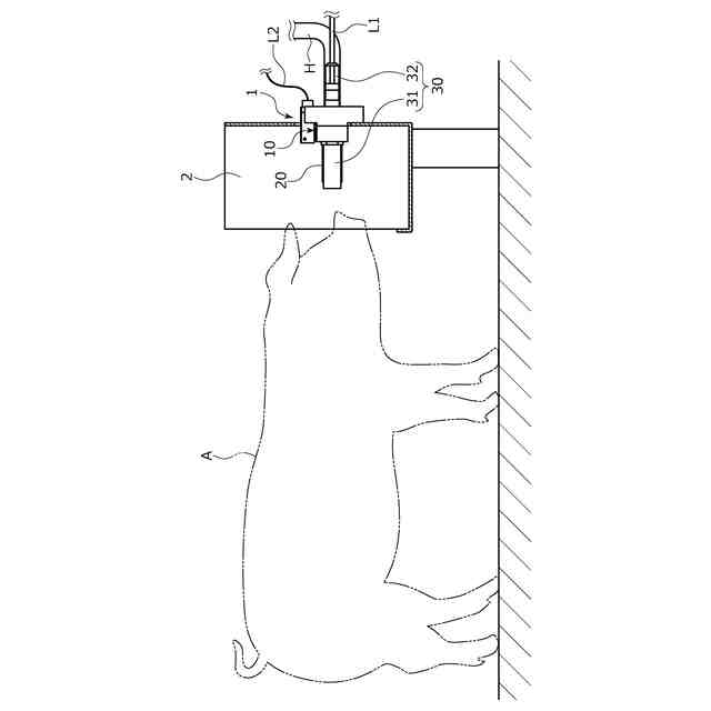
従来、家畜や実験動物等の動物の体調管理において、体温は健康状態を反映する重要な指標となっている。動物の体温は、測定箇所によって異なることから、正確な体温を知るためには深部体温を測定する必要がある。動物の深部体温の測定は、動物を拘束し、体温計を直腸内に挿入した状態で測定する方法が一般的であるが、近年では、動物、特に豚の口内温度が外部環境の影響を受け難く深部体温を好適に反映していることが明らかになっている。さらに、豚は定期的に飲水行動をとることから、この飲水行動に伴って継続的に口内温度の測定を行うことで体温に基づく豚の体調管理が行われている。
【0003】
例えば、特許文献1に示される動物用体調管理システムは、水が供給される飲み口部と、飲み口部の近傍に配置され豚の口内温度を検出する赤外線温度センサと、を備えた検温装置を用いて、豚の飲水行動に伴い飲み口部が咥えられることで赤外線温度センサにより開かれた豚の口内の温度、すなわち深部体温を検出できるようになっている。
【先行技術文献】
【特許文献】
【0004】
特開2022-133826号公報(第5頁~第6頁、第4図)
【発明の概要】
【発明が解決しようとする課題】
【0005】
特許文献1にあっては、豚が飲み口部を咥えたときに給水スイッチが操作されることで赤外線温度センサによる温度の検出を開始し、豚が飲み口部を放したときに検出が終了するように検温装置が構成されることにより、豚の飲水行動時における口内温度の検出が可能となっている。しかしながら、豚の飲水行動時には、例えば、鼻先が飲み口部に当たって給水スイッチが誤操作されることが度々生じ、実際には豚が飲み口部を咥えていないときに赤外線温度センサによる検出が開始され、豚の口内ではない他部位の温度が検出されてしまう虞があった。また、実際に豚が飲み口部を咥えて飲水動作が行われていても、豚の口先部分における口内温度が検出されている場合には、深部体温が好適に反映されておらず、温度情報の精度が低下してしまうという問題があった。
【0006】
本発明は、このような問題点に着目してなされたもので、精度の高い温度情報を検出することができる動物用体温検出システムを提供することを目的とする。
【課題を解決するための手段】
【0007】
前記課題を解決するために、本発明の動物用体温検出システムは、
水が供給される給水手段と、前記給水手段の近傍に配置され飲水時に動物の口内温度を検出する温度検出手段と、を備える検温装置を用いて前記動物の口内温度を時系列的に管理する動物用体温検出システムであって、
動物の飲水開始および飲水終了を検出する飲水動作検出手段と、
前記飲水動作検出手段により検出された飲水開始および飲水終了の情報から有効飲水動作情報であるかを判定する判定手段と、
前記有効飲水動作情報から口内温度を抽出する温度抽出手段と、
を備えることを特徴としている。
この特徴によれば、動物の飲水開始および飲水終了の情報から適正に飲水が行われているものを有効飲水動作情報と判定し、当該有効飲水動作情報から動物の深部体温が好適に反映された有効な口内温度として抽出することにより、精度の高い温度情報を検出することができる。
【0008】
前記判定手段は、前記飲水開始および飲水終了の情報と、前記飲水開始および前記飲水終了に対応する時刻情報とに基づいて前記飲水開始から前記飲水終了までの飲水時間を算出し、前記飲水時間が所定時間α以上である場合に、前記有効飲水動作情報と判定することを特徴としている。
この特徴によれば、適正に飲水が行われることにより飲水時間が所定時間α以上である有効飲水動作情報から動物の深部体温が好適に反映された有効な口内温度として抽出するため、精度の高い温度情報を検出することができる。
【0009】
前記飲水開始から前記飲水終了までの飲水区間と、前記飲水終了から次の飲水開始までの非飲水区間とが交互に連続する飲水行動において、
前記判定手段は、(n-1)回目の飲水区間における飲水時間と、(n-2)回目の飲水区間における飲水時間と、の合計時間を算出し、前記合計時間が前記所定時間αとは異なる所定時間β以上である場合に、n回目の飲水区間を前記有効飲水動作情報と判定することを特徴としている。
この特徴によれば、複数の飲水区間を有する飲水行動において、適正に飲水が行われることにより飲水時間が所定時間α以上であり、さらに直前2回の飲水区間が十分な飲水時間を有しているn回目の飲水区間に対応する有効飲水動作情報から動物の深部体温が好適に反映された有効な口内温度として抽出するため、より精度の高い温度情報を検出することができる。
【0010】
前記判定手段は、前記n回目の飲水区間と、(n+1)回目の飲水区間との間の非飲水区間における飲水間隔を算出し、前記飲水間隔が前記所定時間α,βとは異なる所定時間γ以上である場合に、前記n回目の飲水区間を前記有効飲水動作情報と判定することを特徴としている。
この特徴によれば、複数の飲水区間を有する飲水行動において、適正に飲水が行われることにより飲水時間が所定時間α以上であり、さらに直前2回の飲水区間が十分な飲水時間を有し、加えて直後の非飲水区間が十分な飲水間隔を有しているn回目の飲水区間に対応する有効飲水動作情報から動物の深部体温が好適に反映された有効な口内温度として抽出するため、さらに精度の高い温度情報を検出することができる。
(【0011】以降は省略されています)
この特許をJ-PlatPat(特許庁公式サイト)で参照する
関連特許
国立大学法人 宮崎大学
骨髄線維症治療薬
3か月前
国立大学法人 宮崎大学
動物用体温検出システム
2日前
国立大学法人 宮崎大学
土層用空気圧送試験器および土層用空気圧送試験方法
7か月前
国立研究開発法人国立がん研究センター
膵癌の検出方法
2か月前
株式会社ダイセル
分子動力学計算方法、分子動力学計算装置及びプログラム
16日前
国立大学法人 宮崎大学
ブタ由来培養細胞、及びそれを用いたウイルス増殖方法及びウイルス分離方法
7か月前
国立大学法人 宮崎大学
情報処理装置、情報処理方法及びプログラム
1か月前
国立大学法人 宮崎大学
高分子に対する溶媒探索システム、モデル作成システム、溶解性予測システム、高分子に対する溶媒探索方法、及びプログラム
4か月前
国立大学法人 宮崎大学
牛ウイルス性下痢ウイルス検出用プライマー対、牛ウイルス性下痢ウイルス1型検出用プローブ、牛ウイルス性下痢ウイルス2型検出用プローブ、牛ウイルス性下痢ウイルス検出キット及び牛ウイルス性下痢ウイルス検出方法
1か月前
個人
産卵床
今日
個人
草刈り鋏
1か月前
個人
平板植栽
1日前
個人
釣り用錘
18日前
個人
蠅捕獲器
1か月前
個人
蜜蜂保護装置
29日前
個人
噴霧器ノズル
16日前
個人
果実袋
今日
個人
草刈機用回転刃
1か月前
個人
種子の製造方法
1か月前
個人
移動体草刈り機
今日
個人
養殖器具
今日
個人
昆虫捕集器
1か月前
個人
水田排水量調整器具
今日
株式会社剛樹
釣り竿
14日前
個人
可動リップ付きルアー
21日前
井関農機株式会社
作業車両
1か月前
個人
四足動物用装着具
1か月前
個人
餌付き針の餌取り防止具
24日前
井関農機株式会社
圃場作業機
21日前
株式会社ナベル
表示システム
24日前
個人
ブルーカーボンシステム
21日前
大栄工業株式会社
捕獲器
1か月前
有限会社信英精密
括り罠
8日前
積水樹脂株式会社
シート止め具
今日
松山株式会社
収穫機
21日前
井関農機株式会社
作業車両
1か月前
続きを見る
他の特許を見る