TOP
|
特許
|
意匠
|
商標
特許ウォッチ
Twitter
他の特許を見る
10個以上の画像は省略されています。
公開番号
2025172173
公報種別
公開特許公報(A)
公開日
2025-11-20
出願番号
2025153901,2023208264
出願日
2025-09-17,2023-12-11
発明の名称
空調設備、冷却塔及び地下変電所
出願人
東芝プラントシステム株式会社
代理人
弁理士法人サクラ国際特許事務所
主分類
F24F
1/58 20110101AFI20251113BHJP(加熱;レンジ;換気)
要約
【課題】通常時における冷却能力の大幅な低下を招くことなく、富士山等の火山の噴火により降灰が発生した際においても、運転を安定的に維持することができる空調設備等を提供する。
【解決手段】建屋内に外気を導入するための吸気口を具備した空調設備であって、複数の分割された板状であり、互いに連接されることにより前記吸気口を着脱自在に覆う火山灰を遮断可能なフィルターと、前記吸気口に隣接され、前記板状のフィルターを重ね合わせて収納するためのフィルター収納部と、前記フィルター収納部内の前記フィルターを、前記吸気口を覆う位置まで移動させるための移動機構と、を具備している。
【選択図】図3
特許請求の範囲
【請求項1】
建屋内に外気を導入するための吸気口を具備した空調設備であって、
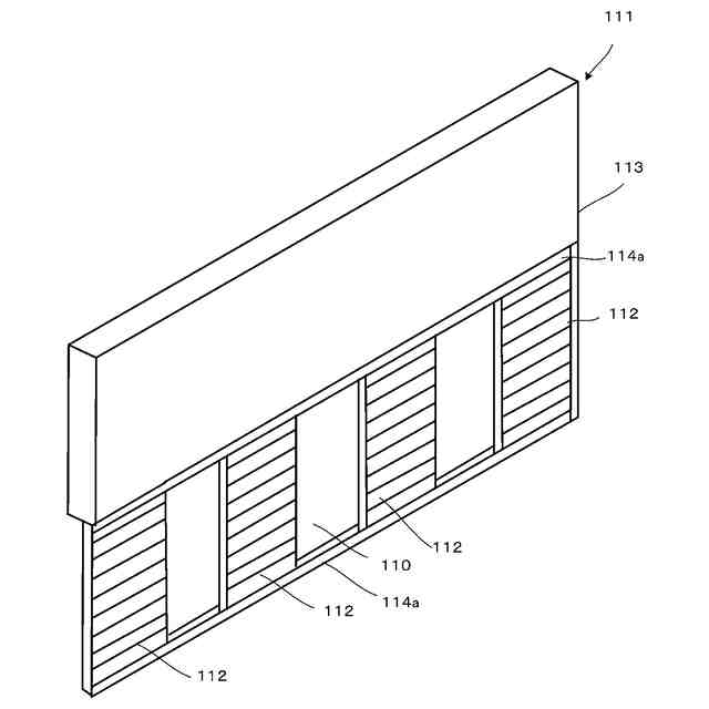
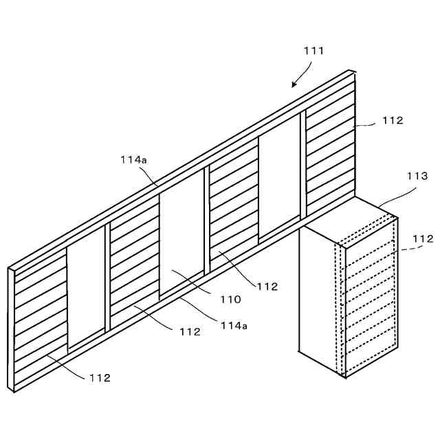
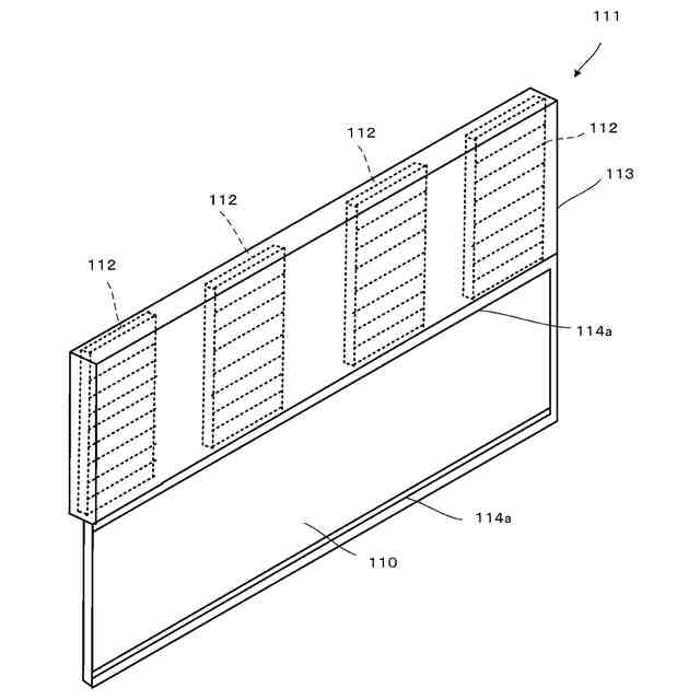
複数の分割された板状であり、互いに連接されることにより前記吸気口を着脱自在に覆う火山灰を遮断可能なフィルターと、
前記吸気口に隣接され、前記板状のフィルターを重ね合わせて収納するためのフィルター収納部と、
前記フィルター収納部内の前記フィルターを、前記吸気口を覆う位置まで移動させるための移動機構と、
を具備したことを特徴とする空調設備。
続きを表示(約 1,400 文字)
【請求項2】
筐体と、
前記筐体内に配設された熱交換器と、
前記筐体内に外気を導入するための吸気口と、
前記熱交換器を通過した後の前記外気を前記筐体外に排出するための排気口と、
を具備し、屋外に配置された空調設備であって、
複数の分割された板状であり、互いに連接されることにより前記吸気口を着脱自在に覆う火山灰を遮断可能なフィルターと、
前記吸気口に隣接され、前記板状のフィルターを重ね合わせて収納するためのフィルター収納部と、
前記フィルター収納部内の前記フィルターを、前記吸気口を覆う位置まで移動させるための移動機構と、
を具備したことを特徴とする空調設備。
【請求項3】
請求項1又は2に記載の空調設備であって、
前記複数の分割されたフィルターを前記吸気口を覆う位置まで移動させた状態において、前記分割されたフィルター間に隙間が生じないようにシーリング材を設ける
ことを特徴とする空調設備。
【請求項4】
請求項1又は2に記載の空調設備であって、
前記フィルター収納部は、前記吸気口の横方向に隣接され戸袋状の構造を有している
ことを特徴とする空調設備。
【請求項5】
請求項1又は2に記載の空調設備であって、
前記移動機構は、前記吸気口の上部及び下部にそって配設された一対のレールを具備し
ている
ことを特徴とする空調設備。
【請求項6】
筐体と、
前記筐体内に配設された熱交換器と、
前記筐体内に外気を導入するための吸気口と、
前記熱交換器を通過した後の前記外気を前記筐体外に排出するための排気口と、
を具備し、屋外に配置された冷却塔であって、
複数の分割された板状であり、互いに連接されることにより前記吸気口を着脱自在に覆う火山灰を遮断可能なフィルターと、
前記吸気口に隣接され、前記板状のフィルターを重ね合わせて収納するためのフィルター収納部と、
前記フィルター収納部内の前記フィルターを、前記吸気口を覆う位置まで移動させるための移動機構と、
を具備したことを特徴とする冷却塔。
【請求項7】
請求項6記載の冷却塔であって、
前記複数の分割されたフィルターを前記吸気口を覆う位置まで移動させた状態において、前記分割されたフィルター間に隙間が生じないようにシーリング材を設ける
ことを特徴とする冷却塔。
【請求項8】
請求項6又は7に記載の冷却塔であって、
前記フィルター収納部は、前記吸気口の横方向に隣接され戸袋状の構造を有している
ことを特徴とする冷却塔。
【請求項9】
請求項6又は7に記載の冷却塔であって、
前記吸気口及び前記排気口には、上部を覆い上部からの火山灰の進入を防止するための
火山灰避けが配設されている
ことを特徴とする冷却塔。
【請求項10】
請求項6又は7に記載の冷却塔であって、
前記移動機構は、前記吸気口の上部及び下部にそって配設された一対のレールを具備している
ことを特徴とする冷却塔。
(【請求項11】以降は省略されています)
発明の詳細な説明
【技術分野】
【0001】
本発明の実施形態は、空調設備、冷却塔及び地下変電所に関する。
続きを表示(約 1,600 文字)
【背景技術】
【0002】
都市部の市街地に設置される変電所は、一般に、建物の地下部分に設置されることが多く、地下変電所と呼ばれている。この地下変電所は、都市部の送配電において重要な設備であって、最大のものでは500kV級の設備もある。このような地下変電所は、都市部の主要機関に電力を供給している関係から、その停止は大きな混乱を招く可能性がある。
【0003】
ここで、都市部に降灰等の影響を与える可能性のある火山の噴火、例えば、富士山の噴火時における変電設備の停止は大きな混乱を招く可能性がある。その為、富士山噴火対策そのものが大きな課題として検討が進められおり、対策に対しては噴火による降灰被害対策が主な課題として検討されている。
【0004】
内閣府中央防災会議が更新した富士山噴火に伴う降灰想定シミュレーションでは、富士山噴火から2時間後には首都圏に灰が到達し、最大で10cm程度堆積する予測がされており、電力設備への影響は以下3項目が主要な検討課題となっている。
(1)火力発電設備のタービンへの支障による停止
(2)送電設備の碍子や変圧器等に灰が付着して絶縁低下し被害発生
(3)溶岩流等による基幹送変電設備の被害
【0005】
上記の検討課題では、首都圏の電力を供給の要となっている地下変電所は、変電設備が地下に設置されていることより、降灰の影響がないとの観点で検討から外れている。
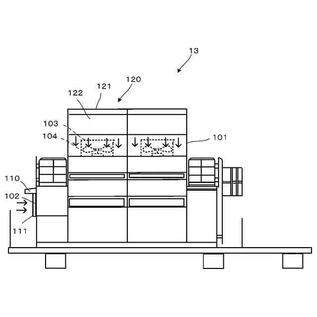
【0006】
しかしながら、都市部の地下変電所の冷却設備は、変圧器の発生熱量を屋上設置の冷却塔で水冷却している。このため、降灰により冷却塔の運転が出来ない状態に陥り、変電所停止に直結する可能性があり、都市部の地下変電所においても、上記の3項目の検討課題と同一の信頼性を要求される。
【先行技術文献】
【特許文献】
【0007】
特開2015‐142089号公報
【発明の概要】
【発明が解決しようとする課題】
【0008】
冷却塔は、冷却ファンにより外気を吸込み、熱交換器(冷却器)に送風、散水することで冷却する構造になっている。降灰時には火山灰が冷却塔の吸気口と排気口の2か所から侵入し、熱交換器のフィン部分に灰が付着することにより熱交換器部に風が通らなくなり冷却能力が大幅に低下する。さらには、散水運転により降灰がフィン内部に入り込み、冷却塔の運転不能に陥るだけではなく、フィン内部に入り込んだ降灰が硬化固着し、腐食を引き起こし、冷却塔が復旧困難な状況に陥る可能性がある。
【0009】
そこで火山灰の侵入対策として、吸気口等にフィルターを設置することが考えられる。しかしながら、いつ発生するかわからない降灰に対して冷却塔吸気口にフィルターを常時設置するということは、フィルターによる空気の圧力損失により冷却塔への送風量が低下するため、冷却能力の大幅な性能低下が課題となる。また、吸気口へのフィルター設置を常設することにより、日常の機器メンテナンスに支障をきたしたり、フィルターの目詰まりを復旧させるための清掃作業も大幅に増えるという課題も発生する。
【0010】
防災対策といえども、いつ発生するか予想できない状況において、降灰対策のフィルターを常設することは、上記の通りの問題があり設置方法の大きな課題である。一方、富士山噴火発生後、火山灰が変電所に到達するまでの間にフィルターを設置することも考えられるが、降灰による交通網停止などで混乱に拍車がかかり、変電所で作業できる人員の確保も難しく、火山灰降灰時にフィルター設置が間に合わないことが想定される。
(【0011】以降は省略されています)
この特許をJ-PlatPat(特許庁公式サイト)で参照する
関連特許
個人
集熱器具
18日前
株式会社トヨトミ
五徳
1か月前
株式会社コロナ
空調装置
3か月前
株式会社コロナ
空調装置
1か月前
株式会社コロナ
空調装置
1か月前
個人
UFO型空気清浄機
6日前
株式会社コロナ
空調装置
1か月前
株式会社コロナ
空調装置
2か月前
株式会社コロナ
空調装置
1か月前
個人
油ハネ防止カーテン
21日前
株式会社コロナ
給湯装置
3か月前
株式会社コロナ
加湿装置
2か月前
株式会社コロナ
風呂給湯機
2か月前
株式会社コロナ
空気調和機
3か月前
個人
太陽光パネル傾斜装置
1か月前
株式会社コロナ
空気調和機
3か月前
個人
住宅換気空調システム
3か月前
株式会社コロナ
温水暖房装置
1か月前
株式会社コロナ
直圧式給湯機
3か月前
株式会社コロナ
暖房システム
1か月前
個人
シンプルクーラー
1か月前
株式会社コロナ
貯湯式給湯機
2か月前
株式会社コロナ
貯湯式給湯機
1か月前
ホーコス株式会社
排気フード
3か月前
ホーコス株式会社
換気扇取付枠
2か月前
三菱電機株式会社
換気扇
1か月前
三菱電機株式会社
換気扇
1か月前
三菱電機株式会社
換気扇
1か月前
株式会社コロナ
輻射式冷房装置
3か月前
株式会社ノーリツ
温水装置
1か月前
三菱電機株式会社
送風装置
3か月前
株式会社ツインバード
加熱調理器
2か月前
個人
籾殻(そば殻)燃焼ストーブ
2か月前
株式会社パロマ
ガスコンロ
25日前
株式会社パロマ
ガスコンロ
25日前
株式会社ノーリツ
給湯装置
1か月前
続きを見る
他の特許を見る