TOP
|
特許
|
意匠
|
商標
特許ウォッチ
Twitter
他の特許を見る
公開番号
2025172137
公報種別
公開特許公報(A)
公開日
2025-11-20
出願番号
2025145205,2024001113
出願日
2025-09-02,2012-02-09
発明の名称
表示装置
出願人
株式会社半導体エネルギー研究所
代理人
主分類
H10K
50/852 20230101AFI20251113BHJP()
要約
【課題】表示装置を高い生産性で作製する技術を提供する。また、色純度のよい高精細な
表示装置を提供する。
【解決手段】カラーフィルタ層の透過中心波長により、反射性を有する電極と発光層との
光学距離を調節することで、発光層の塗り分けを行うことなく色純度のよい高精細な表示
装置を提供する。発光素子は、発光色の異なる発光層が複数積層され、反射性を有する電
極に近い発光層ほど呈する発光色の波長が短い。当該発光装置は、発光層の塗り分けを行
わずに作製されるため、生産性が高い。
【選択図】図1
特許請求の範囲
【請求項1】
単結晶半導体層を有する第1のトランジスタと、
第1の発光素子と、第2の発光素子と、第1のカラーフィルタ層と、第2のカラーフィルタ層と、充填材と、
前記第1の発光素子は、
反射性を有する材料を含む第1の層と、
前記第1の層上の、透光性を有する材料を含む第2の層と、
前記第2の層上の、第1の発光層と、
前記第1の発光層上の、第2の発光層と、
前記第2の発光層上の、透光性を有する材料を含む第3の層と、を有し、
前記第2の発光素子は、
反射性を有する材料を含む第4の層と、
前記第4の層上の、透光性を有する材料を含む第5の層と、
前記第5の層上の、前記第1の発光層と、
前記第1の発光層上の、前記第2の発光層と、
前記第2の発光層上の、前記第3の層と、を有し、
前記第1のカラーフィルタ層は、前記第1の発光素子と重なり、
前記第1のカラーフィルタ層は、可視光領域において透過率が50%以上の範囲に第1の中心波長を有し、
前記第2のカラーフィルタ層は、前記第2の発光素子と重なり、
前記第1のカラーフィルタ層は、可視光領域において透過率が50%以上の範囲に第2の中心波長を有し、
前記充填材は、前記第1の発光素子と前記第1のカラーフィルタ層との間に設けられており、
前記単結晶半導体層は、シリコン又は炭化シリコンを含み、
前記第1の層は、アルミニウム、金、白金、銀、ニッケル、タングステン、クロム、モリブデン、鉄、コバルト、銅、又はパラジウムの少なくとも一を有し、
前記第4の層は、アルミニウム、金、白金、銀、ニッケル、タングステン、クロム、モリブデン、鉄、コバルト、銅、又はパラジウムの少なくとも一を有し、
前記第2の層は、酸化インジウム、インジウム錫酸化物、酸化インジウム酸化亜鉛、酸化亜鉛、ガリウムを添加した酸化亜鉛、又はグラフェンの少なくとも一を有し、
前記充填材は、有機樹脂を有する、表示装置。
続きを表示(約 260 文字)
【請求項2】
請求項1において、
前記第1の中心波長は、前記第2の中心波長とは異なっており、
前記第1の発光素子における前記第1の発光層と前記第1の層との光学距離は、前記第2の発光素子における前記第2の発光層と前記第2の層との光学距離と異なっている、表示装置。
【請求項3】
請求項1または2において、
前記第1の発光素子における前記第1の発光層と前記第1の層との光学距離は、前記第2の発光素子における前記第1の発光層と前記第2の層との光学距離と異なっている、表示装置。
発明の詳細な説明
【技術分野】
【0001】
本発明の一形態は、エレクトロルミネセンス表示装置、及び該表示装置の作製方法に関す
る。
続きを表示(約 1,000 文字)
【背景技術】
【0002】
近年、薄型、軽量化を図った表示装置(所謂フラットパネルディスプレイ)として、エレ
クトロルミネセンス(EL;Electroluminescence、以下ELとも記
す)表示装置が注目されている。
【0003】
EL表示装置は、各画素に用いる発光素子にそれぞれ各色に発光する発光材料を用いた発
光素子を設けることで、フルカラー表示を行うことができる。
【0004】
このようなEL表示装置においては、メタルマスクを用いた蒸着法により、画素毎に微細
なパターンで異なる発光材料を塗り分けする方法が用いられている。
【0005】
しかし、メタルマスクの接触により発光素子の形状不良及び発光不良などを引き起こすお
それがあり、その対策が研究されている(例えば、特許文献1参照)。特許文献1では、
蒸着時にメタルマスクと画素電極とが接触しないように画素電極上にメタルマスクを支え
るスペーサを設ける構成が開示されている。
【先行技術文献】
【特許文献】
【0006】
特開2006-126817号公報
【発明の概要】
【発明が解決しようとする課題】
【0007】
発光材料を画素毎への塗り分ける方法では、工程が煩雑であり、歩留まりや生産性を高め
ることは難しい。
【0008】
本発明の一形態は、表示装置を高い生産性で作製する技術を提供することを課題の一とす
る。
【0009】
また、本発明の一形態は、色純度のよい高精細な表示装置を提供することを課題の一とす
る。
【課題を解決するための手段】
【0010】
本発明の一形態は、カラーフィルタ層の透過中心波長により、反射性を有する電極と発光
層との光学距離を調節することで、発光層の塗り分けを行うことなく色純度のよい高精細
な表示装置を提供する。発光素子は、発光色の異なる発光層が複数積層され、反射性を有
する電極に近い発光層ほど呈する発光色の波長が短い。より具体的には、例えば以下の構
成とする。
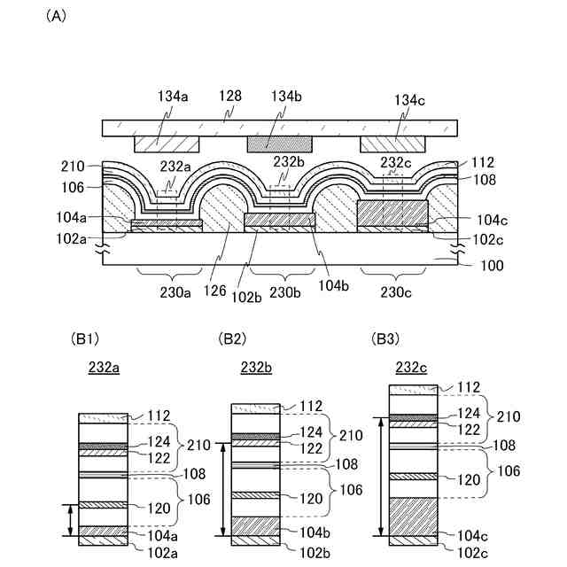
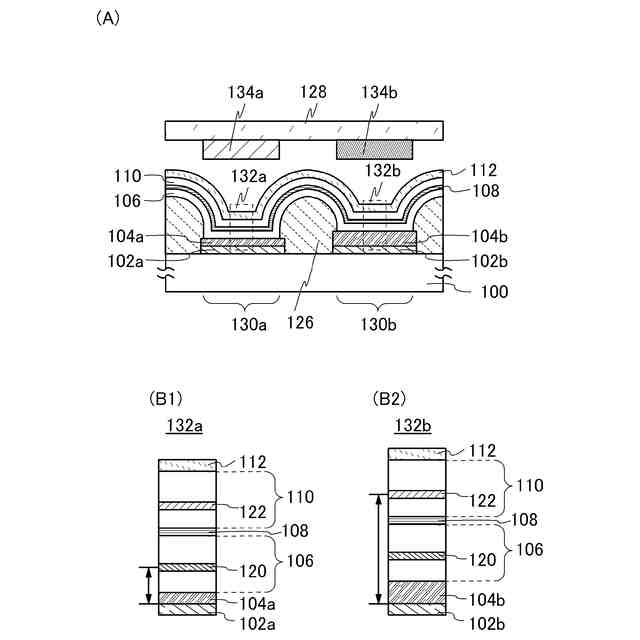
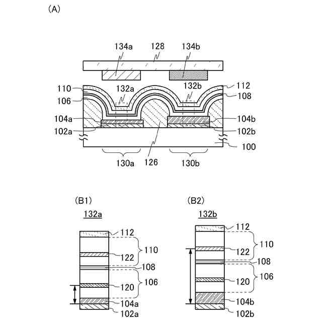
(【0011】以降は省略されています)
この特許をJ-PlatPat(特許庁公式サイト)で参照する
関連特許
個人
積和演算用集積回路
19日前
サンケン電気株式会社
半導体装置
18日前
旭化成株式会社
発光素子
28日前
日機装株式会社
半導体発光装置
13日前
三菱電機株式会社
半導体装置
5日前
株式会社東芝
半導体装置
5日前
三菱電機株式会社
半導体装置
27日前
日亜化学工業株式会社
発光装置
28日前
ローム株式会社
半導体集積回路
27日前
サンケン電気株式会社
半導体装置
5日前
ローム株式会社
半導体装置
18日前
ローム株式会社
半導体装置
1か月前
株式会社半導体エネルギー研究所
発光デバイス
26日前
株式会社半導体エネルギー研究所
発光デバイス
13日前
日亜化学工業株式会社
発光素子
18日前
日亜化学工業株式会社
発光装置
20日前
日亜化学工業株式会社
発光装置
27日前
日本ゼオン株式会社
構造体
20日前
ローム株式会社
半導体装置
5日前
日亜化学工業株式会社
発光素子
18日前
住友電気工業株式会社
炭化珪素半導体装置
29日前
住友電気工業株式会社
炭化珪素半導体装置
29日前
株式会社東芝
半導体装置及びウエーハ
27日前
ローム株式会社
半導体装置
18日前
日亜化学工業株式会社
発光装置の製造方法及び発光装置
27日前
住友電気工業株式会社
炭化珪素半導体装置
29日前
住友電気工業株式会社
炭化珪素半導体装置
29日前
シチズン電子株式会社
発光装置
18日前
住友電気工業株式会社
受光素子
18日前
京セラ株式会社
配線基板及びLEDモジュール
18日前
株式会社東芝
半導体装置及びその製造方法
26日前
株式会社トーキン
積層圧電アクチュエータ
26日前
株式会社アイシン
ペロブスカイト太陽電池
19日前
セイコーエプソン株式会社
ダイオード回路
5日前
株式会社半導体エネルギー研究所
発光デバイスおよび表示装置
18日前
豊田合成株式会社
半導体素子
18日前
続きを見る
他の特許を見る