TOP
|
特許
|
意匠
|
商標
特許ウォッチ
Twitter
他の特許を見る
10個以上の画像は省略されています。
公開番号
2025172100
公報種別
公開特許公報(A)
公開日
2025-11-20
出願番号
2025143503,2021105854
出願日
2025-08-29,2021-06-25
発明の名称
自動ドア装置及びその制御方法
出願人
ナブテスコ株式会社
代理人
個人
主分類
E05F
15/72 20150101AFI20251113BHJP(錠;鍵;窓または戸の付属品;金庫)
要約
【課題】地震の際に扉部を周辺物と衝突しにくくすることが可能な自動ドア装置及びその制御方法を提供する。
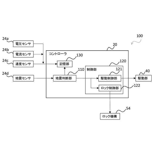
【解決手段】自動ドア装置100は、扉を開閉制御する制御部120と、地震か否かを判断する地震判断部110とを備え、制御部120は地震判断部110が地震と判断したときに扉を所定の位置に保持する制御を実行する。自動ドア装置100は、扉が開方向に移動した際に扉部に接触して開方向に沿う扉部の動きを全開位置で制限するように上下方向に並んで扉の上下方向中央よりも上側及び下側にそれぞれ配置された複数のストッパを備える。自動ドア装置100は、開方向に所定の荷重以上の荷重が加わったときに扉部に接触しない位置に移動するように構成されたストッパを備える。自動ドア装置100は、地震の判断に応答してストッパを扉部に接触しない位置に移動させるストッパ駆動制御部を備える。
【選択図】図3
特許請求の範囲
【請求項1】
扉を開閉制御する制御部と、
地震か否かを判断する地震判断部とを備え、
前記制御部は前記地震判断部が地震と判断したときに前記扉を所定の位置に保持する制御を実行する
自動ドア装置。
続きを表示(約 1,100 文字)
【請求項2】
前記所定の位置は前記扉の全開位置及び全閉位置の少なくとも一方から所定距離離れた位置であり、
前記扉を所定の位置に保持する制御は前記所定の位置に移動させた後に前記扉の位置が前記所定の位置から移動した場合に前記扉を前記所定の位置に戻す制御を含む
請求項1に記載の自動ドア装置。
【請求項3】
前記所定の位置は前記扉の全開位置又は全閉位置であり、
前記制御部の扉を所定の位置に保持する制御は前記扉が前記全開位置又は前記全閉位置に到達した後に前記扉を開方向又は閉方向に駆動させ続ける制御を含む
請求項1に記載の自動ドア装置。
【請求項4】
前記制御部は前記扉が前記全開位置に到達した後に前記扉の通常の開閉制御において前記扉を開方向に移動させるときの駆動力よりも大きい駆動力で前記扉を開方向に駆動させる
請求項3に記載の自動ドア装置。
【請求項5】
前記扉をロックするロック機構を備え、
前記扉を所定の位置に保持する制御は前記扉が前記所定の位置に到達した場合に前記扉をロックするように前記ロック機構を作動させる制御を含む
請求項1又は2に記載の自動ドア装置。
【請求項6】
前記制御部は前記扉が前記所定の位置に到達するまで前記扉の通常の開閉制御における前記扉の走行速度よりも低速で又は前記通常の開閉制御における駆動力よりも小さい駆動力で前記扉を前記所定の位置に移動させる
請求項1から5のいずれか1項に記載の自動ドア装置。
【請求項7】
前記制御部は前記扉が前記所定の位置に到達するまで前記扉が移動可能になる最低電圧よりも大きい電圧を前記扉を駆動するモータに印加することによって前記扉を前記所定の位置に移動させる
請求項6に記載の自動ドア装置。
【請求項8】
前記地震判断部が地震と判断したときの前記自動ドア装置の稼働情報を記憶する記憶部を備える
請求項1から7のいずれか1項に記載の自動ドア装置。
【請求項9】
前記地震判断部が地震と判断したときの前記自動ドア装置の稼働情報又は前記地震判断部が地震と判断したときの前記自動ドア装置の稼働情報を記憶する記憶部が記憶している情報を外部に送信する送信部を備える
請求項1から8のいずれか1項に記載の自動ドア装置。
【請求項10】
前記地震判断部が地震と判断したときに前記地震を報知する報知部を備える
請求項1から9のいずれか1項に記載の自動ドア装置。
(【請求項11】以降は省略されています)
発明の詳細な説明
【技術分野】
【0001】
本発明は、自動ドア装置及びその制御方法に関する。
続きを表示(約 1,100 文字)
【背景技術】
【0002】
特許文献1には、地震が発生した場合には、屋外への退出を速やかに行うため、ゲートを強制的に開く自動ドア装置が記載されている。
【先行技術文献】
【特許文献】
【0003】
特開2013-227829号公報
【発明の概要】
【発明が解決しようとする課題】
【0004】
従来の自動ドア装置では、地震発生時に、扉部が揺れて扉部のストッパなどの周辺物に衝突することで扉部自体に回転(踊り)が生じ、扉部の脱落や周辺物の破損が発生しやすくなるという問題があった。
【0005】
上記に鑑み、本発明の目的は、地震の際に、扉部を周辺物と衝突しにくくすることが可能な自動ドア装置及びその制御方法を提供することにある。
【課題を解決するための手段】
【0006】
上記課題を解決するために、本発明のある態様の自動ドア装置は、扉を開閉制御する制御部と、地震か否かを判断する地震判断部とを備え、前記制御部は前記地震判断部が地震と判断したときに前記扉を所定の位置に保持する制御を実行する。
【0007】
本発明の他の態様の自動ドア装置は、開閉方向に移動可能な扉を有する扉部と、前記扉が開方向に移動した際に前記扉部に接触して前記開方向に沿う前記扉部の動きを前記扉の全開位置で制限するように上下方向に並んで前記扉の上下方向中央よりも上側及び下側にそれぞれ配置された複数のストッパと、を備える。
【0008】
本発明のさらに他の態様の自動ドア装置は、開閉方向に移動可能な扉を有する扉部と、前記扉が開方向に移動した際に前記扉部に接触して前記開方向に沿う前記扉部の動きを前記扉の全開位置で制限するストッパであって、前記開方向に所定の荷重以上の荷重が加わったときに前記扉部に接触しない位置に移動するように構成されたストッパと、を備える。
【0009】
本発明のさらに他の態様の自動ドア装置は、開閉方向に移動可能な扉を有する扉部と、前記扉が開方向に移動した際に前記扉部に接触して前記開方向に沿う前記扉部の動きを前記扉の全開位置で制限するストッパと、地震か否かを判断する地震判断部と、前記ストッパを前記扉部に接触しない位置に移動させるストッパ駆動部と、前記地震の判断に応答して前記ストッパを前記扉部に接触しない位置に移動させるように前記ストッパ駆動部を制御するストッパ駆動制御部と、を備える。
【0010】
本発明のさらに他の態様の自動ドア装置の制御方法は、地震か否かを判断するステップと、前記地震の判断に応答して扉を所定の位置に保持する制御を実行するステップと、を備える。
(【0011】以降は省略されています)
この特許をJ-PlatPat(特許庁公式サイト)で参照する
関連特許
ナブテスコ株式会社
回転装置
18日前
ナブテスコ株式会社
歯車装置
1か月前
ナブテスコ株式会社
鉄道用圧縮装置
3日前
ナブテスコ株式会社
方向切換弁装置
17日前
ナブテスコ株式会社
ユニットブレーキ装置
1か月前
ナブテスコ株式会社
ドーザブレード駆動機構
16日前
ナブテスコ株式会社
空気圧縮ユニット、圧縮装置、引出治具及び機器引出方法
3日前
ナブテスコ株式会社
自動ドア装置及びその制御方法
3日前
ナブテスコ株式会社
減速機、アクチュエータ、及び、建設機械
3日前
ナブテスコ株式会社
状態推定装置、ホームドアシステム及び状態推定方法
16日前
ナブテスコ株式会社
状態推定装置、ホームドアシステム及び状態推定方法
16日前
ナブテスコ株式会社
風力発電装置の制御装置、風力発電装置用の処理回路、風力発電装置用の制御方法、及び風力発電装置用の制御プログラム
1か月前
個人
物品保管箱
3か月前
個人
防犯用ドア装置
3か月前
個人
ピンシリンダー錠。
4か月前
個人
二重ロック機能付小物入れ
3か月前
個人
顔認証による入室システム
4か月前
個人
ポスト機能付き手提げ金庫
2か月前
株式会社ベスト
軸釣装置
19日前
株式会社ソリック
ドア装置
27日前
三協立山株式会社
開口部装置
2か月前
ミサワホーム株式会社
錠受具
4か月前
リョービ株式会社
ドアクローザ
3か月前
リョービ株式会社
ドアクローザ
3か月前
個人
無人貸金庫システム
1か月前
株式会社アルファ
電気錠
3か月前
株式会社セリュール
電子錠、電気錠装置
11日前
株式会社ベスト
扉及び個室
1か月前
株式会社ベスト
開き扉の開閉装置
3か月前
株式会社セリュール
電子錠、電気錠装置
11日前
株式会社榮伸
カバン蓋の係止装置
3か月前
有限会社シティング
引き戸
2か月前
トヨタ自動車株式会社
車両
1か月前
積水ハウス株式会社
引き戸
1か月前
積水ハウス株式会社
引き戸
2か月前
美和ロック株式会社
IDキー
3か月前
続きを見る
他の特許を見る