TOP
|
特許
|
意匠
|
商標
特許ウォッチ
Twitter
他の特許を見る
10個以上の画像は省略されています。
公開番号
2025159955
公報種別
公開特許公報(A)
公開日
2025-10-22
出願番号
2024062851
出願日
2024-04-09
発明の名称
風力発電装置の制御装置、風力発電装置用の処理回路、風力発電装置用の制御方法、及び風力発電装置用の制御プログラム
出願人
ナブテスコ株式会社
代理人
個人
,
個人
主分類
F03D
7/04 20060101AFI20251015BHJP(液体用機械または機関;風力原動機,ばね原動機,重力原動機;他類に属さない機械動力または反動推進力を発生するもの)
要約
【課題】風力発電装置による発電の効率を高くする。
【解決手段】処理回路は、タワー及びナセルを相対回転可能に連結する歯車機構に対してナセルから作用するトルクに関する情報を取得するとともに、当該情報に基づいて、前記トルクに対して正に相関するトルクパラメータTを取得する処理(ステップS100,ステップS130)と、トルクパラメータTが第1閾値以上になった場合(ステップS110:YES)、モータを駆動することによって(ステップS120)、トルクパラメータTが第2閾値以下になるまで(ステップS140:YES)タワーに対してナセルを相対回転させる処理と、を実行する。
【選択図】図8
特許請求の範囲
【請求項1】
風力発電装置のタワーに対してナセルを相対回転させるモータを制御対象とする処理回路と、
前記タワー及び前記ナセルを相対回転可能に連結する歯車機構に対して前記ナセルから作用するトルクに関する情報を検出するセンサと、を備え、
前記処理回路は、前記センサの検出値に基づいて、前記モータを駆動する
風力発電装置の制御装置。
続きを表示(約 2,300 文字)
【請求項2】
風力発電装置のタワーに対してナセルを相対回転させるモータを制御対象とする処理回路と、
前記タワー及び前記ナセルを相対回転可能に連結する歯車機構に対して前記ナセルから作用するトルクに関する情報を検出するセンサと、を備え、
前記処理回路は、
前記センサの検出値に基づいて、前記トルクに対して正に相関するパラメータを取得する取得処理と、
前記パラメータが予め定められた第1閾値以上になった場合、前記モータを駆動することによって、前記パラメータが前記第1閾値よりも小さい値として予め定められた第2閾値以下になるまで前記タワーに対して前記ナセルを相対回転させる駆動処理と、
を実行する
風力発電装置の制御装置。
【請求項3】
前記センサは、前記トルクに関する情報として、前記ナセルを前記歯車機構に連結するボルトのひずみを検出する
請求項2に記載の風力発電装置の制御装置。
【請求項4】
前記センサは、前記タワーに対する前記ナセルの回転中心軸線を中心とした周方向に並んでいる複数の前記モータを前記ナセルに固定するための前記モータ毎の前記ボルトのそれぞれに対応して設けられており、
前記処理回路は、前記取得処理では、複数の前記センサの検出値を統計処理した値に基づいて、前記パラメータを取得する
請求項3に記載の風力発電装置の制御装置。
【請求項5】
前記センサを第1センサとしたとき、前記ナセルを通過する風の速度を検出する第2センサを備え、
前記タワーに対する前記ナセルの回転中心軸線を中心とした径方向のうち、前記ナセルに連結しているブレードの回転中心軸線に沿う方向を第1方向とし、前記ブレードに対する風の向きを第2方向とし、前記第1方向と前記第2方向とがなす鋭角をずれ角としたとき、
前記処理回路は、
前記トルクに関する情報と、前記風の速度と、前記ずれ角との対応関係を表した対応情報を記憶しており、
前記取得処理では、前記第1センサが検出する検出値と、前記第2センサが検出する検出値と、前記対応情報と、に基づいて、前記パラメータとして前記ずれ角を取得する
請求項2に記載の風力発電装置の制御装置。
【請求項6】
前記センサを第1センサとしたとき、前記ナセルを通過する風の速度を検出する第2センサを備え、
前記処理回路は、
前記モータに加え、前記モータの出力軸に対して制動力を付与する電磁式の電磁ブレーキと、前記タワーに対する前記ナセルの相対回転に対して制動力を付与する流体圧力式の摩擦ブレーキとを制御対象とし、
前記電磁ブレーキと前記摩擦ブレーキとのうち少なくとも一方を駆動することによって前記タワーに対する前記ナセルの相対回転を制動する制動処理と、
前記駆動処理と、を交互に行い、
前記制動処理では、前記第2センサの検出値が予め定められた設定値以下の場合、前記電磁ブレーキのみを駆動し、前記第2センサの検出値が前記設定値よりも大きい場合、前記電磁ブレーキ及び前記摩擦ブレーキの双方を駆動する
請求項2に記載の風力発電装置の制御装置。
【請求項7】
風力発電装置のタワーに対してナセルを相対回転させるモータを制御対象とし、
前記タワー及び前記ナセルを相対回転可能に連結する歯車機構に対して前記ナセルから作用するトルクに関する情報を取得するとともに、当該情報に基づいて、前記トルクに対して正に相関するパラメータを取得する取得処理と、
前記パラメータが予め定められた第1閾値以上になった場合、前記モータを駆動することによって、前記パラメータが前記第1閾値よりも小さい値として予め定められた第2閾値以下になるまで前記タワーに対して前記ナセルを相対回転させる駆動処理と、
を実行する
風力発電装置用の処理回路。
【請求項8】
風力発電装置のタワーに対してナセルを相対回転させるモータを制御対象とする処理回路に、
前記タワー及び前記ナセルを相対回転可能に連結する歯車機構に対して前記ナセルから作用するトルクに関する情報を取得するとともに、当該情報に基づいて、前記トルクに対して正に相関するパラメータを取得する取得処理と、
前記パラメータが予め定められた第1閾値以上になった場合、前記モータを駆動することによって、前記パラメータが前記第1閾値よりも小さい値として予め定められた第2閾値以下になるまで前記タワーに対して前記ナセルを相対回転させる駆動処理と、
を実行させる
風力発電装置用の制御方法。
【請求項9】
風力発電装置のタワーに対してナセルを相対回転させるモータを制御対象とする処理回路に、
前記タワー及び前記ナセルを相対回転可能に連結する歯車機構に対して前記ナセルから作用するトルクに関する情報を取得するとともに、当該情報に基づいて、前記トルクに対して正に相関するパラメータを取得する取得処理と、
前記パラメータが予め定められた第1閾値以上になった場合、前記モータを駆動することによって、前記パラメータが前記第1閾値よりも小さい値として予め定められた第2閾値以下になるまで前記タワーに対して前記ナセルを相対回転させる駆動処理と、
を実行させる
風力発電装置用の制御プログラム。
発明の詳細な説明
【技術分野】
【0001】
この発明は、風力発電装置の制御装置、風力発電装置用の処理回路、風力発電装置用の制御方法、及び風力発電装置用の制御プログラムに関する。
続きを表示(約 2,300 文字)
【背景技術】
【0002】
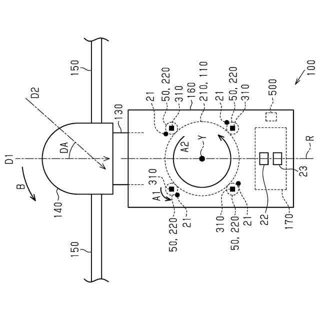
特許文献1に開示されている風力発電装置は、タワーと、ナセルと、ハブと、複数のブレードと、風向計と、を備えている。ナセルは、タワーの上端に連結している。ナセルは、ヨー軸を中心として回転可能である。ヨー軸は、タワーの中心軸線と一致している。ナセルは、発電機を収容している。ハブは、発電機の入力軸に連結している。ハブは、ヨー軸と直交するロール軸を中心として回転可能である。複数のブレードは、ハブに連結している。複数のブレードは、ハブと一体回転する。風向計は、ナセルに取り付けられている。
【先行技術文献】
【特許文献】
【0003】
特開2021-93900号公報
【発明の概要】
【発明が解決しようとする課題】
【0004】
特許文献1のような風力発電装置では、ブレードに対する風の向きとロール軸の延伸方向とが略一致している場合に発電の効率が高くなる。この点を考慮し、ヨー軸を中心とするナセルの回転位置は、ブレードに対する風の向きとロール軸の延伸方向とが一致するように調整されることが好ましい。このようにしてナセルの回転位置を調整するにあたって、風向計の計測結果を利用することが考えられる。しかし、風向計は、ブレードに対して風下に位置している。そのため、風向計に至る風は、ブレードを通過する際に乱れたり向きが変わったりし得る。したがって、風向計の計測結果は、ブレードが受ける実際の風の向きを正確に反映しているとは限らない。
【課題を解決するための手段】
【0005】
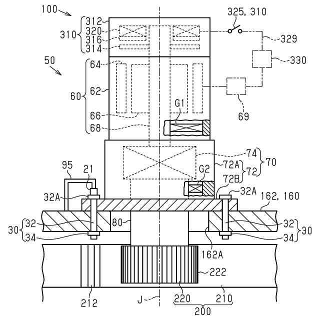
上記課題を解決するための風力発電装置の制御装置は、風力発電装置のタワーに対してナセルを相対回転させるモータを制御対象とする処理回路と、前記タワー及び前記ナセルを相対回転可能に連結する歯車機構に対して前記ナセルから作用するトルクに関する情報を検出するセンサと、を備え、前記処理回路は、前記センサの検出値に基づいて、前記モータを駆動する。
【0006】
上記課題を解決するための風力発電装置の制御装置は、風力発電装置のタワーに対してナセルを相対回転させるモータを制御対象とする処理回路と、前記タワー及び前記ナセルを相対回転可能に連結する歯車機構に対して前記ナセルから作用するトルクに関する情報を検出するセンサと、を備え、前記処理回路は、前記センサの検出値に基づいて、前記トルクに対して正に相関するパラメータを取得する取得処理と、前記パラメータが予め定められた第1閾値以上になった場合、前記モータを駆動することによって、前記パラメータが前記第1閾値よりも小さい値として予め定められた第2閾値以下になるまで前記タワーに対して前記ナセルを相対回転させる駆動処理と、を実行する。
【0007】
ナセルから歯車機構に作用するトルクは、ナセルに連結されるブレードが受ける風の向きと、ブレードの回転中心軸線と、のずれを反映している。上記の各制御装置では、こうしたトルクに基づいてナセルを回転させることで、ブレードが受ける風の向きに合わせて、上記ずれを小さくできる。よって、風力発電装置による発電の効率が高くなる。
【0008】
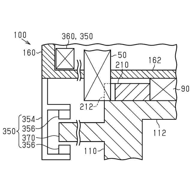
風力発電装置の制御装置において、前記センサは、前記トルクに関する情報として、前記ナセルを前記歯車機構に連結するボルトのひずみを検出してもよい。
風力発電装置の制御装置において、前記センサは、前記タワーに対する前記ナセルの回転中心軸線を中心とした周方向に並んでいる複数の前記モータを前記ナセルに固定するための前記モータ毎の前記ボルトのそれぞれに対応して設けられており、前記処理回路は、前記取得処理では、複数の前記センサの検出値を統計処理した値に基づいて、前記パラメータを取得してもよい。
【0009】
風力発電装置の制御装置において、前記センサを第1センサとしたとき、前記ナセルを通過する風の速度を検出する第2センサを備え、前記タワーに対する前記ナセルの回転中心軸線を中心とした径方向のうち、前記ナセルに連結しているブレードの回転中心軸線に沿う方向を第1方向とし、前記ブレードに対する風の向きを第2方向とし、前記第1方向と前記第2方向とがなす鋭角をずれ角としたとき、前記処理回路は、前記トルクに関する情報と、前記風の速度と、前記ずれ角との対応関係を表した対応情報を記憶しており、前記取得処理では、前記第1センサが検出する検出値と、前記第2センサが検出する検出値と、前記対応情報と、に基づいて、前記パラメータとして前記ずれ角を取得してもよい。
【0010】
風力発電装置の制御装置において、前記センサを第1センサとしたとき、前記ナセルを通過する風の速度を検出する第2センサを備え、前記処理回路は、前記モータに加え、前記モータの出力軸に対して制動力を付与する電磁式の電磁ブレーキと、前記タワーに対する前記ナセルの相対回転に対して制動力を付与する流体圧力式の摩擦ブレーキとを制御対象とし、前記電磁ブレーキと前記摩擦ブレーキとのうち少なくとも一方を駆動することによって前記タワーに対する前記ナセルの相対回転を制動する制動処理と、前記駆動処理と、を交互に行い、前記制動処理では、前記第2センサの検出値が予め定められた設定値以下の場合、前記電磁ブレーキのみを駆動し、前記第2センサの検出値が前記設定値よりも大きい場合、前記電磁ブレーキ及び前記摩擦ブレーキの双方を駆動してもよい。
(【0011】以降は省略されています)
この特許をJ-PlatPat(特許庁公式サイト)で参照する
関連特許
ナブテスコ株式会社
回転装置
18日前
ナブテスコ株式会社
回転装置
1か月前
ナブテスコ株式会社
歯車装置
1か月前
ナブテスコ株式会社
方向切換弁装置
17日前
ナブテスコ株式会社
鉄道用圧縮装置
3日前
ナブテスコ株式会社
主機制御システム
1か月前
ナブテスコ株式会社
回転装置及び歯車装置
1か月前
ナブテスコ株式会社
ユニットブレーキ装置
1か月前
ナブテスコ株式会社
ドーザブレード駆動機構
16日前
ナブテスコ株式会社
駆動装置及び位置調整装置
2か月前
ナブテスコ株式会社
主機制御システム及び航行支援装置
1か月前
ナブテスコ株式会社
保持器、転がり軸受、及び回転装置
1か月前
ナブテスコ株式会社
推進装置制御システム、航行支援装置
1か月前
ナブテスコ株式会社
推進装置制御システムおよび航行支援装置
1か月前
ナブテスコ株式会社
推進装置制御システムおよび航行支援装置
1か月前
ナブテスコ株式会社
ワークポジショナ及びワークポジショナの設置方法
2か月前
ナブテスコ株式会社
空気圧縮ユニット、圧縮装置、引出治具及び機器引出方法
3日前
ナブテスコ株式会社
自動ドア装置、表示装置、表示制御方法、及び表示制御プログラム
3か月前
ナブテスコ株式会社
自動ドア装置及びその制御方法
3日前
ナブテスコ株式会社
減速機、アクチュエータ、及び、建設機械
3日前
ナブテスコ株式会社
状態推定装置、ホームドアシステム及び状態推定方法
16日前
ナブテスコ株式会社
状態推定装置、ホームドアシステム及び状態推定方法
16日前
ナブテスコ株式会社
風力発電装置の制御装置、風力発電装置用の処理回路、風力発電装置用の制御方法、及び風力発電装置用の制御プログラム
1か月前
個人
風力発電機
3か月前
個人
風車用回転翼
3か月前
個人
磁力スロープ
3か月前
個人
波力発電装置
4か月前
個人
小水力発電器
1か月前
個人
サボニウス風車
1か月前
個人
折り畳み式風車
3か月前
個人
風力発電装置
3か月前
個人
閉空間推進移動装置
3か月前
東レ株式会社
風車ブレード
2か月前
個人
水力発電用水の循環活動
1か月前
個人
水中での上下動による発電
4日前
Orbray株式会社
発電装置
16日前
続きを見る
他の特許を見る