TOP
|
特許
|
意匠
|
商標
特許ウォッチ
Twitter
他の特許を見る
公開番号
2025146438
公報種別
公開特許公報(A)
公開日
2025-10-03
出願番号
2024047201
出願日
2024-03-22
発明の名称
回転装置
出願人
ナブテスコ株式会社
代理人
個人
,
個人
,
個人
,
個人
主分類
F16H
1/32 20060101AFI20250926BHJP(機械要素または単位;機械または装置の効果的機能を生じ維持するための一般的手段)
要約
【課題】簡素な構造で転動体の位置を規制できる回転装置を提供する。
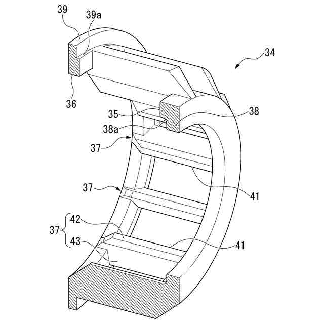
【解決手段】実施形態の減速装置1は、偏心部軸受19と、偏心部軸受19が嵌め合わさるクランクシャフト13及び揺動外歯歯車15,16と、を備える。偏心部軸受19は、内輪31と、内輪31の径方向の外側に配置される外輪32と、内輪31と外輪32との間に配置される複数の転動体33と、複数の転動体33を保持する保持器34と、を備える。保持器34は、内輪31及び外輪32の少なくともいずれか一方の軸方向の端部よりも軸方向の外側に突出形成された内フランジ部38や外フランジ部39を有する。内フランジ部38や外フランジ部39は、軸方向からみて内輪31や外輪32と重なっている。
【選択図】図2
特許請求の範囲
【請求項1】
軸受と、
前記軸受が嵌め合わさる回転体と、
を備え、
前記軸受は、
内輪と、
前記内輪の径方向の外側に配置される外輪と、
前記内輪と前記外輪との間に配置される複数の転動体と、
前記複数の転動体を保持する保持器と、
を備え、
前記保持器は、前記内輪及び前記外輪の少なくともいずれか一方の軸方向の端部よりも軸方向の外側に突出形成された凸部を有し、
前記凸部は、軸方向からみて前記内輪及び前記外輪の少なくともいずれか一方と重なっている、
回転装置。
続きを表示(約 1,800 文字)
【請求項2】
前記保持器は、
環状の小径リングと、
前記小径リングの径方向の外側に配置される環状の大径リングと、
前記小径リングと前記大径リングとを連結するように径方向に延びる柱部と、
を備え、
前記凸部は前記小径リングから径方向の内側に張り出す内フランジ部を含み、
前記内フランジ部の内径は前記内輪の外径よりも小さい、
請求項1に記載の回転装置。
【請求項3】
前記保持器は、
環状の小径リングと、
前記小径リングの径方向の外側に配置される環状の大径リングと、
前記小径リングと前記大径リングとを連結するように径方向に延びる柱部と、
を備え、
前記凸部は前記大径リングから径方向の外側に張り出す外フランジ部を含み、
前記外フランジ部の外径は前記外輪の内径よりも大きい、
請求項1又は請求項2に記載の回転装置。
【請求項4】
内歯歯車を有するケースと、
前記ケースに回転自在に支持されるキャリアと、
前記キャリアに他の軸受を介して回転自在に支持されたシャフト本体及び前記シャフト本体に設けられて前記シャフト本体の回転軸線に対して偏心した偏心部を有する少なくとも1本のクランクシャフトと、
前記偏心部に前記軸受を介して回転自在に支持されるとともに前記内歯歯車に噛合わされる揺動外歯歯車と、
を備え、
前記内輪は、前記偏心部と一体化されており、
前記凸部は、軸方向からみて前記内輪と重なっている、
請求項1に記載の回転装置。
【請求項5】
前記凸部は、前記他の軸受と前記偏心部との間に配置されている、
請求項4に記載の回転装置。
【請求項6】
前記クランクシャフトの外周面に形成された凹部を有し、
前記凸部は、前記凹部に配置されている、
請求項5に記載の回転装置。
【請求項7】
内歯歯車を有するケースと、
前記ケースに回転自在に支持されるキャリアと、
前記キャリアに他の軸受を介して回転自在に支持されたシャフト本体及び前記シャフト本体に設けられて前記シャフト本体の回転軸線に対して偏心した偏心部を有する少なくとも1本のクランクシャフトと、
前記偏心部に前記軸受を介して回転自在に支持されるとともに前記内歯歯車に噛合わされる揺動外歯歯車と、
を備え、
前記外輪は、前記揺動外歯歯車と一体化されており、
前記凸部は、軸方向からみて前記外輪と重なっている、
請求項1に記載の回転装置。
【請求項8】
前記揺動外歯歯車を複数備え、
前記凸部は、軸方向で隣り合う前記揺動外歯歯車の間に配置されている、
請求項4又は請求項7に記載の回転装置。
【請求項9】
前記保持器は、樹脂により形成されている、
請求項1に記載の回転装置。
【請求項10】
内歯歯車を有するケースと、
前記ケースに回転自在に支持されるキャリアと、
前記キャリアに回転自在に支持されたシャフト本体及び前記シャフト本体に設けられて前記シャフト本体の回転軸線に対して偏心した偏心部を有する少なくとも1本のクランクシャフトと、
前記偏心部に軸受を介して回転自在に支持されるとともに前記内歯歯車に噛合わされる揺動外歯歯車と、
を備え、
前記軸受は、
内輪と、
前記内輪の径方向の外側に配置される外輪と、
前記内輪と前記外輪との間に配置される複数の転動体と、
前記複数の転動体を保持する保持器と、
を備え、
前記保持器は、
環状の小径リングと、
前記小径リングの径方向の外側に配置される環状の大径リングと、
前記小径リングと前記大径リングとを連結するように径方向に延びる柱部と、
前記小径リング及び前記大径リングの少なくともいずれか一方から前記内輪及び前記外輪の少なくともいずれか一方の軸方向の端部よりも軸方向の外側に突出形成された凸部と、
を備え、
前記凸部は、軸方向からみて前記内輪及び前記外輪の少なくともいずれか一方と重なっている、
回転装置。
発明の詳細な説明
【技術分野】
【0001】
本発明は、回転装置に関する。
続きを表示(約 1,600 文字)
【背景技術】
【0002】
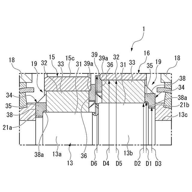
回転装置の中には、例えば電動モータ等からの回転が入力され、この回転を減速又は増速して出力する減速装置がある。減速装置の中には、例えば回転位置精度や耐荷重性の高い偏心揺動型の減速装置がある。この種の減速装置は、例えば内周面に内歯歯車が形成されたケースと、内歯歯車に噛合わされるとともに揺動回転される揺動外歯歯車(遊星歯車)と、揺動外歯歯車を回転自在に支持する偏心部を有するとともに、揺動外歯歯車に回転力を伝達するクランクシャフト(偏心軸)と、クランクシャフトを回転自在に支持するとともに揺動外歯歯車の回転力が伝達されるキャリア(キャリアフランジ、出力フランジ)と、を備える。
【0003】
クランクシャフトには、偏心部よりも軸方向の外側に、キャリアに回転自在に支持されるための主軸受(第1ベアリング、第2ベアリング)が設けられている。偏心部には、揺動外歯歯車を回転自在に支持するための偏心部軸受(偏心体軸受)が設けられている。これら軸受は、内輪と、内輪の径方向の外側に配置される外輪と、内輪と外輪との間に配置される複数の転動体と、転動体を保持する保持器と、を備える。偏心部軸受の中には、構造を簡素化するために内輪と偏心部とを一体成形するものがある(例えば、特許文献1参照)。
このものは、主軸受と偏心部軸受との間に設けられたスペーサを備える。スペーサは、偏心部軸受のうちの保持器の押さえとして機能する。この結果、保持器に保持される転動体の位置が規制される。
【先行技術文献】
【特許文献】
【0004】
特開2023-55060号公報
【発明の概要】
【発明が解決しようとする課題】
【0005】
上述の従来技術のように、転動体の位置を規制するためにスペーサを用いると、部品点数が増加して構造が複雑化してしまう課題があった。
【0006】
本発明は、簡素な構造で転動体の位置を規制できる回転装置を提供する。
【課題を解決するための手段】
【0007】
本発明の一態様に係る回転装置は、軸受と、前記軸受が嵌め合わさる回転体と、を備え、前記軸受は、内輪と、前記内輪の径方向の外側に配置される外輪と、前記内輪と前記外輪との間に配置される複数の転動体と、前記複数の転動体を保持する保持器と、を備え、前記保持器は、前記内輪及び前記外輪の少なくともいずれか一方の軸方向の端部よりも軸方向の外側に突出形成された凸部を有し、前記凸部は、軸方向からみて前記内輪及び前記外輪の少なくともいずれか一方と重なっている。
【0008】
このように構成することで、凸部によって内輪や外輪に対する保持器の位置を規制できる。この結果、転動体の位置を規制できる。転動体の位置を規制するためにスペーサ等の軸受以外の部品を用意する必要が無いので、回転装置の構造を簡素化できる。
【0009】
上記構成において、前記保持器は、環状の小径リングと、前記小径リングの径方向の外側に配置される環状の大径リングと、前記小径リングと前記大径リングとを連結するように径方向に延びる柱部と、を備え、前記凸部は前記小径リングから径方向の内側に張り出す内フランジ部を含み、前記内フランジ部の内径は前記内輪の外径よりも小さくてもよい。
【0010】
上記構成において、前記保持器は、環状の小径リングと、前記小径リングの径方向の外側に配置される環状の大径リングと、前記小径リングと前記大径リングとを連結するように径方向に延びる柱部と、を備え、前記凸部は前記大径リングから径方向の外側に張り出す外フランジ部を含み、前記外フランジ部の外径は前記外輪の内径よりも大きくてもよい。
(【0011】以降は省略されています)
この特許をJ-PlatPat(特許庁公式サイト)で参照する
関連特許
ナブテスコ株式会社
ユニットブレーキ装置
1日前
個人
鍋虫ねじ
1か月前
個人
回転伝達機構
2か月前
個人
紛体用仕切弁
1か月前
個人
ホース保持具
5か月前
個人
差動歯車用歯形
3か月前
個人
トーションバー
6か月前
個人
ジョイント
22日前
個人
給排気装置
4日前
株式会社不二工機
電磁弁
4か月前
個人
ナット
23日前
個人
回転式配管用支持具
7か月前
株式会社不二工機
電磁弁
3か月前
個人
ボルトナットセット
6か月前
個人
地震の揺れ回避装置
2か月前
個人
吐出量監視装置
1か月前
株式会社三協丸筒
枠体
6か月前
柿沼金属精機株式会社
分岐管
1か月前
カヤバ株式会社
ダンパ
3か月前
カヤバ株式会社
ダンパ
3か月前
カヤバ株式会社
緩衝器
3か月前
カヤバ株式会社
緩衝器
3か月前
個人
ベルトテンショナ
7か月前
カヤバ株式会社
緩衝器
7か月前
カヤバ株式会社
緩衝器
3日前
株式会社奥村組
制振機構
12日前
株式会社不二工機
電動弁
6か月前
株式会社不二工機
電磁弁
1か月前
アズビル株式会社
回転弁
16日前
個人
固着具と固着具の固定方法
4か月前
株式会社ノーリツ
分配弁
5か月前
株式会社奥村組
制振機構
12日前
株式会社ノーリツ
分配弁
5か月前
日東精工株式会社
樹脂被覆ねじ
7か月前
株式会社ノーリツ
分配弁
5か月前
個人
角型菅の連結構造及び工法
7か月前
続きを見る
他の特許を見る