TOP
|
特許
|
意匠
|
商標
特許ウォッチ
Twitter
他の特許を見る
10個以上の画像は省略されています。
公開番号
2025168519
公報種別
公開特許公報(A)
公開日
2025-11-07
出願番号
2025146833,2021123994
出願日
2025-09-04,2021-07-29
発明の名称
状態推定装置、ホームドアシステム及び状態推定方法
出願人
ナブテスコ株式会社
代理人
個人
主分類
B61B
1/02 20060101AFI20251030BHJP(鉄道)
要約
【課題】ホームドア装置の駆動機構の状態を精度良く推定することが可能な状態推定装置を提供する。
【解決手段】本発明は、プラットホーム上の乗降口を開閉する開閉部材を駆動する駆動機構13を含むホームドア装置の状態推定装置であって、駆動機構13により開閉部材が駆動された所定時点における駆動機構13の駆動データを取得する駆動データ取得部112と、所定時点における、プラットホーム及び駆動機構13の少なくとも一方の他方に対する傾斜角、プラットホーム及び駆動機構13の少なくとも一方の伸縮量、捻じれ量、プラットホーム上の風速、並びにプラットホーム上の振動量の少なくとも1つを示す外乱データを取得する外乱データ取得部113と、所定時点に取得された駆動データ及び外乱データに基づいて駆動機構13の状態を推定する状態推定部130と、を含む、状態推定装置。
【選択図】図4
特許請求の範囲
【請求項1】
プラットホーム上の乗降口を開閉する開閉部材を駆動する駆動機構を含むホームドア装置の状態推定装置であって、
前記駆動機構により前記開閉部材が駆動された所定時点における前記駆動機構の駆動データを取得する駆動データ取得部と、
前記所定時点における、前記プラットホーム及び前記駆動機構の少なくとも一方の他方に対する傾斜角、前記プラットホーム及び前記駆動機構の少なくとも一方の伸縮量、捻じれ量、前記プラットホーム上の風速、並びに前記プラットホーム上の振動量の少なくとも1つを示す外乱データを取得する外乱データ取得部と、
前記所定時点に取得された前記駆動データ及び前記外乱データに基づいて前記駆動機構の状態を推定する状態推定部と、
を備える、状態推定装置。
続きを表示(約 1,500 文字)
【請求項2】
前記駆動機構はモータと前記モータの出力軸に設けられたプーリとを備え、
前記外乱データは前記プーリに取り付けられた歪みセンサの測定値を示す、
請求項1に記載の状態推定装置。
【請求項3】
前記外乱データは前記プラットホーム及び前記駆動機構の少なくとも一方についての前記開閉部材の開閉方向の軸周りの捻じれ量を示す、
請求項1又は2に記載の状態推定装置。
【請求項4】
前記開閉部材は扉体であり、
前記駆動機構は、前記扉体に駆動力を供給するモータと、前記モータの出力軸に設けられたプーリと、前記プーリに掛け回されるベルトと、前記ベルトと前記扉体とを連結する連結部材と、を備え、
前記外乱データは前記連結部材に取り付けられた歪みセンサの測定値を示す、
請求項1から3のいずれか1項に記載の状態推定装置。
【請求項5】
前記開閉部材は扉体であり、
前記駆動機構は、前記扉体及び前記プラットホームの一方に取り付けられるガイドブロックと、前記扉体及び前記プラットホームの他方に取り付けられるリニアレールと、を備え、
前記外乱データは前記ガイドブロック及び前記リニアレールの少なくとも一方に取り付けられた傾斜センサ及び歪みセンサの少なくとも一方の測定値を示す、
請求項1から4のいずれか1項に記載の状態推定装置。
【請求項6】
前記開閉部材は扉体であり、
前記扉体が全閉位置又は全開位置に到達したことを示す全閉位置信号又は全開位置信号位置信号を取得する位置信号取得部を更に備え、
前記外乱データ取得部は前記全閉位置信号又は前記全開位置信号位置信号の取得に応じて前記外乱データを取得する、
請求項1から5のいずれか1項に記載の状態推定装置。
【請求項7】
前記ホームドア装置と通信可能な外部装置から前記開閉部材を開駆動又は閉駆動させるための開指令又は閉指令を取得する開閉指令取得部をさらに備え、
前記外乱データ取得部は前記開指令又は前記閉指令の取得に応じて前記外乱データを取得する、
請求項1から6のいずれか1項に記載の状態推定装置。
【請求項8】
前記開閉部材は扉体であり、
前記外乱データは前記風速を示し、
前記状態推定部は前記扉体の面積と前記風速を示す外乱データとに基づいて前記駆動機構の状態を推定する、
請求項1から7のいずれか1項に記載の状態推定装置。
【請求項9】
前記状態推定部は第1時点で取得された前記駆動データおよび前記外乱データと前記第1時点より後の第2時点で取得された前記駆動データおよび前記外乱データとの比較結果に基づいて前記第2時点の前記駆動機構の状態を推定する、
請求項1から8のいずれか1項に記載の状態推定装置。
【請求項10】
同じ時点で取得された前記駆動データと前記外乱データとを対応付けて記憶する記憶部をさらに備え、
前記状態推定部は、前記記憶部に記憶された前記外乱データの中から前記第2時点で取得された外乱データとの乖離が所定の範囲内である前記第1時点で取得された外乱データを特定し、特定された前記外乱データと対応付けて記憶されている前記第1時点で取得された駆動データと前記第2時点で取得された駆動データとの比較結果に基づいて前記第2時点の前記駆動機構の状態を推定する、
請求項9に記載の状態推定装置。
(【請求項11】以降は省略されています)
発明の詳細な説明
【技術分野】
【0001】
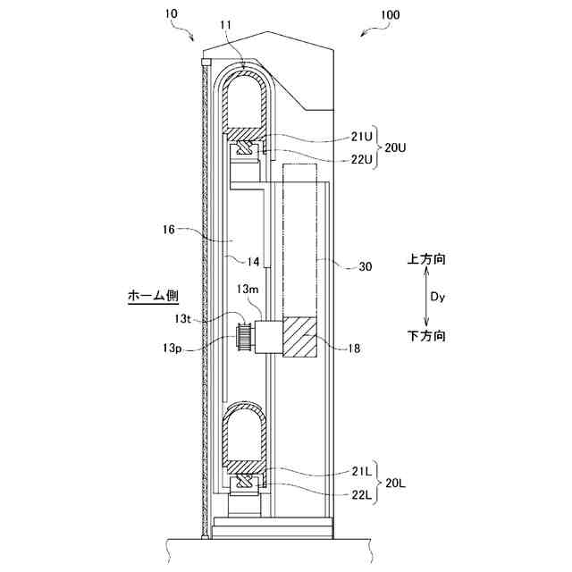
本発明は、ホームドア装置の状態推定装置、ホームドアシステム及び状態推定方法に関する。
続きを表示(約 1,900 文字)
【背景技術】
【0002】
特許文献1には、鉄道車両の乗降口を開閉するためのドア装置の状態監視技術が開示されている。具体的には、特許文献1に記載の技術は、ドアを開閉するためのモータの電流プロファイルを記録し、当該電流値が許容範囲外となった場合に、ドア装置が潜在的な障害状態である旨を報知する。
【先行技術文献】
【特許文献】
【0003】
米国特許公開第2017/0310261号
【発明の概要】
【発明が解決しようとする課題】
【0004】
ホームドア装置は、太陽光の照射状況、雨風の影響、気温、風等による外乱を受ける場合がある。この外乱の影響により、ドアの駆動機構にかかる負荷が変化する結果、例えば駆動機構におけるモータの電流値等も変化する。一方で、特許文献1に記載のような従来技術では、例えば、電流値が許容範囲外になった場合に、実際にはその原因が外乱の影響によるものであってとしても、駆動機構の状態に起因するものと誤判断してしまう場合があった。そのため、駆動機構の状態の推定精度の面で改善の余地があった。
【0005】
上記課題を鑑みて、本発明の目的は、ホームドア装置の駆動機構の状態を精度良く推定することが可能な技術を提供することにある。
【課題を解決するための手段】
【0006】
上記課題を解決するために、本発明の一態様に係る状態推定装置は、プラットホーム上の乗降口を開閉する開閉部材を駆動する駆動機構を含むホームドア装置の状態推定装置であって、前記駆動機構により前記開閉部材が駆動された所定時点における前記駆動機構の駆動データを取得する駆動データ取得部と、前記所定時点における、前記プラットホーム及び前記駆動機構の少なくとも一方の他方に対する傾斜角、前記プラットホーム及び前記駆動機構の少なくとも一方の伸縮量、捻じれ量、前記プラットホーム上の風速、並びに前記プラットホーム上の振動量の少なくとも1つを示す外乱データを取得する外乱データ取得部と、前記所定時点に取得された前記駆動データ及び前記外乱データに基づいて前記駆動機構の状態を推定する状態推定部と、を備える。
【0007】
本発明の他の態様に係るホームドアシステムは、プラットホーム上の乗降口を開閉する開閉部材を駆動する駆動機構を含むホームドア装置と、前記ホームドア装置と通信可能な外部装置と、を備えるホームドアシステムであって、前記ホームドア装置は、前記駆動機構により前記開閉部材が駆動された所定時点における前記駆動機構の駆動データを取得する駆動データ取得部と、前記所定時点における、前記プラットホーム及び前記駆動機構の少なくとも一方の他方に対する傾斜角、前記プラットホーム及び前記駆動機構の少なくとも一方の伸縮量、捻じれ量、前記プラットホーム上の風速、並びに前記プラットホーム上の振動量の少なくとも1つを示す外乱データを取得する外乱データ取得部と、取得した前記駆動データおよび前記外乱データを前記外部装置に送信する送信部と、を備え、前記外部装置は、前記駆動データおよび前記外乱データを前記ホームドア装置から受信する受信部と、受信された前記駆動データ及び前記外乱データに基づいて前記駆動機構の状態を推定する状態推定部と、を備える。
【0008】
本発明のさらに他の態様に係る状態推定方法は、プラットホーム上の乗降口を開閉する開閉部材を駆動する駆動機構を含むホームドア装置の状態推定方法であって、前記駆動機構により前記開閉部材が駆動された所定時点における前記駆動機構の駆動データを取得するステップと、前記所定時点における、前記プラットホーム及び前記駆動機構の少なくとも一方の他方に対する傾斜角、前記プラットホーム及び前記駆動機構の少なくとも一方の伸縮量、捻じれ量、前記プラットホーム上の風速、並びに前記プラットホーム上の振動量の少なくとも1つを示す外乱データを取得するステップと、前記所定時点に取得された前記駆動データ及び前記外乱データに基づいて前記駆動機構の状態を推定するステップと、を含む。
【0009】
なお、以上の任意の組み合わせや、本発明の構成要素や表現を方法、装置、プログラム、プログラムを記録した一時的なまたは一時的でない記憶媒体、システムなどの間で相互に置換したものもまた、本発明の態様として有効である。
【発明の効果】
【0010】
本発明によれば、ホームドア装置の駆動機構の状態を精度良く推定することが可能となる。
【図面の簡単な説明】
(【0011】以降は省略されています)
この特許をJ-PlatPat(特許庁公式サイト)で参照する
関連特許
ナブテスコ株式会社
回転装置
5日前
ナブテスコ株式会社
歯車装置
17日前
ナブテスコ株式会社
方向切換弁装置
4日前
ナブテスコ株式会社
ユニットブレーキ装置
1か月前
ナブテスコ株式会社
回転装置及び歯車装置
1か月前
ナブテスコ株式会社
ドーザブレード駆動機構
3日前
ナブテスコ株式会社
保持器、転がり軸受、及び回転装置
1か月前
ナブテスコ株式会社
状態推定装置、ホームドアシステム及び状態推定方法
3日前
ナブテスコ株式会社
状態推定装置、ホームドアシステム及び状態推定方法
3日前
ナブテスコ株式会社
風力発電装置の制御装置、風力発電装置用の処理回路、風力発電装置用の制御方法、及び風力発電装置用の制御プログラム
19日前
日本信号株式会社
ホーム柵
2か月前
日本信号株式会社
ホーム柵
2か月前
日本信号株式会社
検査装置
10か月前
日本信号株式会社
検査装置
11日前
個人
車両及び走行システム
6か月前
近畿車輌株式会社
耐火床構造
1か月前
日本信号株式会社
ホーム柵装置
7か月前
日本車輌製造株式会社
鉄道車両
1か月前
近畿車輌株式会社
鉄道車両の床構造
11か月前
川崎車両株式会社
鉄道車両用パネル
8か月前
保線機器整備株式会社
保線用カート
9か月前
ナブテスコ株式会社
ホームドア装置
3か月前
日本車輌製造株式会社
台車組立装置
5か月前
カヤバ株式会社
鉄道車両用制振装置
10か月前
近畿車輌株式会社
鉄道車両の床構造
11か月前
近畿車輌株式会社
鉄道車両の床構造
11か月前
日本信号株式会社
列車接近警報装置
3か月前
日本信号株式会社
ホームドア制御装置
4か月前
株式会社東芝
台車搬送装置
1か月前
株式会社ダイフク
搬送車
5か月前
日本信号株式会社
ホーム安全システム
7か月前
日本ケーブル株式会社
索道の支索引留め装置
3か月前
日本信号株式会社
物体検知装置
7か月前
日本信号株式会社
踏切道監視システム
11か月前
日本信号株式会社
列車接近警報システム
18日前
株式会社ダイフク
搬送設備
6か月前
続きを見る
他の特許を見る