TOP
|
特許
|
意匠
|
商標
特許ウォッチ
Twitter
他の特許を見る
10個以上の画像は省略されています。
公開番号
2025161189
公報種別
公開特許公報(A)
公開日
2025-10-24
出願番号
2024064171
出願日
2024-04-11
発明の名称
歯車装置
出願人
ナブテスコ株式会社
代理人
個人
,
個人
,
個人
,
個人
主分類
F16H
1/32 20060101AFI20251017BHJP(機械要素または単位;機械または装置の効果的機能を生じ維持するための一般的手段)
要約
【課題】確実に駆動効率を向上できる歯車装置を提供する。
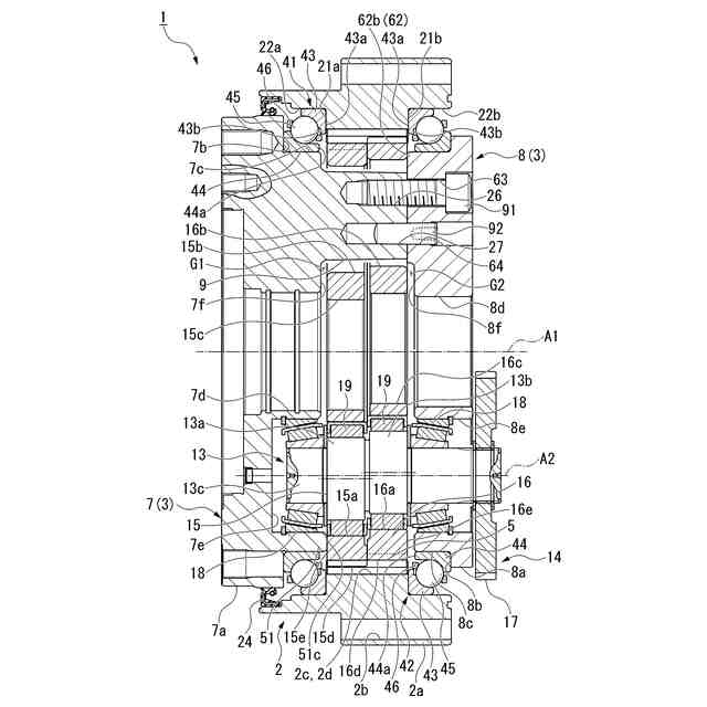
【解決手段】実施形態の減速装置1は、内歯ピン5を有する筒状のケース2と、第1主軸受41を介してケース2に回転自在に支持されている基板部7と、第2主軸受42を介してケース2に回転自在に支持されている端板部8と、基板部7及び端板部8に回転自在に支持され、外部の回転力が入力されるクランクシャフト13と、基板部7と端板部8との間に配置され、内歯ピン5に噛合わされる揺動外歯歯車15,16と、を備える。基板部7に第1揺動外歯歯車15の端面15eに突き当たる基板凸部51が設けられているとともに、端板部8に第2揺動外歯歯車16の端面16eに突き当たる端板凸部62が設けられている。
【選択図】図1
特許請求の範囲
【請求項1】
内歯歯車を有する筒状のケースと、
前記ケースの径方向の内側に配置され、第1軸受を介して前記ケースに回転自在に支持されている第1キャリアと、
前記ケースの径方向内側で、かつ前記第1キャリアと前記ケースの軸方向で対向配置され、第2軸受を介して前記ケースに回転自在に支持されている第2キャリアと、
前記第1キャリア及び前記第2キャリアに回転自在に支持され、外部の回転力が入力される少なくとも1本のクランクシャフトと、
前記第1キャリアと前記第2キャリアとの間に配置され、前記内歯歯車に噛合わされる少なくとも1つの揺動外歯歯車と、
を備え、
前記クランクシャフトは、
シャフト本体と、
前記シャフト本体に設けられ、前記シャフト本体の回転軸線に対して偏心した偏心部と、
を有し、
前記揺動外歯歯車は、前記偏心部に回転自在に支持され、
前記第1キャリアに、前記揺動外歯歯車における前記第1キャリア側の端面に突き当たる第1凸部が設けられているとともに、前記第2キャリアに、前記揺動外歯歯車における前記第2キャリア側の端面に突き当たる第2凸部が設けられている、
歯車装置。
続きを表示(約 890 文字)
【請求項2】
前記第1軸受及び前記第2軸受は、
前記ケースに設けられたアウタレースと、
前記アウタレースの径方向の内側に配置され、対応する前記第1キャリア又は前記第2キャリアに設けられたインナレースと、
前記アウタレースと前記インナレースとの間に配置される複数の転動体と、
を備え、
前記第1凸部は、前記第1軸受の前記インナレースよりも前記揺動外歯歯車側に突出しており、
前記第2凸部は、前記第2軸受の前記インナレースよりも前記揺動外歯歯車側に突出している、
請求項1に記載の歯車装置。
【請求項3】
前記第1凸部及び前記第2凸部は複数設けられており、
複数の前記第1凸部及び複数の前記第2凸部は、軸方向からみて周方向に互いにずれて配置されている、
請求項1又は請求項2に記載の歯車装置。
【請求項4】
前記第1凸部は、前記第1キャリアの前記揺動外歯歯車と軸方向で対向する面のうち、外周部に設けられており、
前記第2凸部は、前記第2キャリアの前記揺動外歯歯車と軸方向で対向する面のうち、外周部に設けられている、
請求項3に記載の歯車装置。
【請求項5】
前記第1キャリアは、前記第2キャリア側に突出され前記第2キャリアとの間の間隔を一定に保つための複数の柱部を備え、
前記第1凸部は、少なくとも前記柱部よりも径方向の外側に設けられている、
請求項4に記載の歯車装置。
【請求項6】
前記第2キャリアは、前記柱部の先端が突き当たる台座面を有し、
前記第2凸部の先端面は、前記台座面と同一平面上に配置されている、
請求項5に記載の歯車装置。
【請求項7】
前記内歯歯車は、前記ケースの内周面に設けられ周方向に等間隔で配置された複数の内歯ピンを含み、
前記内歯ピンの軸方向の端面の一部は、前記第1軸受及び前記第2軸受に突き当たる、
請求項1に記載の歯車装置。
発明の詳細な説明
【技術分野】
【0001】
本発明は、歯車装置に関する。
続きを表示(約 1,800 文字)
【背景技術】
【0002】
従来から、歯車装置として、いわゆる偏心揺動型の減速装置が知られている。この減速装置は、内歯歯車と、内歯歯車に軸受を介して回転自在に支持されるとともに回転軸線方向に対向配置される2つのキャリアと、キャリアに回転自在に支持され偏心部を有するクランクシャフトと、各キャリアの間に配置され、クランクシャフトに回転自在に支持されるとともに内歯歯車に噛み合わされる揺動外歯歯車と、を備える。
【0003】
このような歯車装置の駆動効率を向上させるために、揺動外歯歯車の軸方向への移動を規制しつつ、歯車装置内に潤滑剤を行き渡らせるためのさまざまな技術が提案されている。例えば、2つのキャリアのうちの一方に、揺動外歯歯車における軸方向の端面に突き当たる凸部を設けた技術が開示されている(例えば、特許文献1参照)。
凸部は、周方向の全周に渡って形成されたり、周方向に間欠的に点在したりしてもよい。このように構成することで、凸部によって揺動外歯歯車の軸方向への移動を規制できる。また、凸部の分だけ揺動外歯歯車とキャリアとの間に隙間を確保できる。この隙間を介して歯車装置内に潤滑剤を行き渡らせることができる。
【先行技術文献】
【特許文献】
【0004】
特開2013-124730号公報
【発明の概要】
【発明が解決しようとする課題】
【0005】
しかしながら、上述の従来技術では軸受と揺動外歯歯車とが突き当たる箇所があり、この箇所では潤滑剤の流れが阻害されてしまう。このため、歯車装置内の全体に十分に潤滑剤を行き渡らせることができず、歯車装置の駆動効率を確実に向上させるのが困難な可能性があった。
【0006】
本発明は、確実に駆動効率を向上できる歯車装置を提供する。
【課題を解決するための手段】
【0007】
本発明の一態様に係る歯車装置は、内歯歯車を有する筒状のケースと、前記ケースの径方向の内側に配置され、第1軸受を介して前記ケースに回転自在に支持されている第1キャリアと、前記ケースの径方向内側で、かつ前記第1キャリアと前記ケースの軸方向で対向配置され、第2軸受を介して前記ケースに回転自在に支持されている第2キャリアと、前記第1キャリア及び前記第2キャリアに回転自在に支持され、外部の回転力が入力される少なくとも1本のクランクシャフトと、前記第1キャリアと前記第2キャリアとの間に配置され、前記内歯歯車に噛合わされる少なくとも1つの揺動外歯歯車と、を備え、前記クランクシャフトは、シャフト本体と、前記シャフト本体に設けられ、前記シャフト本体の回転軸線に対して偏心した偏心部と、を有し、前記揺動外歯歯車は、前記偏心部に回転自在に支持され、前記第1キャリアに、前記揺動外歯歯車における前記第1キャリア側の端面に突き当たる第1凸部が設けられている。
【0008】
このように構成することで、第1凸部及び第2凸部によって、揺動外歯歯車の軸方向の移動を規制できる。第1凸部によって揺動外歯歯車と第1キャリアとの間に隙間を確保できる。第2凸部によって揺動外歯歯車と第2キャリアとの間に隙間を確保できる。このように、揺動外歯歯車における軸方向の両側にそれぞれ隙間を確保できる。このため、揺動外歯歯車の軸方向への移動を規制しつつ、歯車装置内の全体に十分に潤滑剤を行き渡らせることができる。よって、歯車装置の駆動効率を確実に向上できる。
【0009】
上記の構成において、前記第1軸受及び前記第2軸受は、前記ケースに設けられたアウタレースと、前記アウタレースの径方向の内側に配置され、対応する前記第1キャリア又は前記第2キャリアに設けられたインナレースと、前記アウタレースと前記インナレースとの間に配置される複数の転動体と、を備え、前記第1凸部は、前記第1軸受の前記インナレースよりも前記揺動外歯歯車側に突出しており、前記第2凸部は、前記第2軸受の前記インナレースよりも前記揺動外歯歯車側に突出してもよい。
【0010】
上記の構成において、前記第1凸部及び前記第2凸部は複数設けられており、複数の前記第1凸部及び複数の前記第2凸部は、軸方向からみて周方向に互いにずれて配置されてもよい。
(【0011】以降は省略されています)
この特許をJ-PlatPat(特許庁公式サイト)で参照する
関連特許
ナブテスコ株式会社
回転装置
18日前
ナブテスコ株式会社
歯車装置
1か月前
ナブテスコ株式会社
鉄道用圧縮装置
3日前
ナブテスコ株式会社
方向切換弁装置
17日前
ナブテスコ株式会社
ユニットブレーキ装置
1か月前
ナブテスコ株式会社
ドーザブレード駆動機構
16日前
ナブテスコ株式会社
保持器、転がり軸受、及び回転装置
1か月前
ナブテスコ株式会社
空気圧縮ユニット、圧縮装置、引出治具及び機器引出方法
3日前
ナブテスコ株式会社
自動ドア装置及びその制御方法
3日前
ナブテスコ株式会社
減速機、アクチュエータ、及び、建設機械
3日前
ナブテスコ株式会社
状態推定装置、ホームドアシステム及び状態推定方法
16日前
ナブテスコ株式会社
状態推定装置、ホームドアシステム及び状態推定方法
16日前
ナブテスコ株式会社
風力発電装置の制御装置、風力発電装置用の処理回路、風力発電装置用の制御方法、及び風力発電装置用の制御プログラム
1か月前
個人
留め具
1か月前
個人
鍋虫ねじ
2か月前
個人
紛体用仕切弁
2か月前
個人
ホース保持具
7か月前
個人
回転伝達機構
3か月前
個人
差動歯車用歯形
5か月前
個人
トーションバー
7か月前
個人
給排気装置
1か月前
個人
ジョイント
2か月前
個人
ナット
2か月前
個人
ボルトナットセット
8か月前
株式会社不二工機
電磁弁
4か月前
株式会社不二工機
電磁弁
6か月前
個人
ナット
18日前
個人
地震の揺れ回避装置
4か月前
個人
ゲート弁バルブ
3日前
個人
吐出量監視装置
2か月前
カヤバ株式会社
ダンパ
5か月前
兼工業株式会社
バルブ
19日前
カヤバ株式会社
緩衝器
4か月前
カヤバ株式会社
ダンパ
5か月前
カヤバ株式会社
緩衝器
4か月前
カヤバ株式会社
緩衝器
8か月前
続きを見る
他の特許を見る