TOP
|
特許
|
意匠
|
商標
特許ウォッチ
Twitter
他の特許を見る
10個以上の画像は省略されています。
公開番号
2025171808
公報種別
公開特許公報(A)
公開日
2025-11-20
出願番号
2024077493
出願日
2024-05-10
発明の名称
鉄道用圧縮装置
出願人
ナブテスコ株式会社
代理人
個人
,
個人
,
個人
,
個人
主分類
F04B
39/16 20060101AFI20251113BHJP(液体用容積形機械;液体または圧縮性流体用ポンプ)
要約
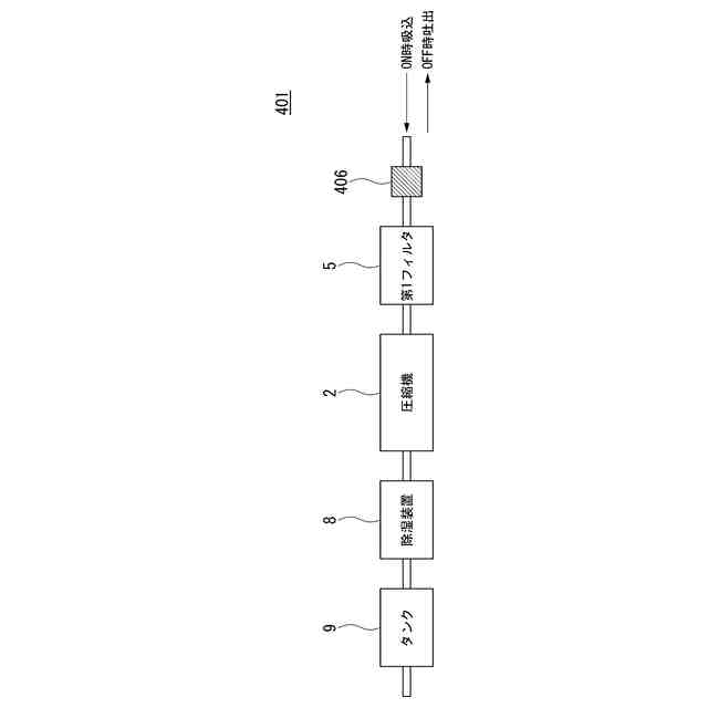
【課題】圧縮機の耐久性を高める。
【解決手段】実施形態の鉄道用圧縮装置は、吸い込んだ空気を圧縮して出力する無給油式の圧縮機と、前記圧縮機に吸い込まれる空気の吸気経路に配置され、前記吸気経路に吸い込まれる粉塵を繊維により捕集する第1フィルタと、前記吸気経路に配置され、電気又は磁気の力により前記粉塵を捕集する第2フィルタと、を備える。
【選択図】図1
特許請求の範囲
【請求項1】
吸い込んだ空気を圧縮して出力する無給油式の圧縮機と、
前記圧縮機に吸い込まれる空気の吸気経路に配置され、前記吸気経路に吸い込まれる粉塵を繊維により捕集する第1フィルタと、
前記吸気経路に配置され、電気又は磁気の力により前記粉塵を捕集する第2フィルタと、を備える、
鉄道用圧縮装置。
続きを表示(約 580 文字)
【請求項2】
前記第2フィルタは、静電気力により前記粉塵を捕集するものであって、前記空気の吸気方向において前記第1フィルタよりも下流に配置される、
請求項1に記載の鉄道用圧縮装置。
【請求項3】
前記圧縮機を収容し、一方向に開口可能なケースを更に備え、
前記第1フィルタ及び前記第2フィルタは、前記圧縮機よりも前記一方向の前に位置している、
請求項1又は2に記載の鉄道用圧縮装置。
【請求項4】
前記圧縮機を鉛直方向下側から支持するとともに水平に延びる支持板を更に備え、
前記第2フィルタは、前記支持板よりも鉛直方向下側に配置される、
請求項1又は2に記載の鉄道用圧縮装置。
【請求項5】
前記吸気経路の途中に、前記圧縮機を制御する制御部を収容する制御室箱を更に備える、
請求項1又は2に記載の鉄道用圧縮装置。
【請求項6】
前記圧縮機は、前記空気の吸気方向において前記制御室箱よりも下流に配置され、
前記第2フィルタは、前記制御室箱と前記圧縮機との間に配置される、
請求項5に記載の鉄道用圧縮装置。
【請求項7】
前記圧縮機は、スクロール式である、
請求項1又は2に記載の鉄道用圧縮装置。
発明の詳細な説明
【技術分野】
【0001】
本発明は、鉄道用圧縮装置に関する。
続きを表示(約 1,100 文字)
【背景技術】
【0002】
特許文献1には、空気圧縮機の空気吸入部から吸い込んだ空気を圧縮する車両用空気圧縮装置が開示されている。空気圧縮機の空気吸入部には、エアフィルタが設けられる。これにより、空気圧縮機への粉塵の流入を抑制している。
【先行技術文献】
【特許文献】
【0003】
特開2005-076481号公報
【発明の概要】
【発明が解決しようとする課題】
【0004】
圧縮機には、給油式と無給油式がある。注油の手間を省くために、無給油式の需要が高まっている。無給油式では、圧縮機内の潤滑性が低下し、給油式よりも粉塵に起因した圧縮機の劣化が生じやすい。そのため、従来のエアフィルタでは、圧縮機の耐久性が不十分となるおそれがある。
【0005】
本発明は、上記の課題を解決するためになされたものであって、圧縮機の耐久性を高めることができる鉄道用圧縮装置を提供することを目的とする。
【課題を解決するための手段】
【0006】
上記課題の解決手段として、本発明の態様は以下の構成を有する。
(1)本発明の態様に係る鉄道用圧縮装置は、吸い込んだ空気を圧縮して出力する無給油式の圧縮機と、前記圧縮機に吸い込まれる空気の吸気経路に配置され、前記吸気経路に吸い込まれる粉塵を繊維により捕集する第1フィルタと、前記吸気経路に配置され、電気又は磁気の力により前記粉塵を捕集する第2フィルタと、を備える。
【0007】
この構成によれば、電気又は磁気の力により粉塵を捕集する第2フィルタを備えることで、繊維捕集だけでは捕集困難な細かい粉塵を効果的に捕集することができる。したがって、圧縮機の耐久性を高めることができる。
【0008】
(2)上記(1)に記載の鉄道用圧縮装置では、前記第2フィルタは、静電気力により前記粉塵を捕集するものであって、前記空気の吸気方向において前記第1フィルタよりも下流に配置されてもよい。
【0009】
(3)上記(1)又は(2)に記載の鉄道用圧縮装置では、前記圧縮機を収容し、一方向に開口可能なケースを更に備え、前記第1フィルタ及び前記第2フィルタは、前記圧縮機よりも前記一方向の前に位置していてもよい。
【0010】
(4)上記(1)から(3)の何れかに記載の鉄道用圧縮装置は、前記圧縮機を鉛直方向下側から支持するとともに水平に延びる支持板を更に備え、前記第2フィルタは、前記支持板よりも鉛直方向下側に配置されてもよい。
(【0011】以降は省略されています)
この特許をJ-PlatPat(特許庁公式サイト)で参照する
関連特許
ナブテスコ株式会社
回転装置
18日前
ナブテスコ株式会社
回転装置
1か月前
ナブテスコ株式会社
歯車装置
1か月前
ナブテスコ株式会社
鉄道用圧縮装置
3日前
ナブテスコ株式会社
方向切換弁装置
17日前
ナブテスコ株式会社
主機制御システム
1か月前
ナブテスコ株式会社
減速機及び産業機械
3か月前
ナブテスコ株式会社
回転装置及び歯車装置
1か月前
ナブテスコ株式会社
ユニットブレーキ装置
1か月前
ナブテスコ株式会社
ドーザブレード駆動機構
16日前
ナブテスコ株式会社
駆動装置及び位置調整装置
2か月前
ナブテスコ株式会社
主機制御システム及び航行支援装置
1か月前
ナブテスコ株式会社
保持器、転がり軸受、及び回転装置
1か月前
ナブテスコ株式会社
推進装置制御システム、航行支援装置
1か月前
ナブテスコ株式会社
推進装置制御システムおよび航行支援装置
1か月前
ナブテスコ株式会社
推進装置制御システムおよび航行支援装置
1か月前
ナブテスコ株式会社
建設機械、及び建設機械の電動アクチュエータ
3か月前
ナブテスコ株式会社
ワークポジショナ及びワークポジショナの設置方法
2か月前
ナブテスコ株式会社
空気圧縮ユニット、圧縮装置、引出治具及び機器引出方法
3日前
ナブテスコ株式会社
自動ドア装置、表示装置、表示制御方法、及び表示制御プログラム
3か月前
ナブテスコ株式会社
動力伝達システム
3か月前
ナブテスコ株式会社
自動ドア装置及びその制御方法
3日前
ナブテスコ株式会社
減速機、アクチュエータ、及び、建設機械
3日前
ナブテスコ株式会社
状態推定装置、ホームドアシステム及び状態推定方法
16日前
ナブテスコ株式会社
状態推定装置、ホームドアシステム及び状態推定方法
16日前
ナブテスコ株式会社
風力発電装置の制御装置、風力発電装置用の処理回路、風力発電装置用の制御方法、及び風力発電装置用の制御プログラム
1か月前
個人
海流製造装置。
2か月前
株式会社スギノマシン
圧縮機
1か月前
株式会社ツインバード
送風装置
2か月前
株式会社ツインバード
送風装置
2か月前
ダイニチ工業株式会社
空調装置
5か月前
日機装株式会社
遠心ポンプ
1か月前
カヤバ株式会社
電動ポンプ
3か月前
カヤバ株式会社
電動ポンプ
16日前
株式会社不二越
蓄圧装置
3か月前
ビッグボーン株式会社
送風装置
2か月前
続きを見る
他の特許を見る