TOP
|
特許
|
意匠
|
商標
特許ウォッチ
Twitter
他の特許を見る
10個以上の画像は省略されています。
公開番号
2025171688
公報種別
公開特許公報(A)
公開日
2025-11-20
出願番号
2024077279
出願日
2024-05-10
発明の名称
空気圧縮ユニット、圧縮装置、引出治具及び機器引出方法
出願人
ナブテスコ株式会社
代理人
個人
,
個人
,
個人
,
個人
主分類
F04B
41/00 20060101AFI20251113BHJP(液体用容積形機械;液体または圧縮性流体用ポンプ)
要約
【課題】装置の小型化を図る。
【解決手段】実施形態の空気圧縮ユニットは、吸い込んだ空気を圧縮して出力する圧縮機と、前記圧縮機及び前記圧縮機を回転駆動する電動機を含む複数の機器が固定されるとともに引出口が形成された筐体と、前記筐体に設けられる係合部と、を有する圧縮装置と、前記圧縮機及び/又は前記電動機を載置する載置部と、前記係合部と係り合う被係合部と、を有する引出治具と、を備え、前記載置部は、前記係合部と前記被係合部とが係り合った状態で、前記筐体から引き出された引出位置と前記圧縮機及び/又は前記電動機の取付位置とに移動可能に構成され、前記筐体から取り外された前記圧縮機及び/又は前記電動機は、前記筐体に取り付けられた前記載置部に載置されて前記引出口を介して引き出し可能に構成される。
【選択図】図1
特許請求の範囲
【請求項1】
吸い込んだ空気を圧縮して出力する圧縮機と、前記圧縮機及び前記圧縮機を回転駆動する電動機を含む複数の機器が固定されるとともに引出口が形成された筐体と、前記筐体に設けられる係合部と、を有する圧縮装置と、
前記圧縮機及び/又は前記電動機を載置する載置部と、前記係合部と係り合う被係合部と、を有する引出治具と、を備え、
前記載置部は、前記係合部と前記被係合部とが係り合った状態で、前記筐体から引き出された引出位置と前記圧縮機及び/又は前記電動機の取付位置とに移動可能に構成され、
前記筐体から取り外された前記圧縮機及び/又は前記電動機は、前記筐体に取り付けられた前記載置部に載置されて前記引出口を介して引き出し可能に構成される、
空気圧縮ユニット。
続きを表示(約 1,100 文字)
【請求項2】
前記係合部は、前記圧縮機及び/又は前記電動機が引き出される方向に沿って延びるレールを有し、
前記載置部は、前記係合部と前記被係合部とが係り合った状態で、前記レールよりも鉛直方向下側に配置される、
請求項1に記載の空気圧縮ユニット。
【請求項3】
前記引出治具は、前記載置部を支持する本体部と、前記本体部に対して前記載置部を昇降可能に支持する昇降部と、を更に備え、
前記載置部及び前記昇降部の両方は、前記レールよりも鉛直方向下側に配置される、
請求項2に記載の空気圧縮ユニット。
【請求項4】
前記係合部は、前記圧縮機及び/又は前記電動機が引き出される方向に沿って延びるレールを有し、
前記引出治具は、前記載置部を支持する本体部を有し、
前記被係合部は、前記本体部に設けられたローラであり、
前記載置部は、前記ローラが前記レールに嵌った状態で走行することで、前記筐体に対して、前記引出位置と前記取付位置とに移動可能に構成される、
請求項1から3の何れか1項に記載の空気圧縮ユニット。
【請求項5】
前記ローラは、前記レールが延びる方向に沿って間隔をあけて複数設けられる、
請求項4に記載の空気圧縮ユニット。
【請求項6】
前記筐体は、前記引出位置及び/又は前記取付位置にて、前記ローラの移動を制限する制限部を備える、
請求項4に記載の空気圧縮ユニット。
【請求項7】
前記引出治具は、前記引出位置と前記取付位置とに前記載置部を移動可能に支持する案内部を有する、
請求項1に記載の空気圧縮ユニット。
【請求項8】
前記圧縮機は、無給油式である、
請求項1から3の何れか1項に記載の空気圧縮ユニット。
【請求項9】
前記筐体は、中板を含み、
前記電動機は、前記中板の上面に固定され、
前記圧縮機は、前記中板の下面に吊り下げられ、
前記圧縮機が前記引出治具により引き出される、
請求項1から3の何れか1項に記載の空気圧縮ユニット。
【請求項10】
前記筐体の平面視で、前記圧縮機及び前記電動機の各々は、複数並列に配置され、
1の出力を複数の前記圧縮機で担うよう出力配管が連結され、
並列に配置された前記圧縮機及び前記電動機は、前記引出口を介して引き出し可能に構成される、
請求項1に記載の空気圧縮ユニット。
(【請求項11】以降は省略されています)
発明の詳細な説明
【技術分野】
【0001】
本発明は、空気圧縮ユニット、圧縮装置、引出治具及び機器引出方法に関する。
続きを表示(約 1,400 文字)
【背景技術】
【0002】
特許文献1には、圧縮機等で構成される機器群及び機器群を載置する支持台を出し入れ自在に載置する出入用ガイドを、空調装置の筐体の底部に設けた構成が開示されている。
【先行技術文献】
【特許文献】
【0003】
特開2012-117778号公報
【発明の概要】
【発明が解決しようとする課題】
【0004】
しかし、出入用ガイドを装置側に設ける必要があるため、装置が大型化してしまうおそれがある。
【0005】
本発明は、上記の課題を解決するためになされたものであって、装置の小型化を図ることができる空気圧縮ユニット、圧縮装置、引出治具及び機器引出方法を提供することを目的とする。
【課題を解決するための手段】
【0006】
上記課題の解決手段として、本発明の態様は以下の構成を有する。
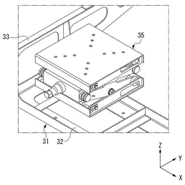
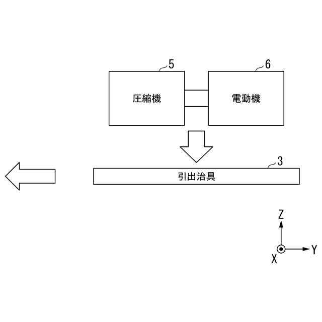
(1)本発明の態様に係る空気圧縮ユニットは、吸い込んだ空気を圧縮して出力する圧縮機と、前記圧縮機及び前記圧縮機を回転駆動する電動機を含む複数の機器が固定されるとともに引出口が形成された筐体と、前記筐体に設けられる係合部と、を有する圧縮装置と、前記圧縮機及び/又は前記電動機を載置する載置部と、前記係合部と係り合う被係合部と、を有する引出治具と、を備え、前記載置部は、前記係合部と前記被係合部とが係り合った状態で、前記筐体から引き出された引出位置と前記圧縮機及び/又は前記電動機の取付位置とに移動可能に構成され、前記筐体から取り外された前記圧縮機及び/又は前記電動機は、前記筐体に取り付けられた前記載置部に載置されて前記引出口を介して引き出し可能に構成される。
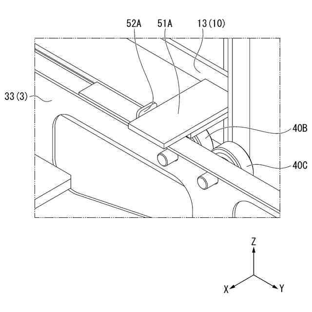
【0007】
この構成によれば、引出治具を圧縮装置に装着して載置部に圧縮機及び/又は電動機を載置して引き出すことができる。さらに、引出治具が筐体に対して着脱可能になっているため、圧縮機及び/又は電動機を取り外す必要のないときは引出治具を外すことができる。そのため、圧縮機及び/又は電動機を載置する載置部を圧縮装置に設ける必要はない。したがって、装置の小型化を図ることができる。
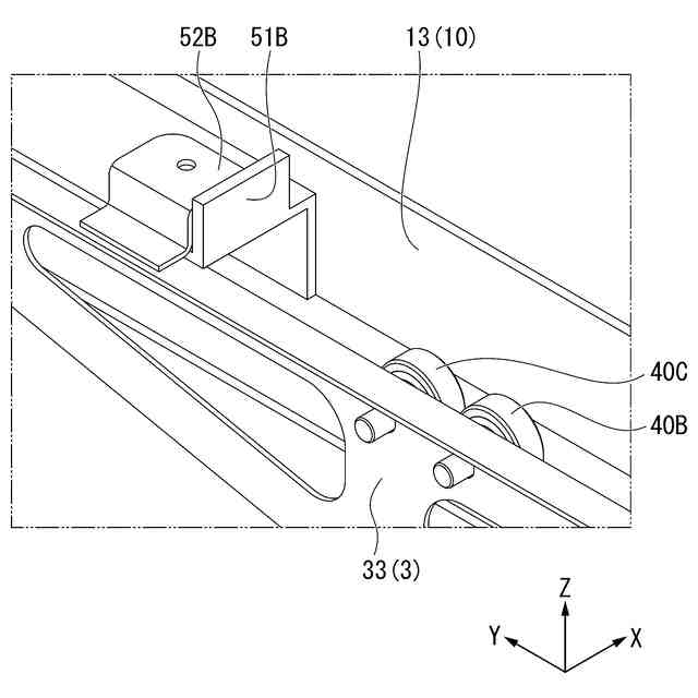
【0008】
(2)上記(1)に記載の空気圧縮ユニットでは、前記係合部は、前記圧縮機及び/又は前記電動機が引き出される方向に沿って延びるレールを有し、前記載置部は、前記係合部と前記被係合部とが係り合った状態で、前記レールよりも鉛直方向下側に配置されてもよい。
【0009】
(3)上記(2)に記載の空気圧縮ユニットでは、前記引出治具は、前記載置部を支持する本体部と、前記本体部に対して前記載置部を昇降可能に支持する昇降部と、を更に備え、前記載置部及び前記昇降部の両方は、前記レールよりも鉛直方向下側に配置されてもよい。
【0010】
(4)上記(1)から(3)の何れかに記載の空気圧縮ユニットでは、前記係合部は、前記圧縮機及び/又は前記電動機が引き出される方向に沿って延びるレールを有し、前記引出治具は、前記載置部を支持する本体部を有し、前記被係合部は、前記本体部に設けられたローラであり、前記載置部は、前記ローラが前記レールに嵌った状態で走行することで、前記筐体に対して、前記引出位置と前記取付位置とに移動可能に構成されてもよい。
(【0011】以降は省略されています)
この特許をJ-PlatPat(特許庁公式サイト)で参照する
関連特許
ナブテスコ株式会社
回転装置
18日前
ナブテスコ株式会社
歯車装置
1か月前
ナブテスコ株式会社
回転装置
1か月前
ナブテスコ株式会社
鉄道用圧縮装置
3日前
ナブテスコ株式会社
方向切換弁装置
17日前
ナブテスコ株式会社
主機制御システム
1か月前
ナブテスコ株式会社
ユニットブレーキ装置
1か月前
ナブテスコ株式会社
回転装置及び歯車装置
1か月前
ナブテスコ株式会社
ドーザブレード駆動機構
16日前
ナブテスコ株式会社
主機制御システム及び航行支援装置
1か月前
ナブテスコ株式会社
保持器、転がり軸受、及び回転装置
1か月前
ナブテスコ株式会社
推進装置制御システム、航行支援装置
1か月前
ナブテスコ株式会社
推進装置制御システムおよび航行支援装置
1か月前
ナブテスコ株式会社
推進装置制御システムおよび航行支援装置
1か月前
ナブテスコ株式会社
空気圧縮ユニット、圧縮装置、引出治具及び機器引出方法
3日前
ナブテスコ株式会社
自動ドア装置及びその制御方法
3日前
ナブテスコ株式会社
減速機、アクチュエータ、及び、建設機械
3日前
ナブテスコ株式会社
状態推定装置、ホームドアシステム及び状態推定方法
16日前
ナブテスコ株式会社
状態推定装置、ホームドアシステム及び状態推定方法
16日前
ナブテスコ株式会社
風力発電装置の制御装置、風力発電装置用の処理回路、風力発電装置用の制御方法、及び風力発電装置用の制御プログラム
1か月前
個人
海流製造装置。
2か月前
株式会社スギノマシン
圧縮機
1か月前
株式会社ツインバード
送風装置
2か月前
株式会社ツインバード
送風装置
2か月前
ダイニチ工業株式会社
空調装置
5か月前
カヤバ株式会社
電動ポンプ
16日前
日機装株式会社
遠心ポンプ
1か月前
カヤバ株式会社
電動ポンプ
3か月前
株式会社不二越
蓄圧装置
3か月前
ビッグボーン株式会社
送風装置
2か月前
株式会社酉島製作所
ポンプ
4か月前
株式会社ノーリツ
ロータリ圧縮機
2か月前
株式会社ニクニ
液封式ポンプ装置
5か月前
小倉クラッチ株式会社
ルーツブロア
3か月前
株式会社坂製作所
スクロール圧縮機
4か月前
樫山工業株式会社
真空ポンプ
1か月前
続きを見る
他の特許を見る